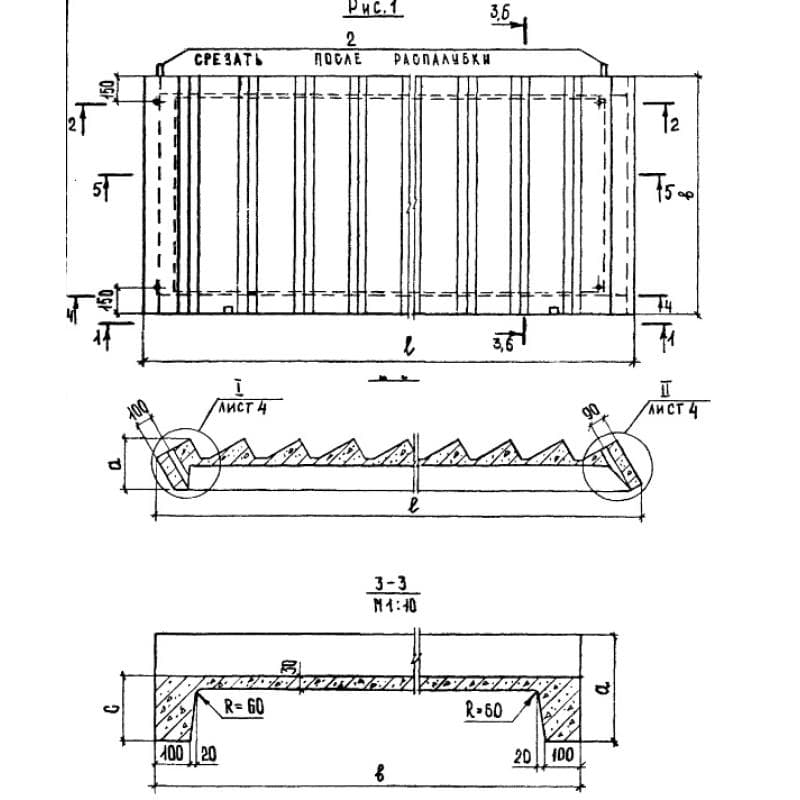
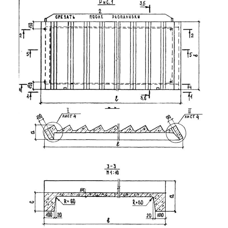
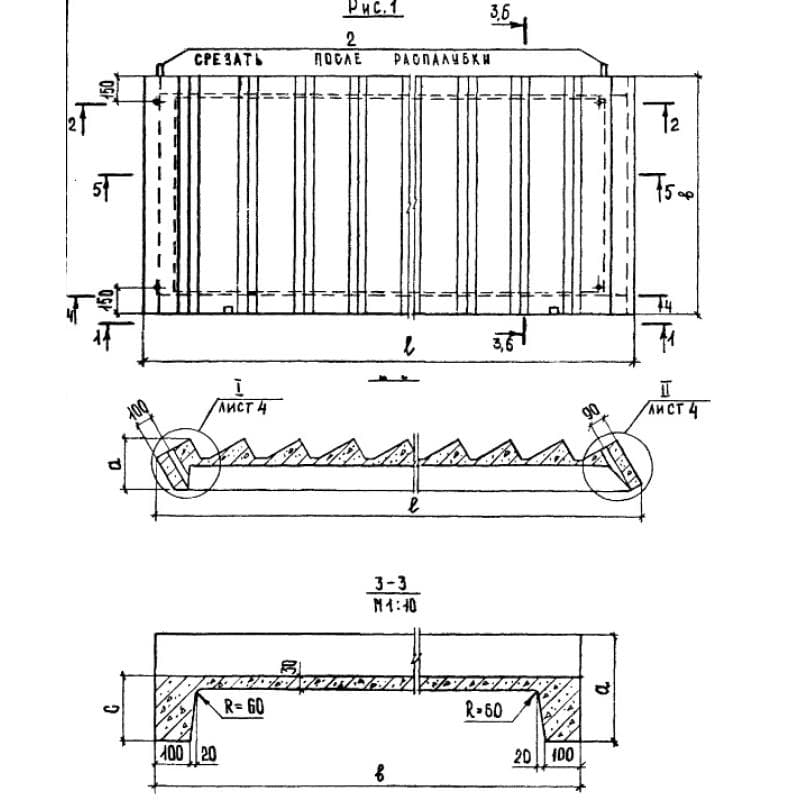
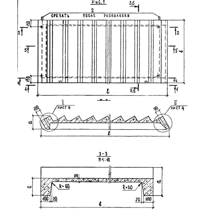
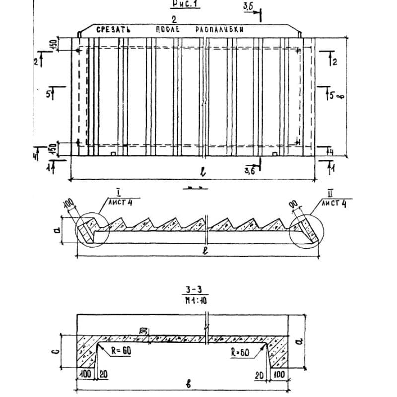
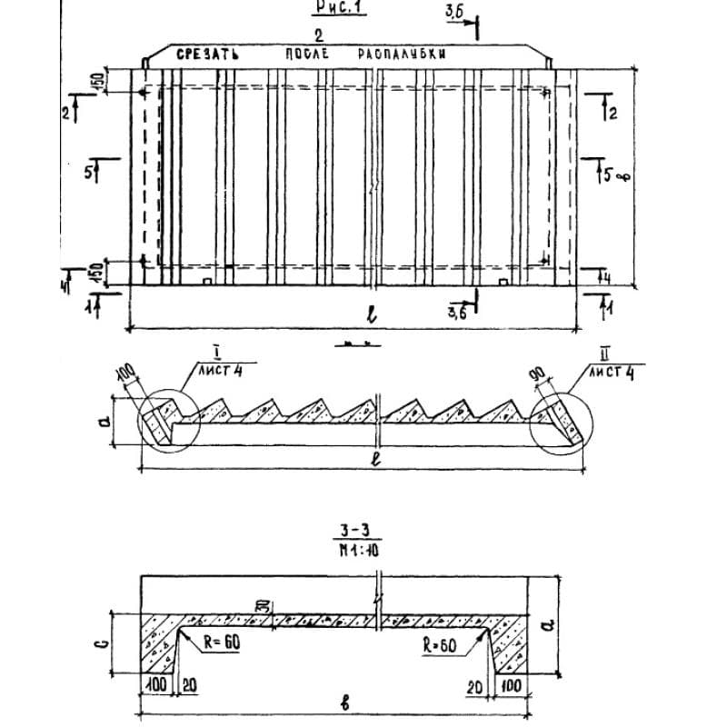
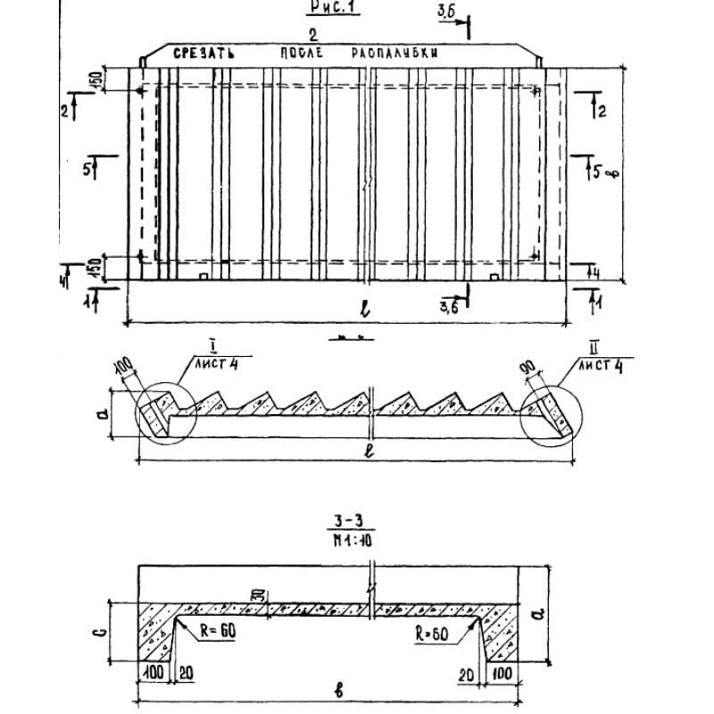
Лестничные марши ребристые с фризовыми ступенями ЛМФ серия 1.251.1-4 ( 1.251-3, 1.250-1 )

1350x2100x49462ЛМФ 49-14-21-5
Цена по запросу

1350x2100x49462ЛМФ 49-14-21-5
Цена по запросу

1350x2100x49462ЛМФ 49-14-21-5
Цена по запросу

1350x2100x49462ЛМФ 49-14-21-5 м
Цена по запросу

1350x2100x49462ЛМФ 49-14-21-5 м
Цена по запросу

1350x2100x49462ЛМФ 49-14-21-5 м
Цена по запросу

1350x2100x49462ЛМФ 49-14-21-5-1
Цена по запросу

1350x2100x49462ЛМФ 49-14-21-5-1
Цена по запросу

1350x2100x49462ЛМФ 49-14-21-5-1
Цена по запросу

1500x2100x49462ЛМФ 49-15-21-5
Цена по запросу

1500x2100x49462ЛМФ 49-15-21-5
Цена по запросу

1500x2100x49462ЛМФ 49-15-21-5
Цена по запросу