Лестничные марш-площадки Серия 1.258 КЛ-2
Блоки лестничных маршей Серия 3.501.1-165
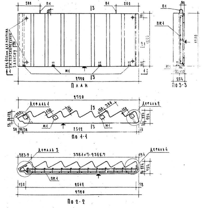
Крыльцо (инж.)
Лестничные марши Альбом 3РС 19-103
Лестничные марши Альбом НК 33-07
Лестничные марши Альбом РС 6161-88
Лестничные марши Альбом РС 6172-95
Лестничные марши ГОСТ 24155-2016
Лестничные марши Метро
Лестничные марши Альбом ИЖ 4.2-1
Лестничные марши Серия 1.020-1
Лестничные марши ГОСТ 24155-80
Лестничные марши Серия 1.100.1-7
Лестничные марши Серия 1.335 ОМ
Лестничные марши Серия 1.220.1-3м
Лестничные марши Серия ИИ 01-02
Лестничные марши Серия ИИ 04-7
Лестничные марши Серия 7018м
Лестничные марши Серия ИИ 41
Лестничные марши Серия 3.507-1
Лестничные марши Серия ИИ 03-02 Альбом 30-64, Альбом 30А
Лестничные марши Серия 1.150 КР-1
Лестничные марши Серия ИИ 27-1
Лестничные марши Серия ИИС 27-1
Лестничные марши Серия ИИС 61
Лестничные марши ТПР 501-07-014.91
Лестничные марши Шифр 789-04
Лестничные марши без фризовых ступеней серия 1.151.1-6
Лестничные марши без фризовых ступеней Серия 1.151-4
Лестничные марши без фризовых ступеней ГОСТ 9818-85
Лестничные марши без фризовых ступеней серия 1.151.1-7 и 1.151.1-8 с ( 1.151-4 )
Лестничные марши ТПР 501-07-3.83
Лестничные марши ребристые с полуплощадками ГОСТ 9818-2015
Лестничные марши плоские без фризовых ступеней ГОСТ 9818-2015
Лестничные марши ребристые с фризовыми ступенями ЛМФ Серия 1.251.1 КР-1
Лестничные марши ребристые с фризовыми ступенями ЛМФ серия 1.251.1-4 ( 1.251-3, 1.250-1 )
Лестничные марши ребристые с фризовыми ступенями Серия 1.251-2с
Лестничные марши ТПР 501-07-5.84
Лестничные марши ребристые с полуплощадками ЛМП ГОСТ 9818-85
Элементы лестниц ТП 320-55
Лестничные марши серия 1.151-1
Лестничные рамы серия 1.050.1-2
Лестничные рамы Серия 1.050.1-3
Лестничные марши ребристые с полуплощадками ЛМП серия 1.050.1-2
Лестничные марши ребристые с фризовыми ступенями ГОСТ 9818-2015
Лестничные марши Серия ИИ 65
Лестничные марши Серия КУБ 2,5
Лестничные марши ребристой конструкции с фризовыми ступенями, с гладкой поверхостью серия 1.151.1-7 и 1.151.1-8 с ( 1.151-4 )
Лестничные марши ребристые с полуплощадками ЛМП Серия 1.050.9-4.93
Лестничные марши серия 1.151-1

1050x1400x27201ЛМ 28-11-14-4
Цена по запросу

1050x1400x27201ЛМ 28-11-14-4
Цена по запросу

1050x1400x27201ЛМ 28-11-14-4
Цена по запросу

1200x1400x27201ЛМ 28-12-14-4
Цена по запросу

1200x1400x27201ЛМ 28-12-14-4
Цена по запросу

1200x1400x27201ЛМ 28-12-14-4
Цена по запросу

1050x1400x3249ЛМ 28-11 н
Цена по запросу

1050x1400x2720ЛМ 28-11 п
Цена по запросу

1200x1400x3249ЛМ 28-12 н
Цена по запросу

1200x1400x2720ЛМ 28-12 п
Цена по запросу

1050x1400x3261ЛМ 28-11
Цена по запросу

1200x1400x3261ЛМ 28-12
Цена по запросу
12 из 16 (2 страниц)