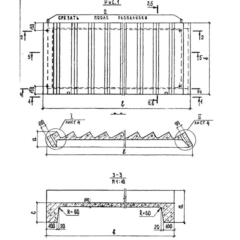
Лестничные марши ребристые с фризовыми ступенями ЛМФ серия 1.251.1-4 ( 1.251-3, 1.250-1 )

1500x1650x39132ЛМФ 39-15-17-5 м
Цена по запросу

1500x1650x39132ЛМФ 39-15-17-5 м
Цена по запросу

1500x1650x39132ЛМФ 39-15-17-5 м
Цена по запросу

1500x1650x39132ЛМФ 39-15-17-5-1
Цена по запросу

1500x1650x39132ЛМФ 39-15-17-5-1
Цена по запросу

1500x1650x39132ЛМФ 39-15-17-5-1
Цена по запросу

1200x1800x42492ЛМФ 42-12-18-5
Цена по запросу

1200x1800x42492ЛМФ 42-12-18-5
Цена по запросу

1200x1800x42492ЛМФ 42-12-18-5
Цена по запросу

1200x1800x42492ЛМФ 42-12-18-5-1
Цена по запросу

1200x1800x42492ЛМФ 42-12-18-5-1
Цена по запросу

1200x1800x42492ЛМФ 42-12-18-5-1
Цена по запросу