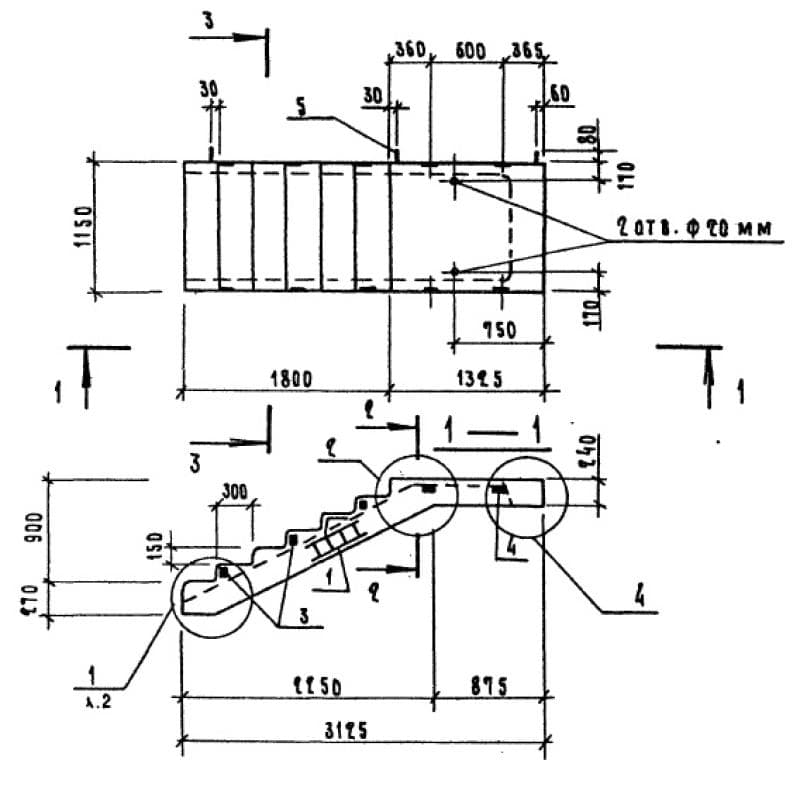
Лестничные марши Серия 1.220.1-3м