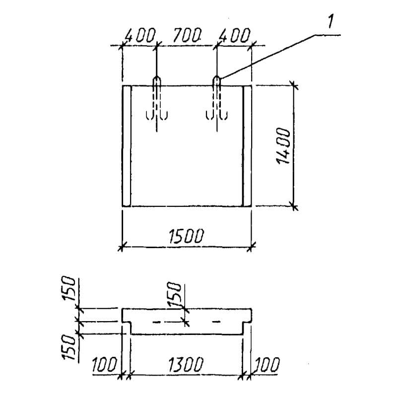
Блоки экрана Серия 3.501.3-183.01