Вентиляционные блоки

405x1970x11801ВД 12-20
Цена по запросу

1480x300x19702ВД 20-15-30
Цена по запросу

550x3270x25602ВДП 26-33
Цена по запросу

260x1480x19702ВД 20-15-26
Цена по запросу

260x1480x32701ВД 33-15-26
Цена по запросу

550x3270x14802ВД 15-36
Цена по запросу

260x2980x35701ВД 36-30-26
Цена по запросу

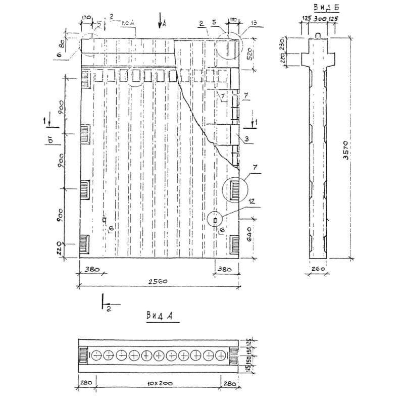
260x2560x35702ВД 36-26-26
Цена по запросу

260x1480x19701ВД 20-15-26
Цена по запросу

2560x300x19701ВД 20-26-30
Цена по запросу

260x2560x35702ВД 36-26-26
Цена по запросу

550x3270x25602ВДП 26-36
Цена по запросу