Диафрагмы жесткости железобетонные

345x3340x22501Д 23-33 пв
Цена по запросу

550x4170x25602ДП 26-42-5 пв
Цена по запросу

550x1770x55602Д 56-17-2 сп (1.020.1-6сп)
Цена по запросу

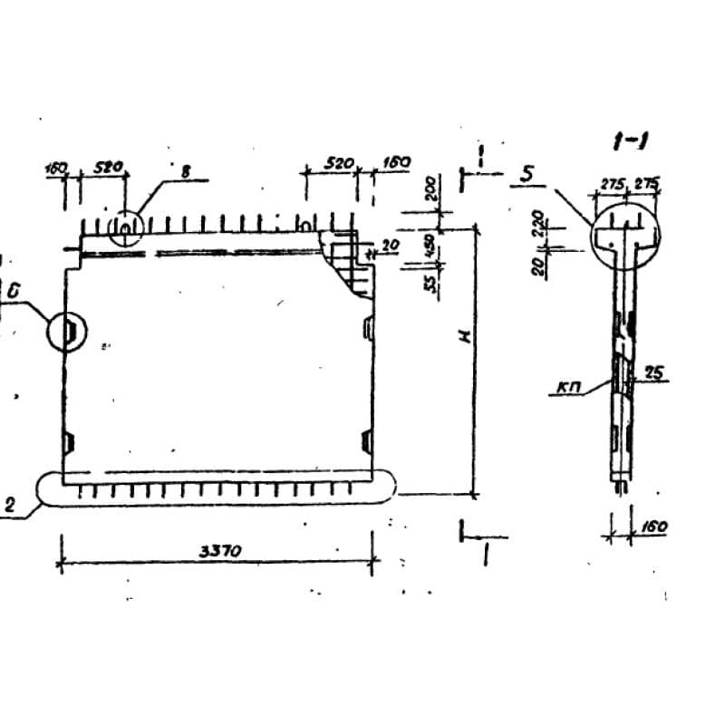
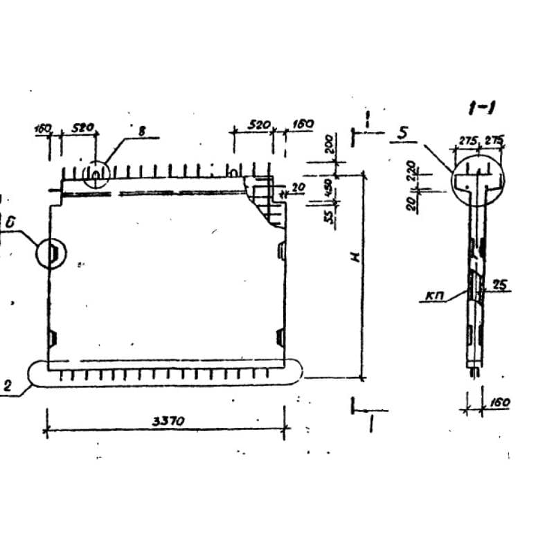
345x3570x25601ДП 26-36-3 пв
Цена по запросу

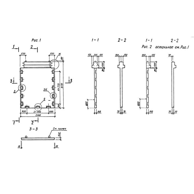
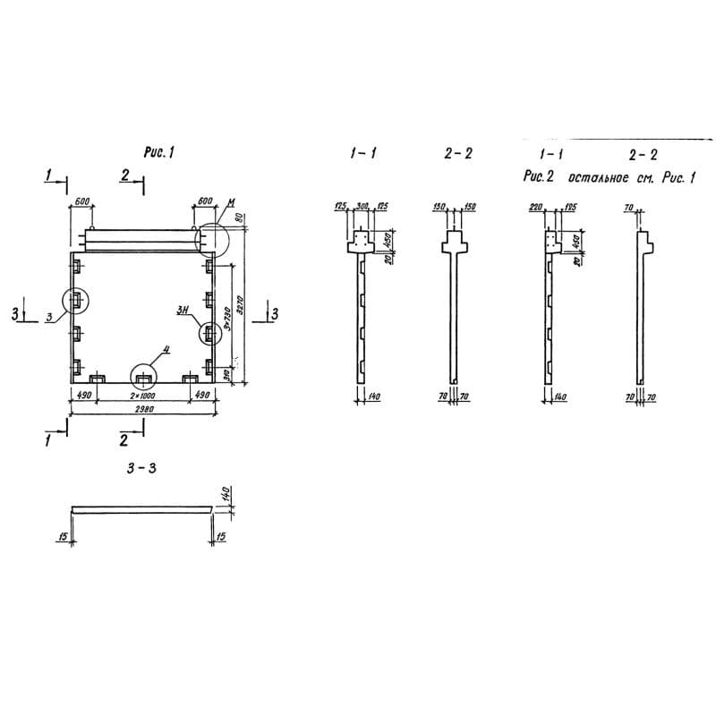
345x4170x29801Д 30-42-2 пв
Цена по запросу

345x3270x55601ДПК 56-33л-5 пв
Цена по запросу

550x4770x31602ДП 32-48 (1.020-1)
Цена по запросу

345x3270x55601ДПК 56-33п-1 пв
Цена по запросу

345x1970x25601ДП 26-20
Цена по запросу

550x3300x33702Д 34-33-2 сп (1.020.1-6сп)
Цена по запросу

550x3270x29802Д 30-33-3 пв
Цена по запросу

550x1770x33702Д 34-17-2 сп (1.020.1-6сп)
Цена по запросу