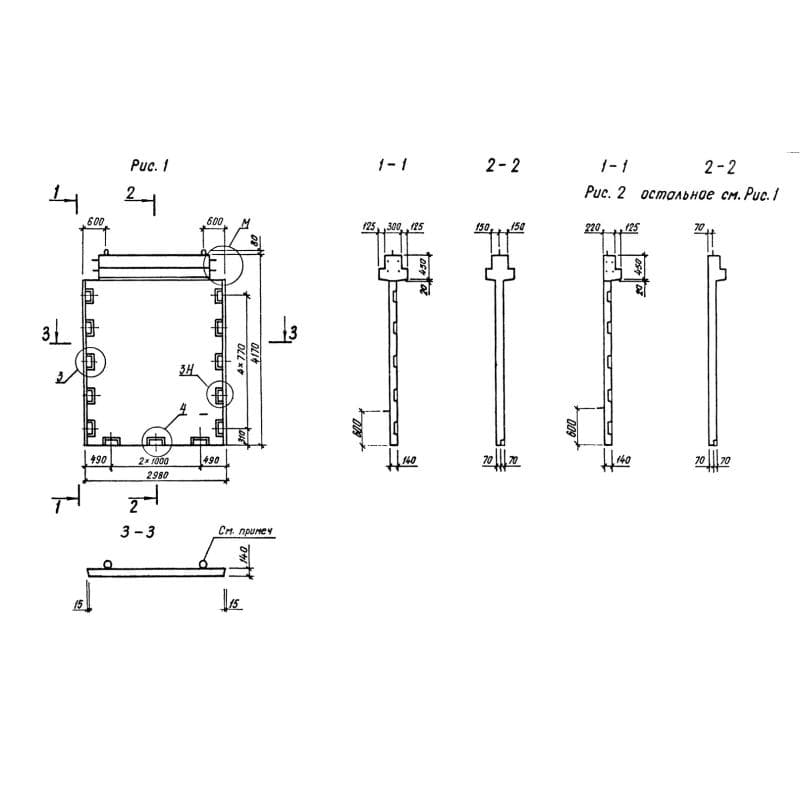
Диафрагмы жесткости серия 1.020-1/87 ( 1.020.1-7, 1.020-1/83, ИИ 04-1, 1.020.1-3пв )

550x4170x29802Д 30-42-2 пв
Цена по запросу

550x4170x29802Д 30-42-2 пв
Цена по запросу

550x4170x29802Д 30-42-2 пв
Цена по запросу

550x4170x29802Д 30-42-3 пв
Цена по запросу

550x4170x29802Д 30-42-3 пв
Цена по запросу

550x4170x29802Д 30-42-3 пв
Цена по запросу

550x4170x29802Д 30-42-4 пв
Цена по запросу

550x4170x29802Д 30-42-4 пв
Цена по запросу

550x4170x29802Д 30-42-4 пв
Цена по запросу

550x4170x29802Д 30-42-5 пв
Цена по запросу

550x4170x29802Д 30-42-5 пв
Цена по запросу

550x4170x29802Д 30-42-5 пв
Цена по запросу