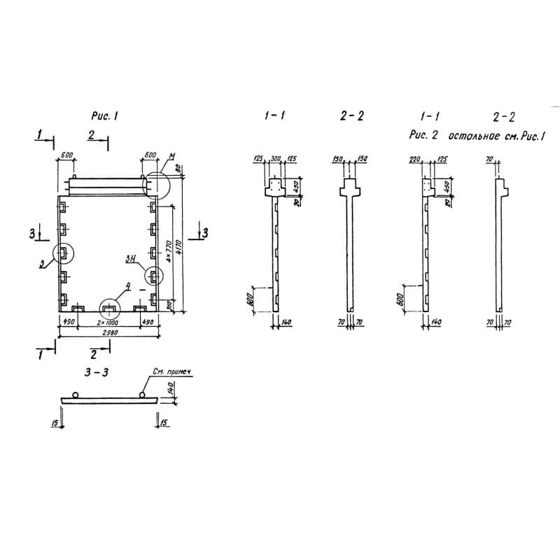
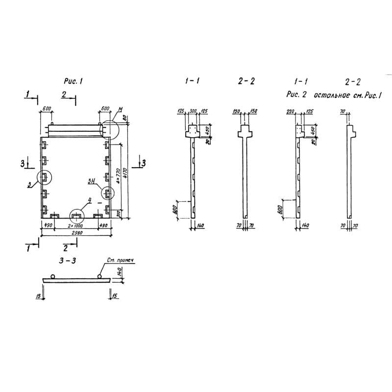
Диафрагмы жесткости серия 1.020-1/87 ( 1.020.1-7, 1.020-1/83, ИИ 04-1, 1.020.1-3пв )

550x3570x29802Д 30-36-5 пв
Цена по запросу

550x3570x29802Д 30-36-5 пв
Цена по запросу

550x3570x29802Д 30-36-5 пв
Цена по запросу

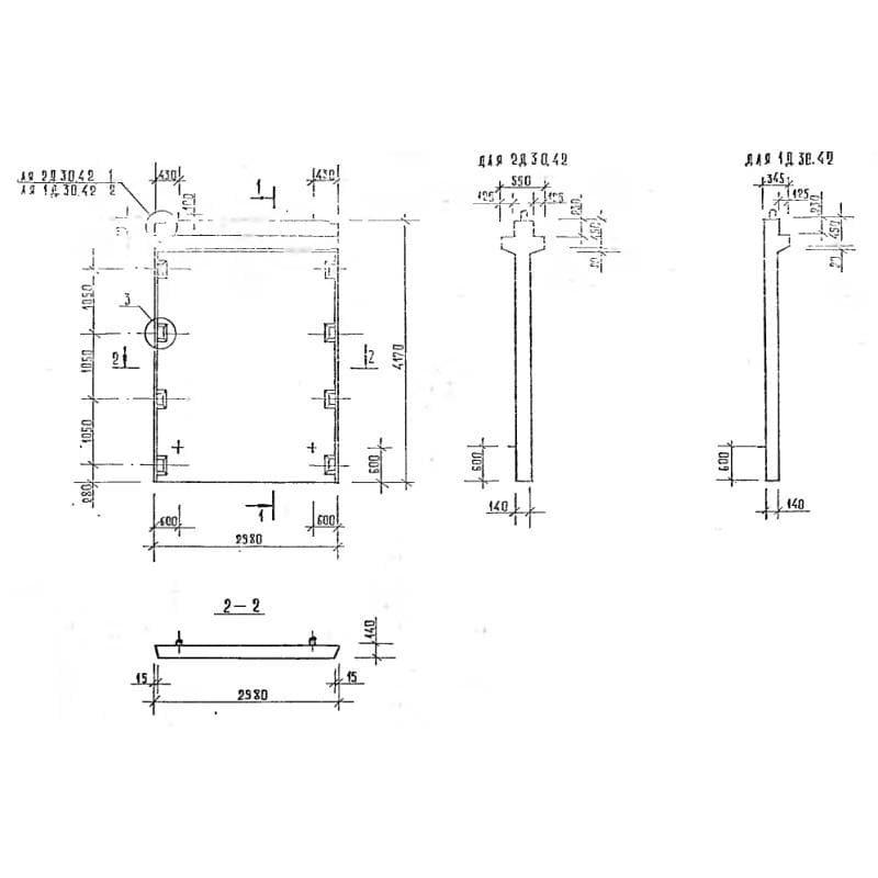
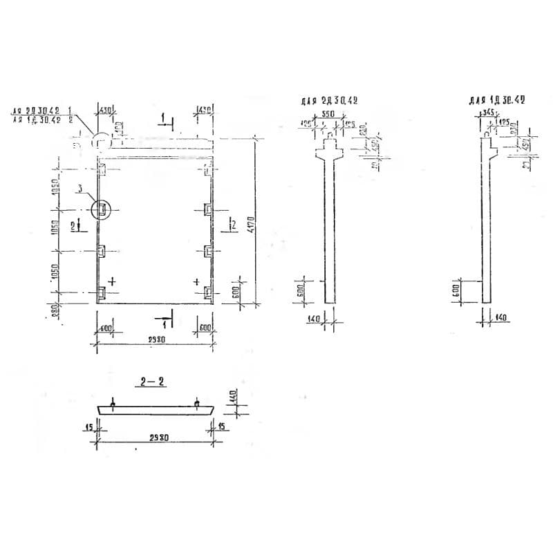
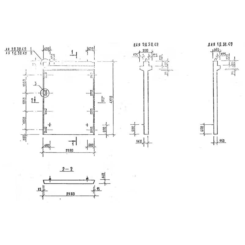
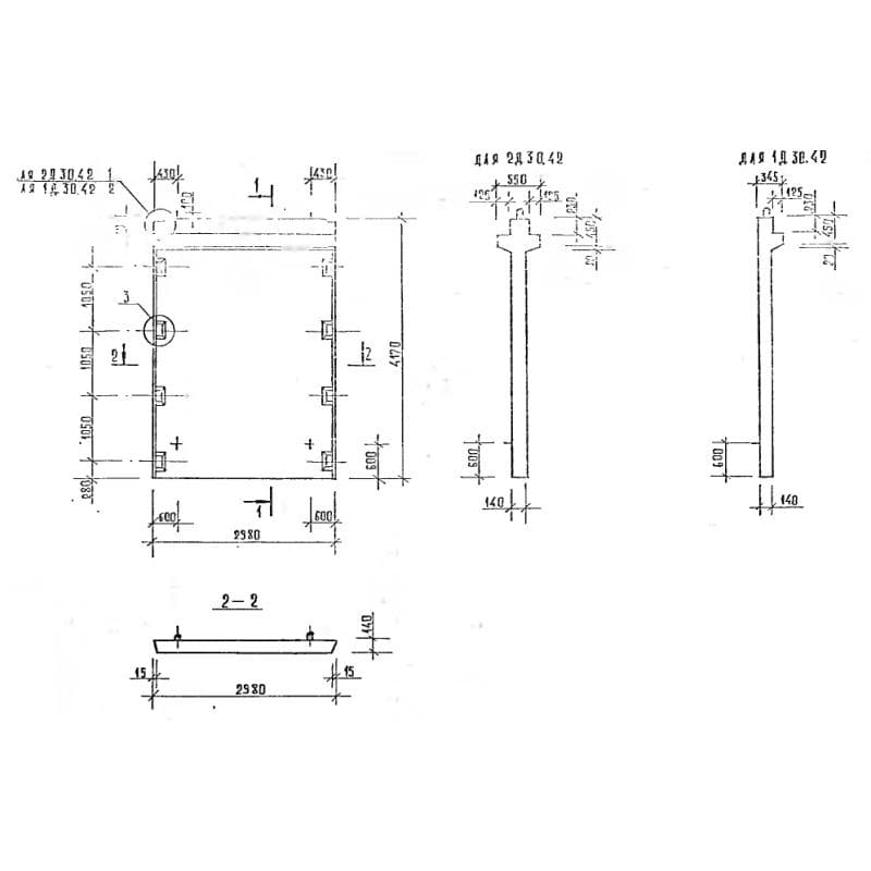
550x4170x29802Д 30-42
Цена по запросу

550x4170x29802Д 30-42
Цена по запросу

550x4170x29802Д 30-42
Цена по запросу

550x4170x29802Д 30-42
Цена по запросу

550x4170x29802Д 30-42
Цена по запросу

550x4170x29802Д 30-42
Цена по запросу

550x4170x29802Д 30-42-1 пв
Цена по запросу

550x4170x29802Д 30-42-1 пв
Цена по запросу

550x4170x29802Д 30-42-1 пв
Цена по запросу