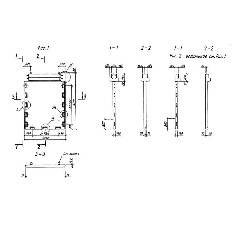
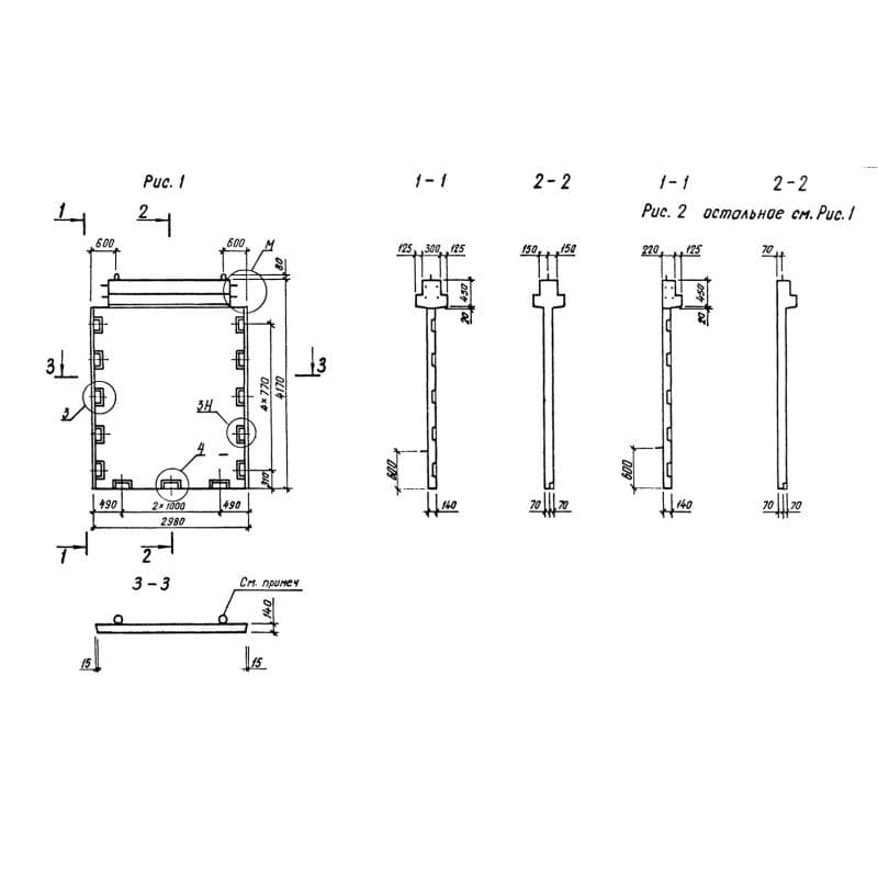
Диафрагмы жесткости серия 1.020-1/87 ( 1.020.1-7, 1.020-1/83, ИИ 04-1, 1.020.1-3пв )

345x4170x29801Д 30-42-3 пв
Цена по запросу

345x4170x29801Д 30-42-3 пв
Цена по запросу

345x4170x29801Д 30-42-3 пв
Цена по запросу

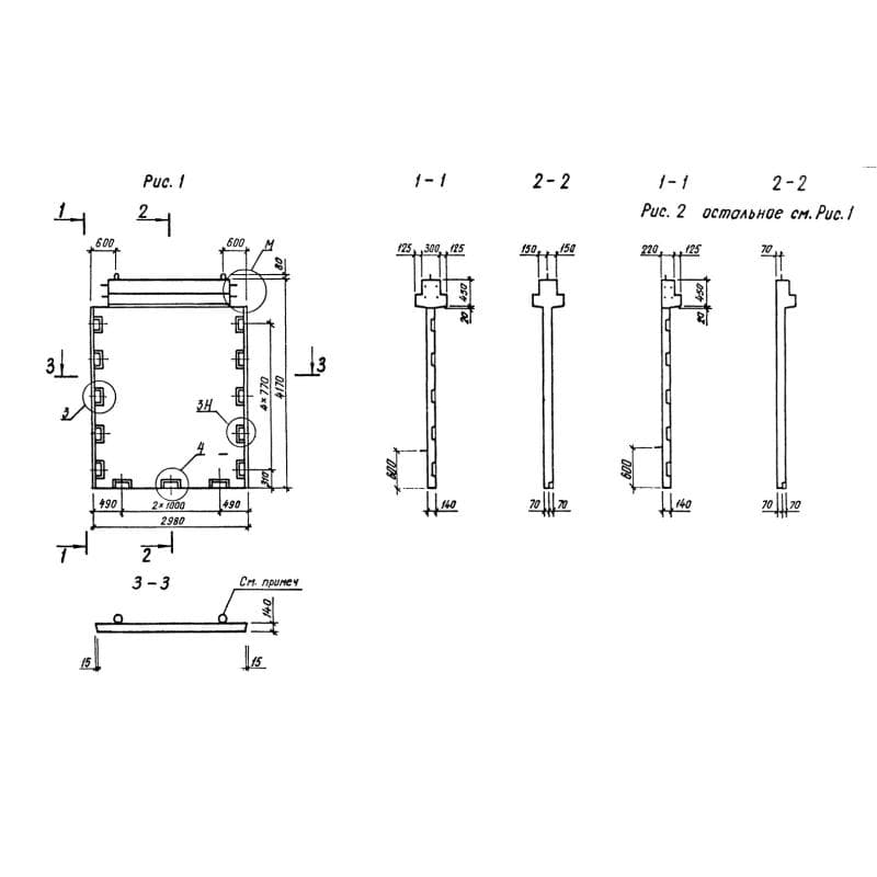
345x4170x29801Д 30-42-4 пв
Цена по запросу

345x4170x29801Д 30-42-4 пв
Цена по запросу

345x4170x29801Д 30-42-4 пв
Цена по запросу

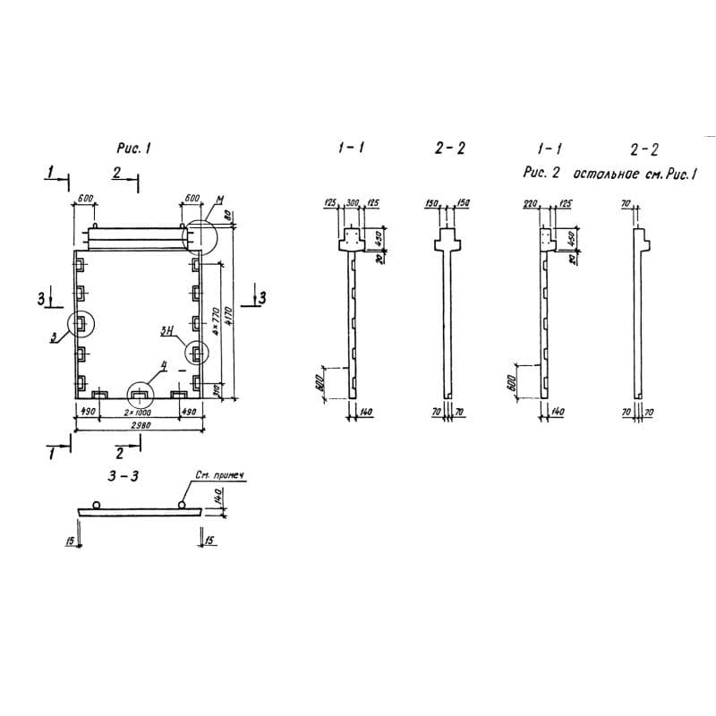
345x4170x29801Д 30-42-5 пв
Цена по запросу

345x4170x29801Д 30-42-5 пв
Цена по запросу

345x4170x29801Д 30-42-5 пв
Цена по запросу

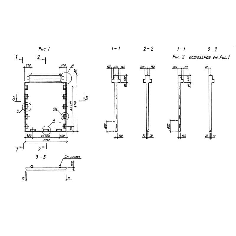
345x4770x29801Д 30-48
Цена по запросу

345x4770x29801Д 30-48
Цена по запросу

345x4770x29801Д 30-48
Цена по запросу