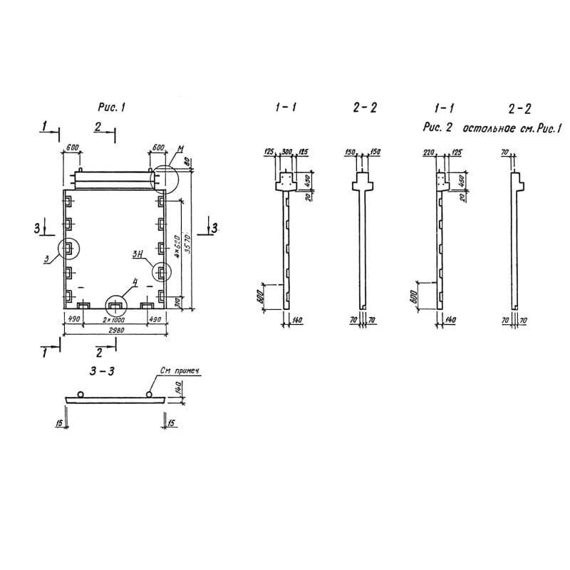
Диафрагмы жесткости серия 1.020-1/87 ( 1.020.1-7, 1.020-1/83, ИИ 04-1, 1.020.1-3пв )

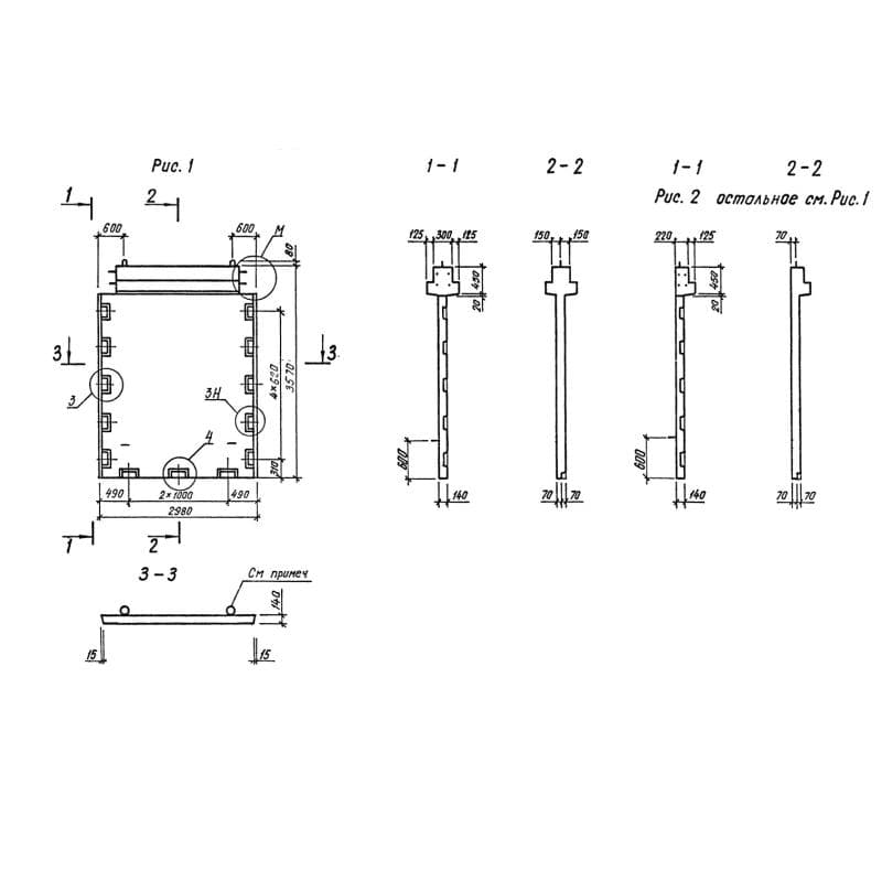
345x3570x29801Д 30-36-3 пв
Цена по запросу

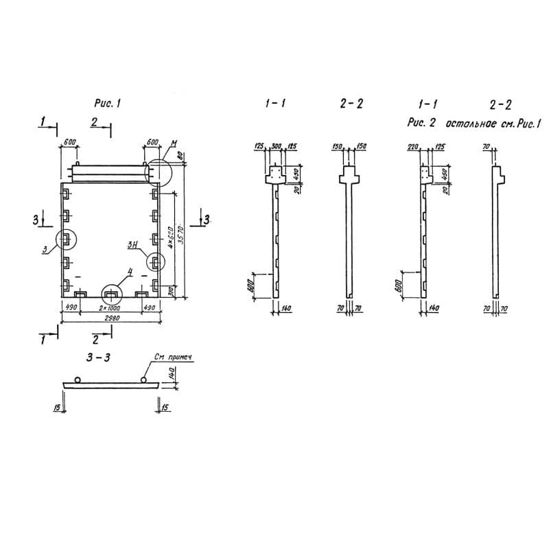
345x3570x29801Д 30-36-3 пв
Цена по запросу

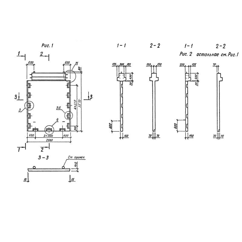
345x3570x29801Д 30-36-3 пв
Цена по запросу

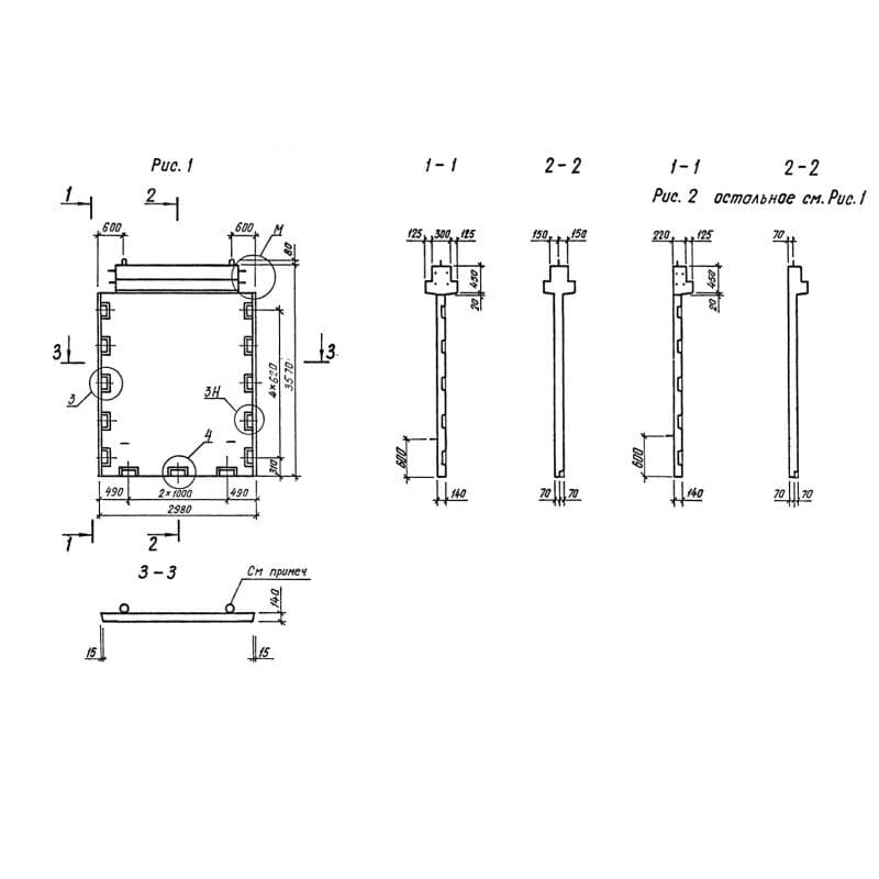
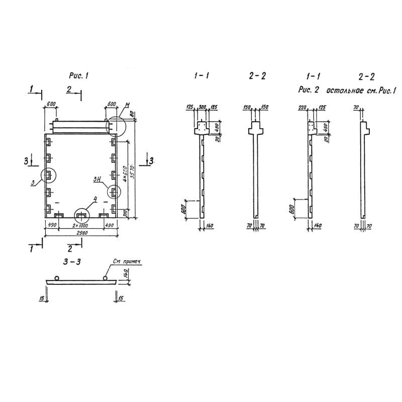
345x3570x29801Д 30-36-4 пв
Цена по запросу

345x3570x29801Д 30-36-4 пв
Цена по запросу

345x3570x29801Д 30-36-4 пв
Цена по запросу

345x3570x29801Д 30-36-5 пв
Цена по запросу

345x3570x29801Д 30-36-5 пв
Цена по запросу

345x3570x29801Д 30-36-5 пв
Цена по запросу

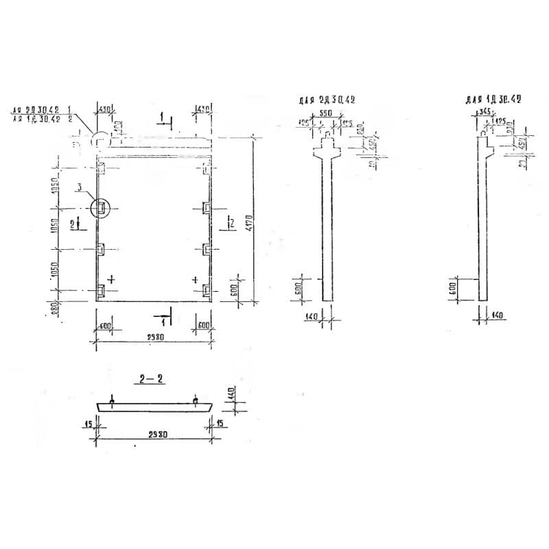
345x4170x29801Д 30-42
Цена по запросу

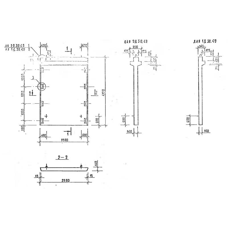
345x4170x29801Д 30-42
Цена по запросу

345x4170x29801Д 30-42
Цена по запросу