Плиты многопустотные Серия 1.041.1-5              
                Плиты многопустотные Серия 1.041-1              
                Панели с овальными пустотами Серия ИИ 01-02              
                Плиты многопустотные Серия 1.141.1-23с              
                Плиты многопустотные Серия 1.090.1-9м              
                Панели перекрытия многопустотные Серия 1.020-1              
                Панели с круглыми пустотами Серия ИИ 01-02              
                Плиты многопустотные Серия ИЖ 568-04/д              
                Плиты многопустотные Серия Б1.041.1-5.10              
                Панели перекрытий многопустотные Серия 1.202.1-2              
                Панели многопустотные Серия 1.440-1              
                Панели многопустотные Серия 1.141-1              
                Плиты многопустотные ТУ 5842-001-01217316-05              
                Панели многопустотные Серия 1.141-10              
                Плиты перекрытия многопустотные ПБ шириной 0,4 метра Серия ИЖ 568              
                Панели с круглыми пустотами Серия ИИ 03-02 Альбом 5 ч1              
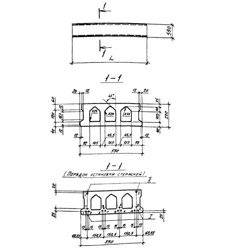
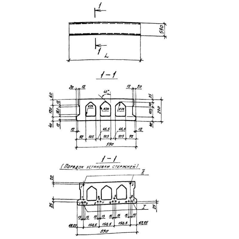
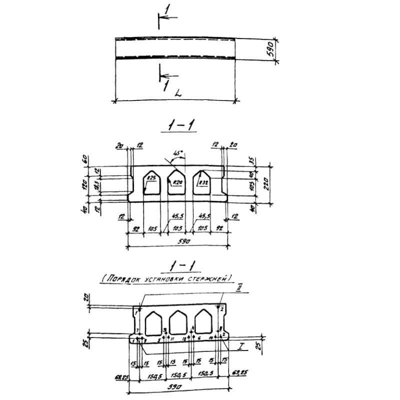
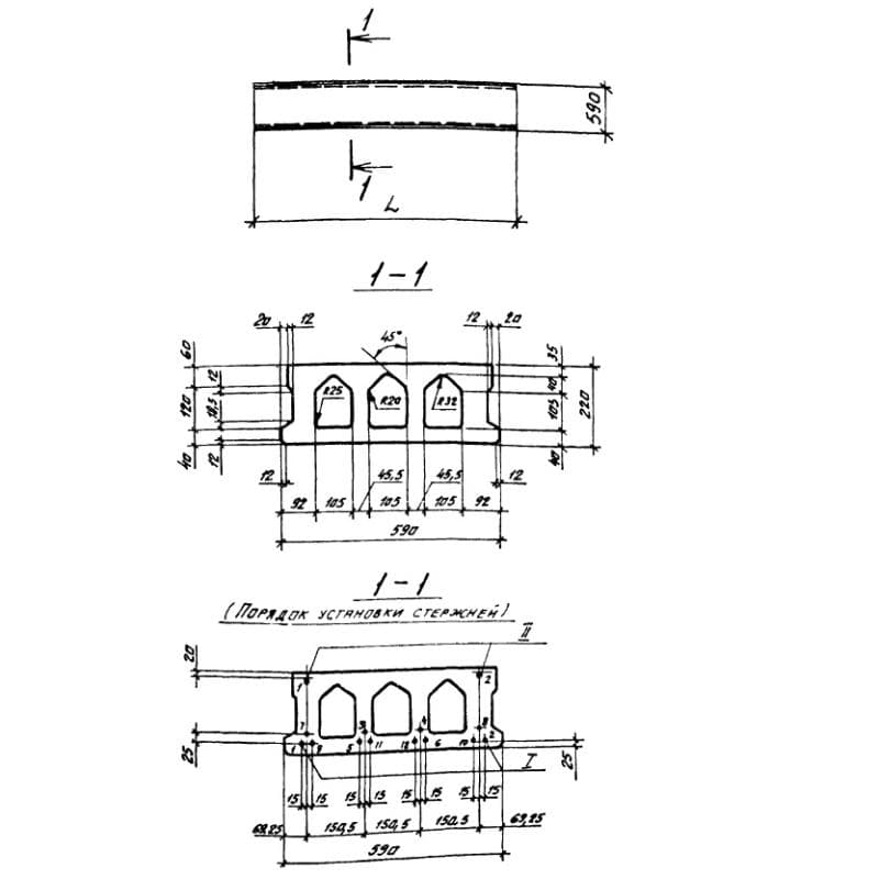
                Плиты многопустотные Шифр 0-312              
                Панели перекрытия Проект 1-467 А              
                Плиты многопустотные Шифр СК 1223              
                Плиты перекрытия многопустотные ПБ Шифр 0-460-08              
                Плиты многопустотные Серия ИЖ 812              
                Панели с вертикальными пустотами Серия ИИ 03-02              
                Плиты перекрытия многопустотные Нормали 02.019 КЖИ              
                Панели перекрытий легкобетонные многопустотные С ерия 1.141-18с              
                Плиты многопустотные облегченные Серия 1.141.1-39              
                Плиты (панели) перекрытия с овальными пустотами Серия ИИ 03-02 Альбом 102              
                Плиты многопустотные для районов с сейсмичностью Серия 1.141.1-40с              
                Плиты перекрытий с круглыми пустотами Серия 1.141-8              
                Панели перекрытий многопустотные Серия 1.241.1 КЛ-3              
                Плиты многопустотные Серия Б1.041.1-1.2000              
                Плиты перекрытия многопустотные ПБ шириной 0,6 метра              
                Плиты многопустотные Серия Б1.141.1-1.11              
                Плиты многопустотные Рабочие чертежи 164/07-ПР-КЖ              
                Панели перекрытий многопустотные Альбом РС 5155-95              
                Панели многопустотные Серия 1.141.1 КР-3              
                Плиты перекрытия многопустотные ПБ шириной 1,2 метра Серия ИЖ 568-03              
                Плиты перекрытий многопустотные Серия Б1.041.1-3.08              
                Плиты перекрытия многопустотные НВК высотой 265 мм Серия ИЖ 557              
                Плиты перекрытий многопустотные Серия 1.241-1              
                Панели перекрытия многопустотные Серия 1.141 КР-1              
                Плиты многопустотные Серия 1.141.1-31с              
                Плиты многопустотные Серия 1.241.1-8с              
                Плиты многопустотные с круглыми пустотами ГОСТ 26434-85              
                Плиты перекрытия многопустотные ПБ шириной 0,9 метра ИЖ 568              
                Плиты перекрытия многопустотные ПБ Шифр 0-453-04              
                Плиты многопустотные Серия 1.220.1-3м              
                Плиты многопустотные Серия 1.141.1-28с              
                Плиты перекрытий многопустотные Шифр 89-1227              
                Плиты многопустотные с круглыми пустотами ГОСТ 26434-2015              
                Плиты перекрытия многопустотные Серия 1.141.1-29с              
                Плиты перекрытия многопустотные ПБ шириной 1,2 метра Серия ИЖ 840              
                Плиты перекрытия многопустотные ПБ шириной 1,2 метра Серия ИЖ 745-01              
                Плиты перекрытия многопустотные ПК шириной 1,0 метр Серия 1.141.1-3              
                Плиты перекрытия многопустотные ПК шириной 1,2 метра Серия 1.041.1-3              
                Плиты перекрытия многопустотные ПК шириной 1,2 метра Серия ПП 70-91              
                Плиты перекрытия многопустотные ПК шириной 1,5 метра Серия 1.041.1-3              
                Плиты перекрытия многопустотные ПК шириной 1,8 метра              
                Плиты перекрытия многопустотные ПК шириной 1,5 метра Серия ПП 70-91              
                Плиты перекрытия многопустотные Серия 1.090.1-1              
                Плиты перекрытия многопустотные Серия 1.090.1-7с              
                Плиты перекрытия многопустотные Серия 1.090.1-2с              
                Плиты перекрытия многопустотные ПК шириной 3,0 метра Серия 1.041.1-3              
                Плиты перекрытия многопустотные Серия 1.090.1-1/88              
                Плиты пустотные железобетонные Серия 3.503-12              
                Плиты перекрытия многопустотные Серия 1.041.1-2              
                Плиты перекрытия многопустотные Серия 1.141.1-19с/85              
                Плиты перекрытия многопустотные Серия 1.141.1 КЛ-3              
                Плиты перекрытия многопустотные Серия Б1.020.1-7              
                Плиты перекрытия многопустотные ТП 213-2-183              
                Плиты перекрытия многопустотные высотой 260 мм Серия 1.090.1-1/88              
                Плиты перекрытия многопустотные Серия ИИ 04-4              
                Плиты перекрытия многопустотные Серия 1.141.1-32с              
                Плиты перекрытия многопустотные Серия 1.141.1-30              
                Плиты перекрытия многопустотные Серия 1.141.1-38              
Плиты многопустотные Шифр 0-312

590x220x41801П 42-6-15,5 ВрII(5) т (Шифр 0-312)
Цена по запросу

590x220x41801П 42-6-15,5 ВрII(5) т (Шифр 0-312)
Цена по запросу

590x220x41801П 42-6-15,5 ВрII(5) т (Шифр 0-312)
Цена по запросу

590x220x41801П 42-6-15,5 к-7(9) т (Шифр 0-312)
Цена по запросу

590x220x41801П 42-6-15,5 к-7(9) т (Шифр 0-312)
Цена по запросу

590x220x41801П 42-6-15,5 к-7(9) т (Шифр 0-312)
Цена по запросу

590x220x41801П 42-6-16 к-7(9) т (Шифр 0-312)
Цена по запросу

590x220x41801П 42-6-16 к-7(9) т (Шифр 0-312)
Цена по запросу

590x220x41801П 42-6-16 к-7(9) т (Шифр 0-312)
Цена по запросу

590x220x41801П 42-6-16,5 ВрII(5) т (Шифр 0-312)
Цена по запросу

590x220x41801П 42-6-16,5 ВрII(5) т (Шифр 0-312)
Цена по запросу

590x220x41801П 42-6-16,5 ВрII(5) т (Шифр 0-312)
Цена по запросу
12 из 3858 (322 страниц)