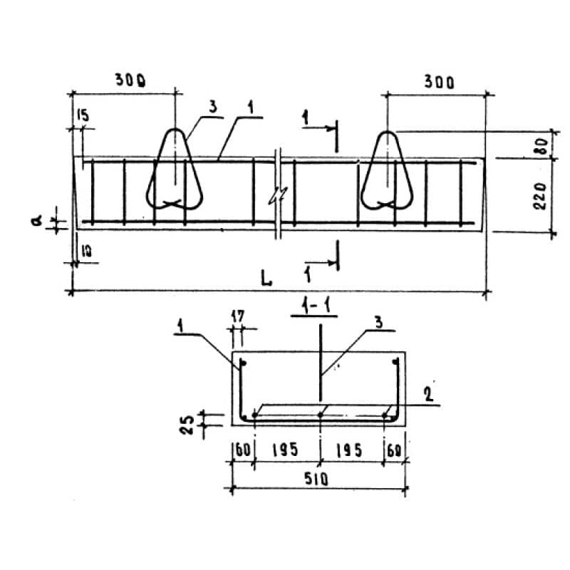
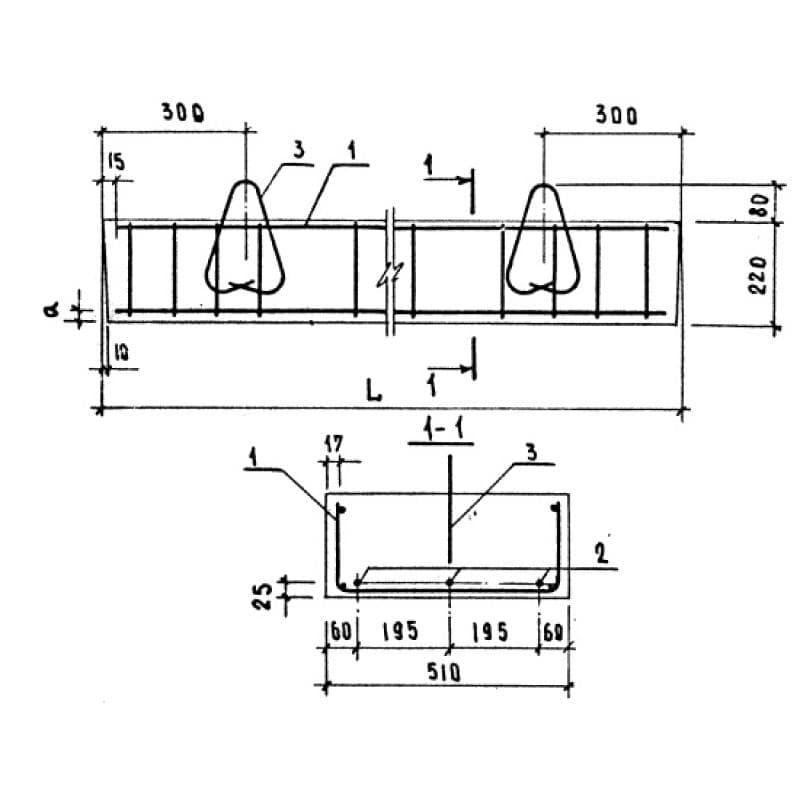
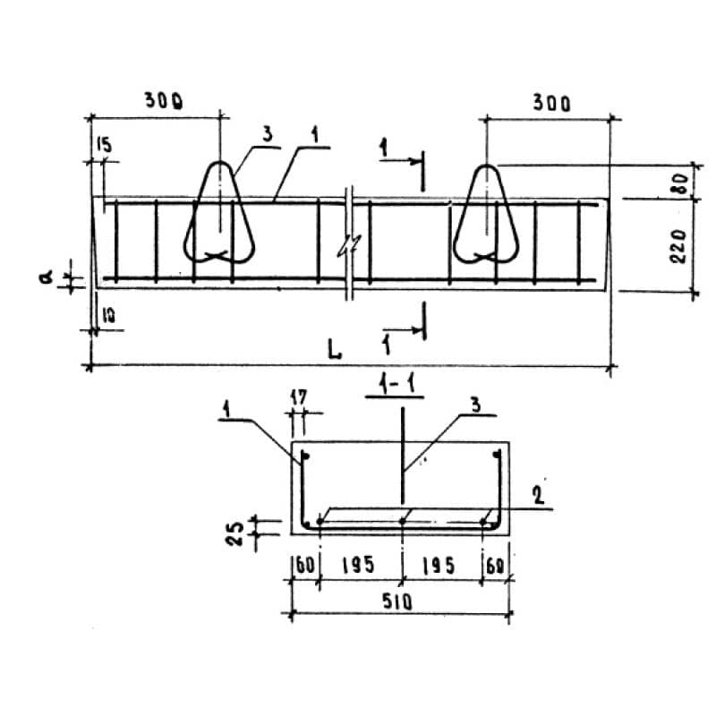
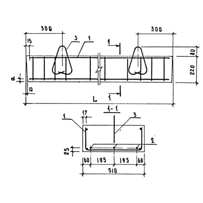
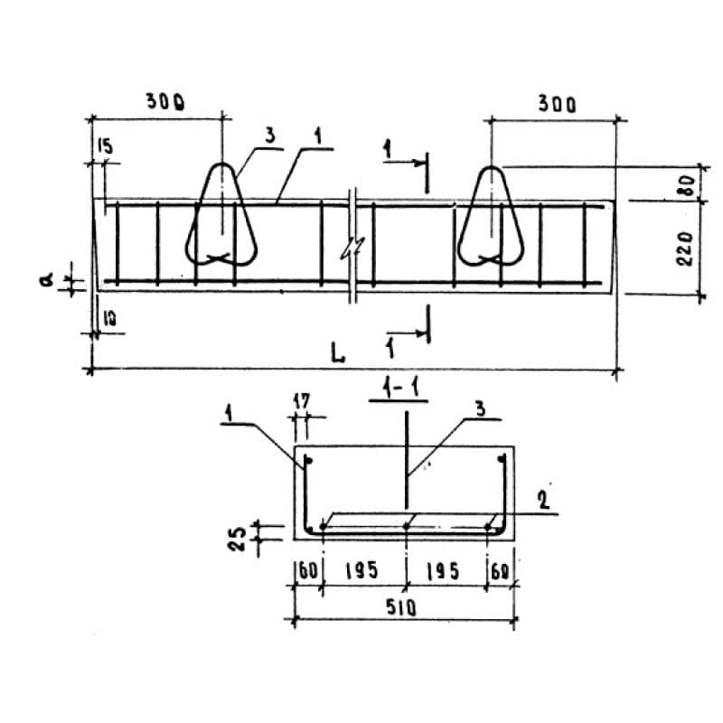
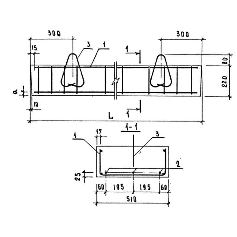
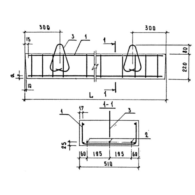
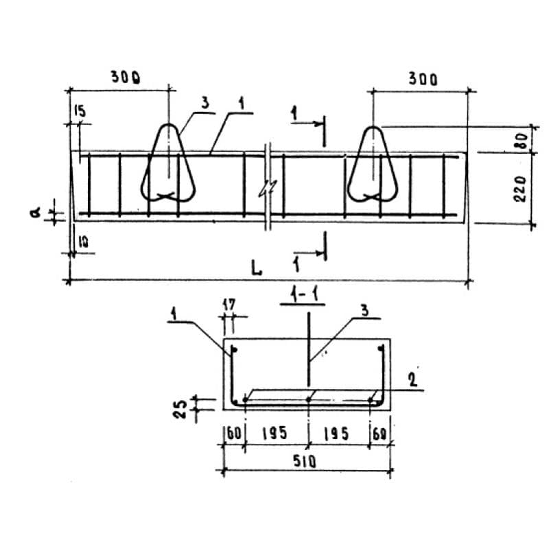
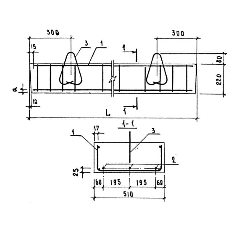
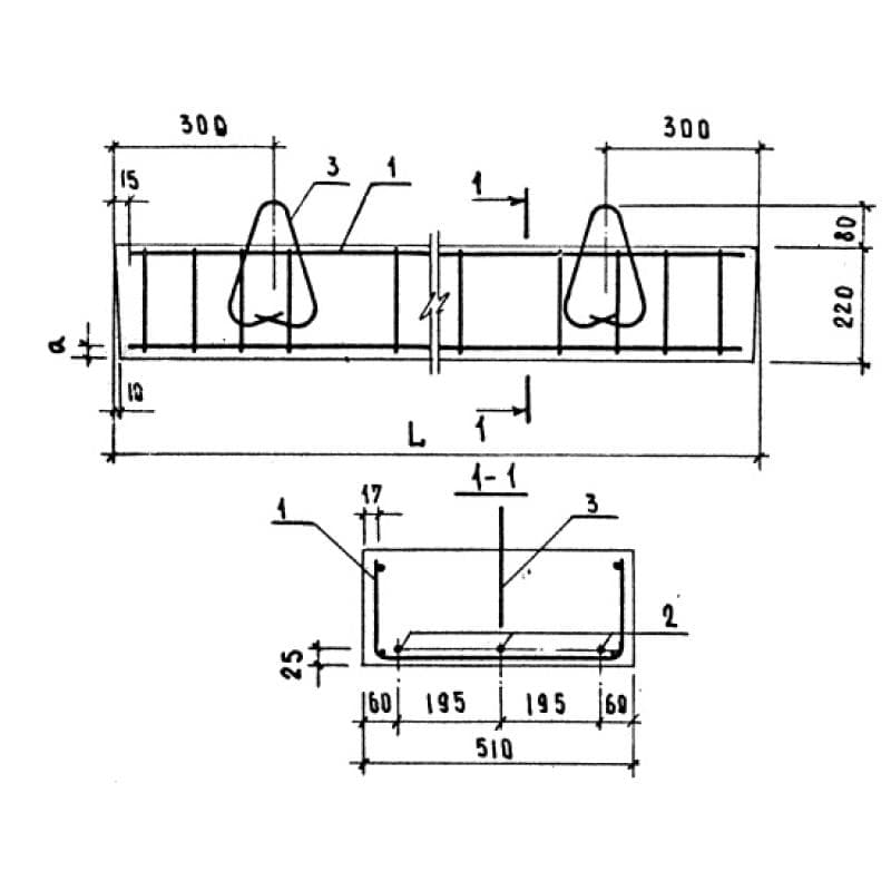
Перемычки плитные ПП ГОСТ 948-84

510x140x23305ПП 23-10 (ГОСТ 948-84)
Цена по запросу

510x220x14206ПП 14-72 АтIVс (ГОСТ 948-84)
Цена по запросу

510x220x14206ПП 14-72 АтV (ГОСТ 948-84)
Цена по запросу

510x220x15506ПП 16-72 АтIVс (ГОСТ 948-84)
Цена по запросу

510x220x15506ПП 16-72 АтV (ГОСТ 948-84)
Цена по запросу

510x220x18106ПП 18-72 АтIVс (ГОСТ 948-84)
Цена по запросу

510x220x18106ПП 18-72 АтV (ГОСТ 948-84)
Цена по запросу

510x220x20706ПП 21-72 АтIVс (ГОСТ 948-84)
Цена по запросу

510x220x20706ПП 21-72 АтV (ГОСТ 948-84)
Цена по запросу

510x220x27206ПП 27-72 АтIVс (ГОСТ 948-84)
Цена по запросу

510x220x27206ПП 27-72 АтV (ГОСТ 948-84)
Цена по запросу

510x220x29806ПП 30-13 (ГОСТ 948-84)
Цена по запросу