Балки мостовые

2060x1360x14300БП 1-143-2 к2
Цена по запросу

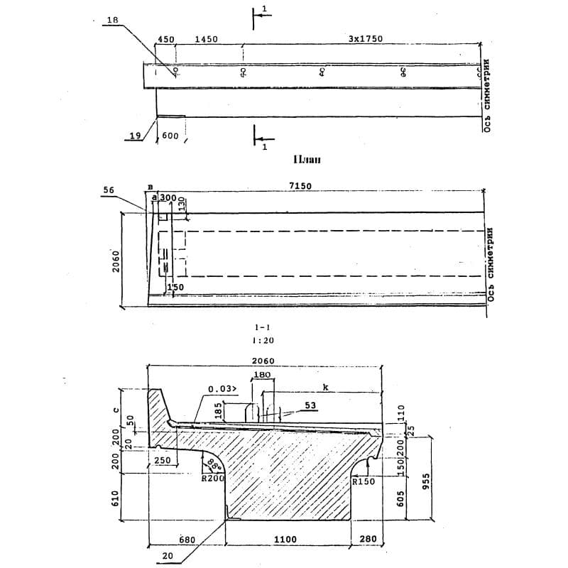
2420x1040x12200Б 122 к4 м АII
Цена по запросу

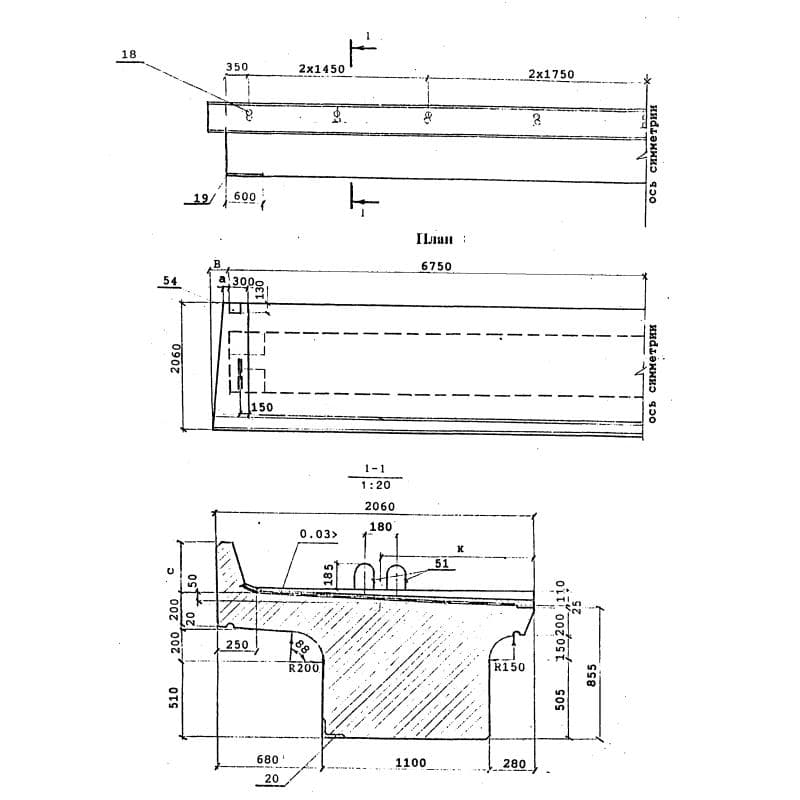
2060x1260x13500БП 1-135-2 к5м1
Цена по запросу

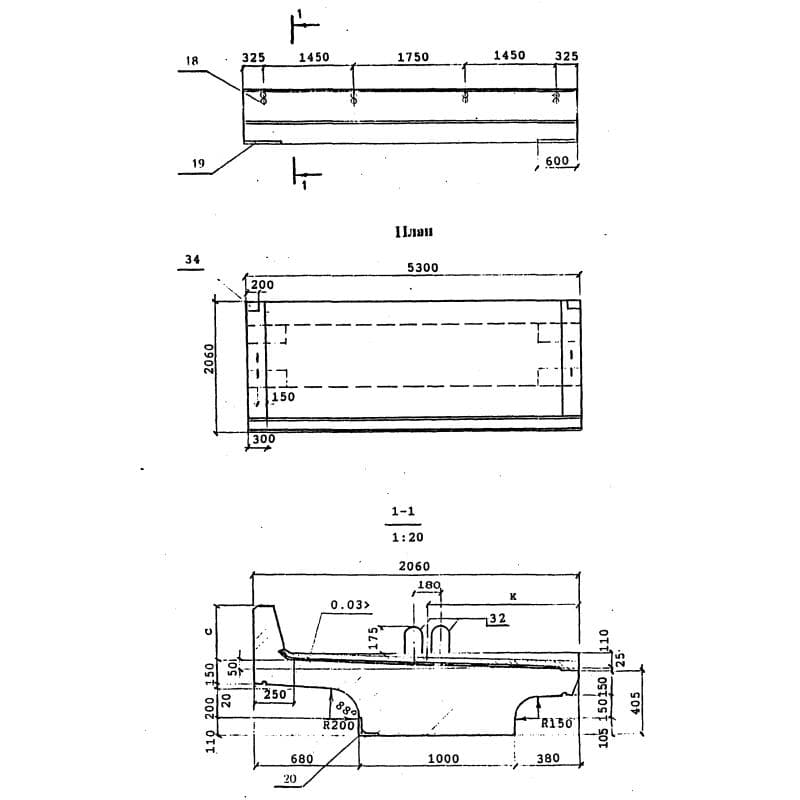
2060x810x5300БП 1-53-3
Цена по запросу

1590x700x15000Б 15-2 вд
Цена по запросу

1740x1230x22160Б 2216-174-123 ТвАII-1 (ИНВ 42012м)
Цена по запросу

2060x1260x13500БП 1-135-2 к1
Цена по запросу

2420x700x11500БП 115 к2 м АIII
Цена по запросу

2420x800x14300БП 143 м1 АIII
Цена по запросу

1800x900x12000Пр 12 г-5
Цена по запросу

2060x930x9300Б 1-93-3 к1м
Цена по запросу

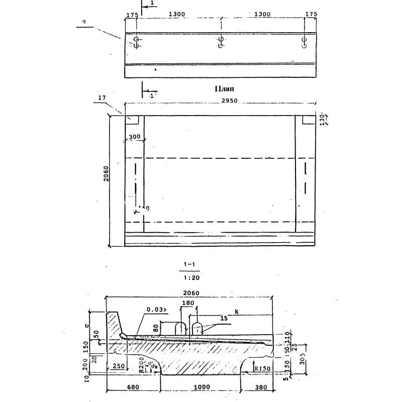
2060x910x2950БП 1-29-2 к1
Цена по запросу