Балки мостовые

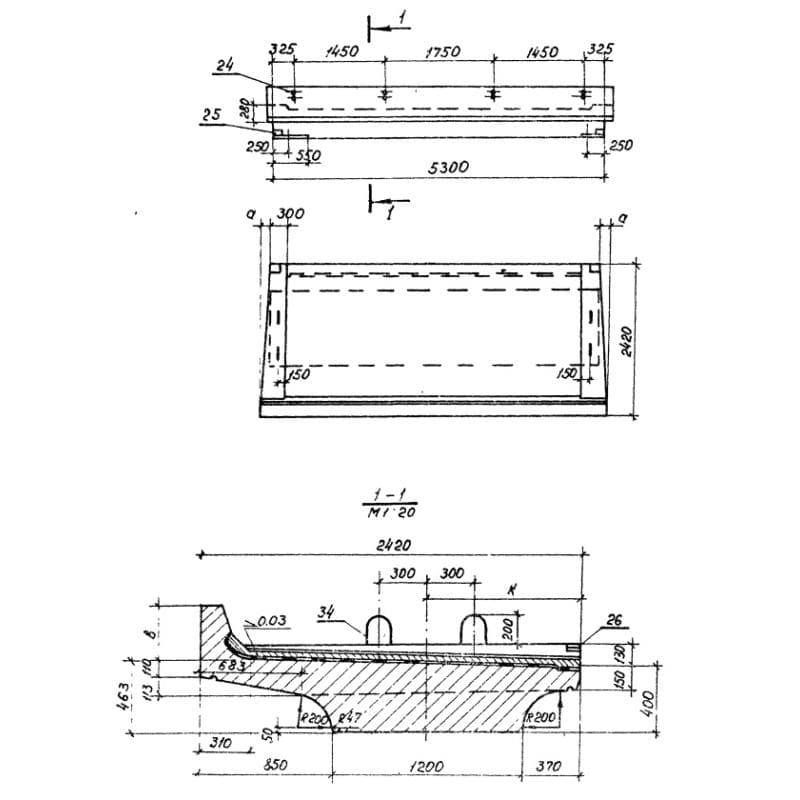
2420x400x5300БП 53 к1
Цена по запросу

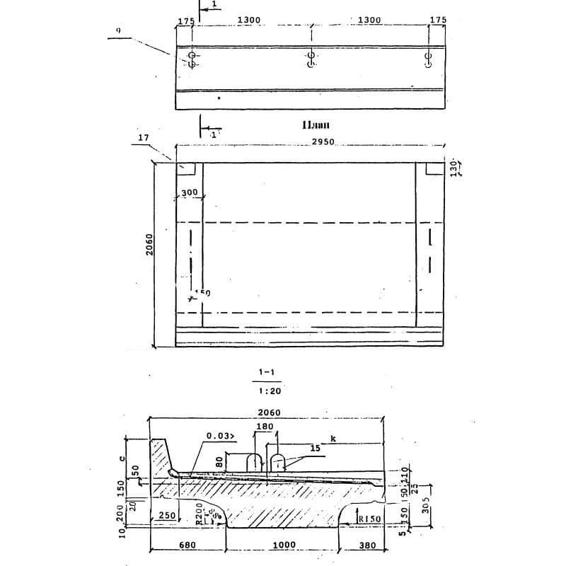
2060x910x2950БП 1-29-2 к1м1
Цена по запросу

2420x890x9300Б 93 к1 м1 АII
Цена по запросу

1300x930x12000Б 1200-130-93-5 28АIIIв-4
Цена по запросу

1300x930x15000Б 1500-130-93 б
Цена по запросу

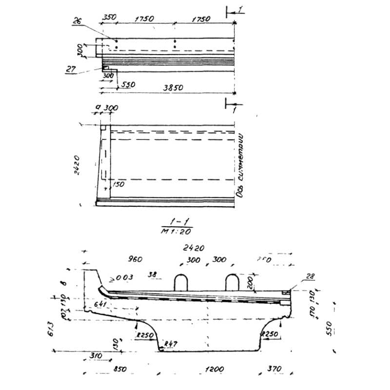
2420x550x7700БП 77 м1 АIII
Цена по запросу

2420x1390x16500Б 165 к2 м АIII
Цена по запросу

1700x670x7300Б 7,3
Цена по запросу

1300x1080x15000Б 1-15 в (ИНВ 34750м)
Цена по запросу

2420x600x9850БП 98 к2 м
Цена по запросу

2060x960x7300БП 1-73-2 к2
Цена по запросу

2060x1060x9300БП 1-93-2 к2м
Цена по запросу