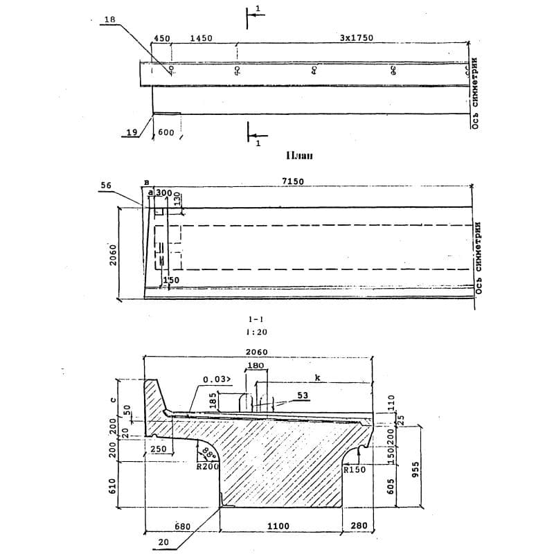
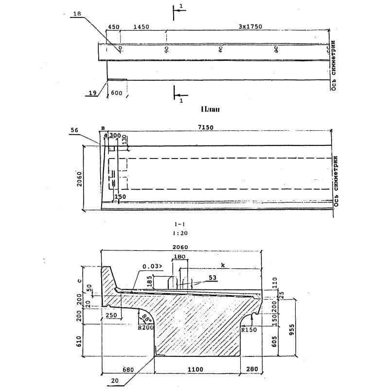
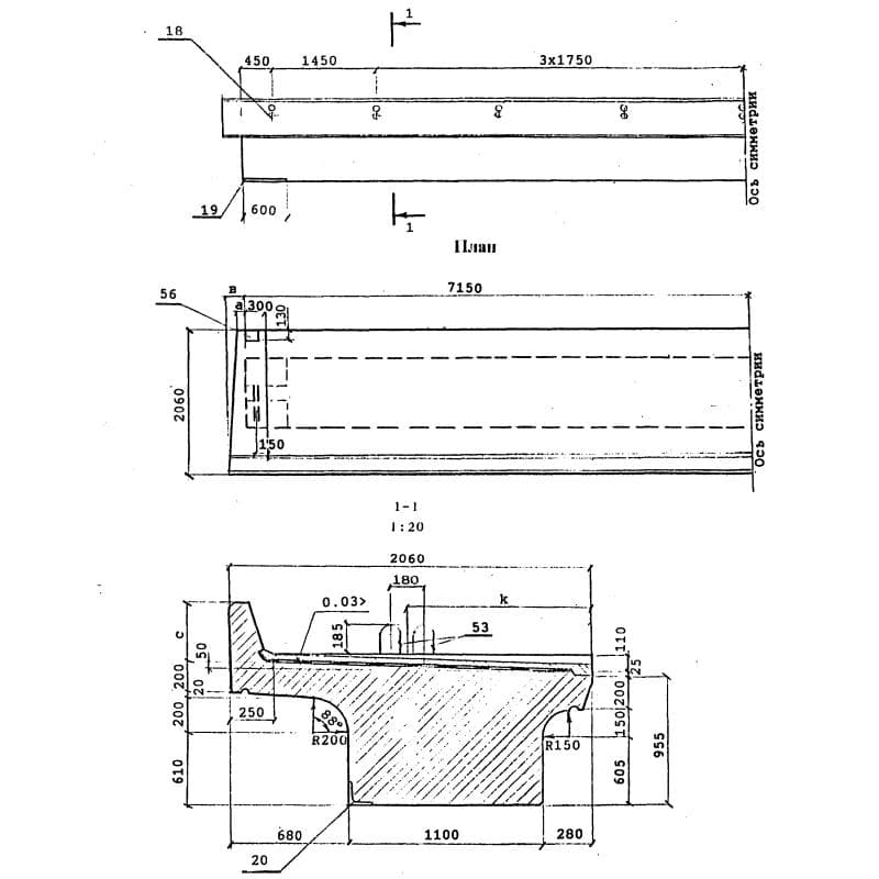
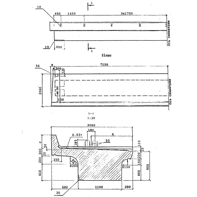
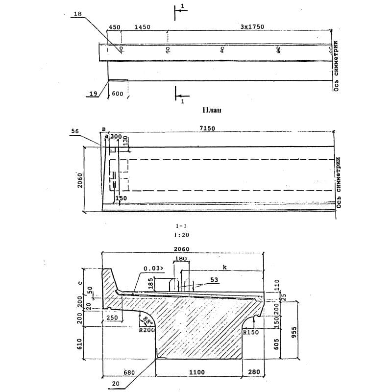
Балки Серия 3.501.1-175.93

2060x1780x14300Б 1-143-2 к3м
Цена по запросу

2060x1780x14300Б 1-143-2 к3м1
Цена по запросу

2060x1780x14300Б 1-143-2 к4
Цена по запросу

2060x1780x14300Б 1-143-2 к4м
Цена по запросу

2060x1780x14300Б 1-143-2 к4м1
Цена по запросу

2060x1580x14300Б 1-143-2 к5
Цена по запросу

2060x1580x14300Б 1-143-2 к5м
Цена по запросу

2060x1580x14300Б 1-143-2 к5м1
Цена по запросу

2060x1580x14300Б 1-143-2 м
Цена по запросу

2060x1580x14300Б 1-143-2 м1
Цена по запросу

2060x1580x14300Б 1-143-3
Цена по запросу

2060x1780x14300Б 1-143-3 к1
Цена по запросу