Сваи железобетонные

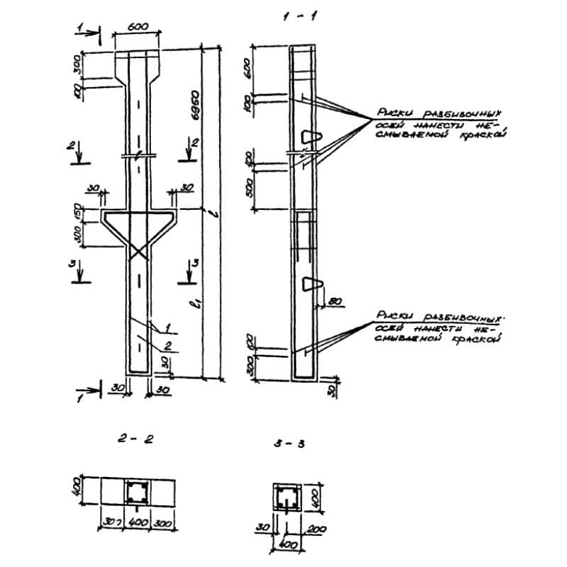
1000x400x100002СД 100-66-40-7 (1.411.1-10.93)
Цена по запросу

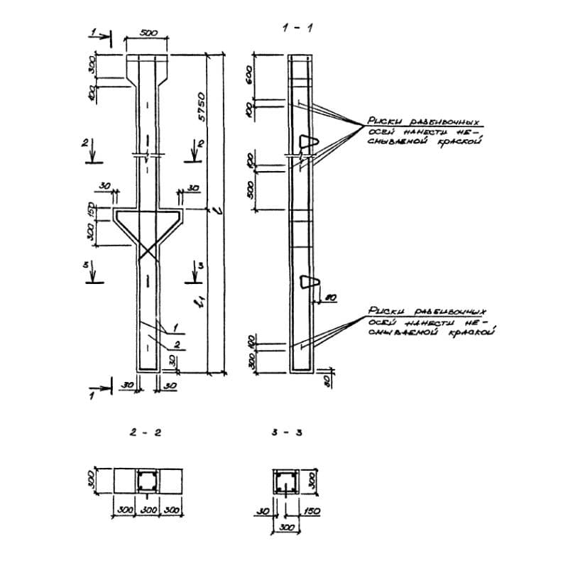
900x300x110002СД 110-48-30-2 (1.411.1-10.93)
Цена по запросу

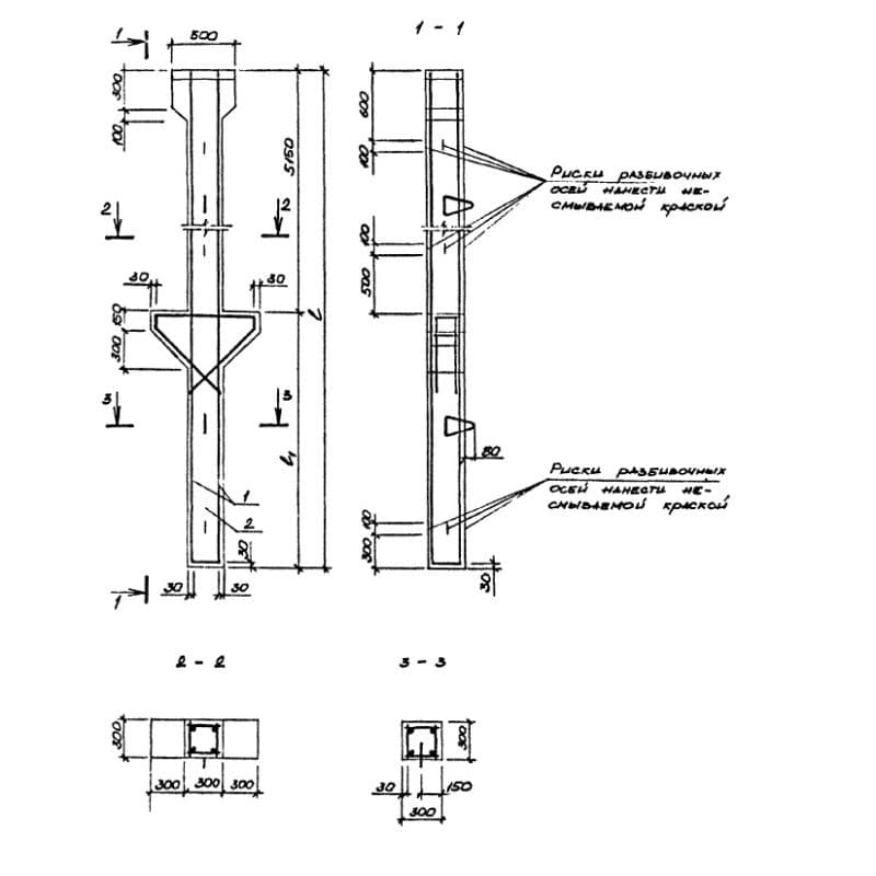
300x300x60001СД 60-28-30-3 (1.821.1-7)
Цена по запросу

1000x400x120002СД 120-66-40-2 (1.411.1-10.93)
Цена по запросу

900x300x110002СД 110-54-30-3 (1.411.1-10.93)
Цена по запросу

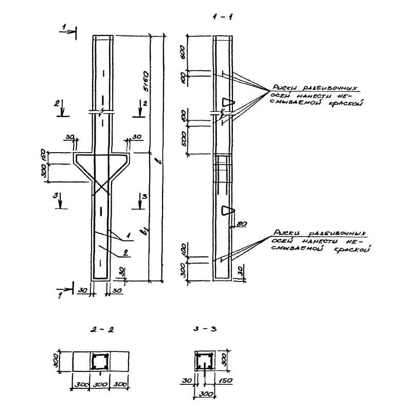
350x350x10000С 10-35 В7
Цена по запросу

900x300x120001СД 120-48-30-3 (1.411.1-10.93)
Цена по запросу

950x500x3000СВТ 30-5 п
Цена по запросу

300x300x60001СД 60-29-30-1
Цена по запросу

1000x400x90001СД 90-54-40-2 (1.411.1-10.93)
Цена по запросу

900x300x110001СД 110-54-30-5 (1.411.1-10.93)
Цена по запросу

1000x400x120002СД 120-48-40-1 (1.411.1-10.93)
Цена по запросу