Вентиляционные блоки

2560x300x19701ВД 20-26-30
Цена по запросу

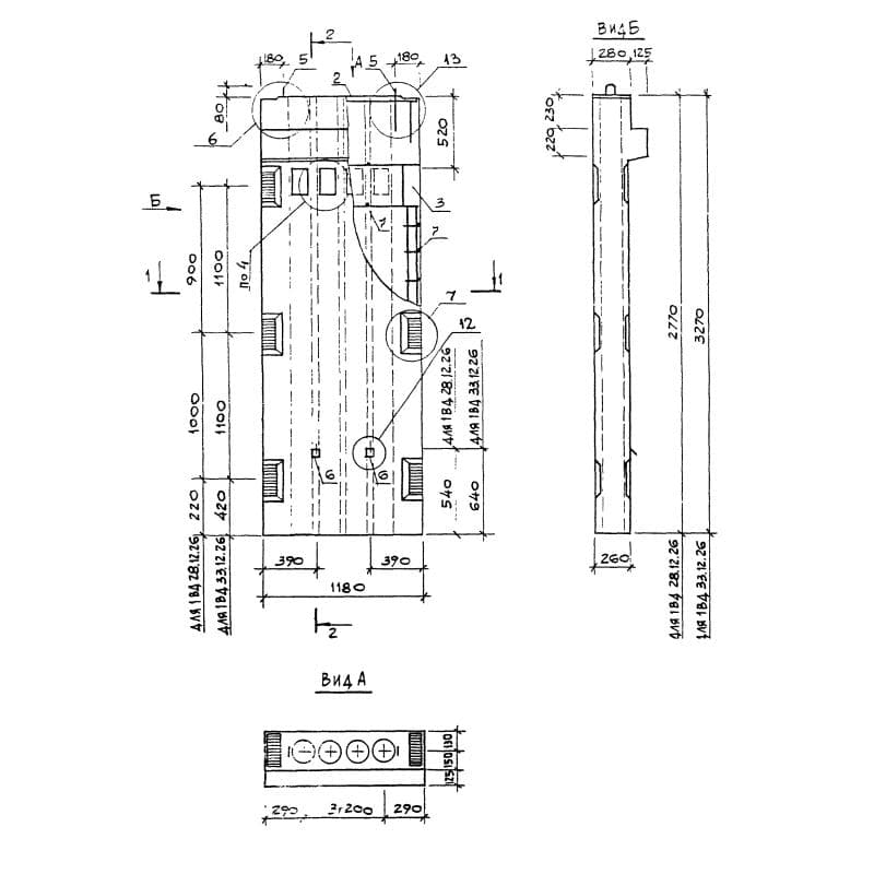
550x3270x11802ВД 12-33
Цена по запросу

260x1180x35702ВД 36-12-26
Цена по запросу

550x2770x14802ВД 15-28
Цена по запросу

550x2770x25602ВД 26-28
Цена по запросу

405x2770x29801ВД 30-28
Цена по запросу

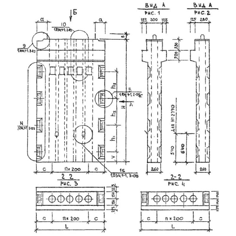
260x1180x27701ВД 28-12-26
Цена по запросу

260x2560x27701ВДП 28-26-26
Цена по запросу

405x1970x14801ВД 15-20
Цена по запросу

260x2980x27701ВД 28-30-26
Цена по запросу

405x2770x25601ВД 26-28
Цена по запросу

260x1180x19701ВД 20-12-26
Цена по запросу