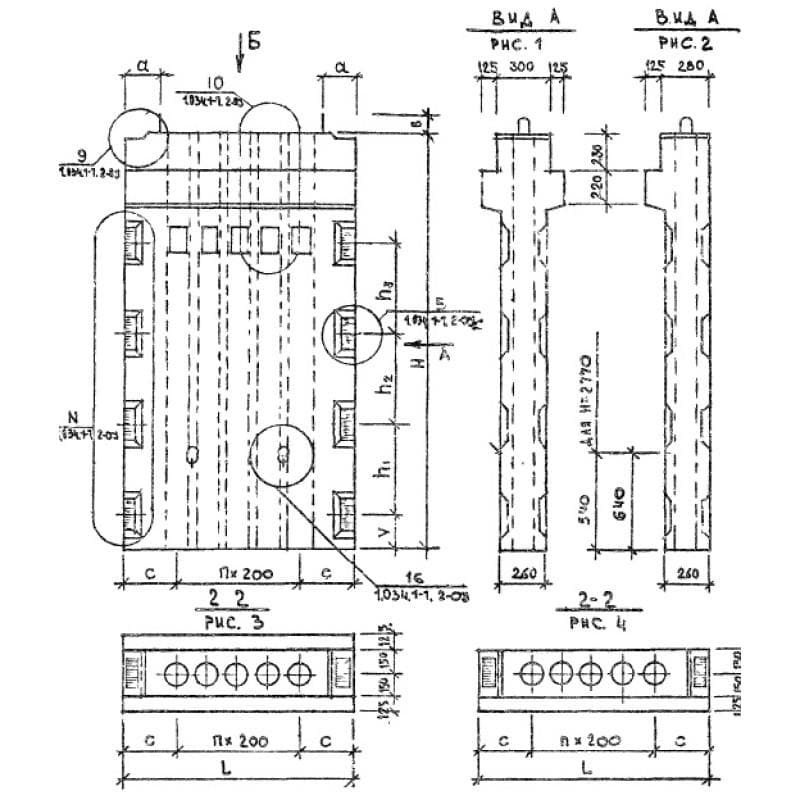
Вентиляционные блоки-диафрагмы жесткости с отверстиями Серия 1.034.1-1

405x2770x29802ВД 30-28
Цена по запросу

405x2770x29802ВД 30-28
Цена по запросу

405x2770x29802ВД 30-28
Цена по запросу

550x3270x29802ВД 30-33
Цена по запросу

550x3270x29802ВД 30-33
Цена по запросу

550x3270x29802ВД 30-33
Цена по запросу

550x3270x29802ВД 30-36
Цена по запросу

550x3270x29802ВД 30-36
Цена по запросу

550x3270x29802ВД 30-36
Цена по запросу

550x2770x25602ВДП 26-28
Цена по запросу

550x2770x25602ВДП 26-28
Цена по запросу

550x2770x25602ВДП 26-28
Цена по запросу