Плиты забора железобетонные

200x300x2800С 6 Б
Цена по запросу

140x140x3000С 4 Ва
Цена по запросу

380x640x2800С 7 Вл
Цена по запросу

220x100x1700С 1 (Шифр 734)
Цена по запросу

45x555x2000ПО 20-6-5 м-8 (Б3.017.1-7.05)
Цена по запросу

45x500x20001-3П 200-60-5 м
Цена по запросу

160x2000x40001ПБ 40-20
Цена по запросу

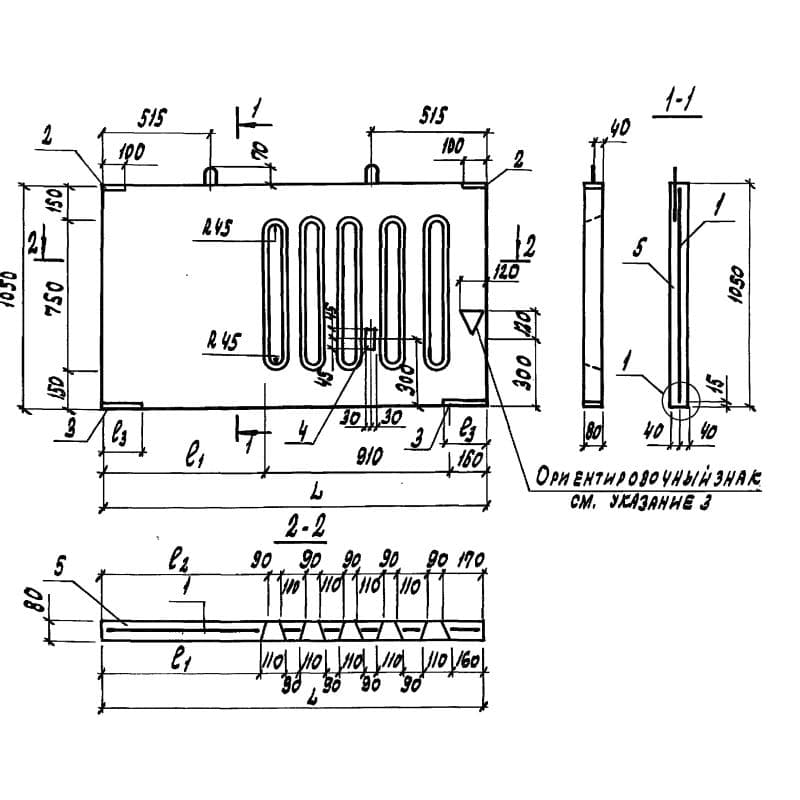
80x1050x990ПОГ 99-105
Цена по запросу

80x1050x1790ПОГ 179-105 к
Цена по запросу

120x2500x3980ПО 40-25-12
Цена по запросу

45x535x2000ПО 20-5-5 м-14 (Б3.017.1-7.05)
Цена по запросу

120x2000x30002ПБ 30-20
Цена по запросу