Плиты забора железобетонные

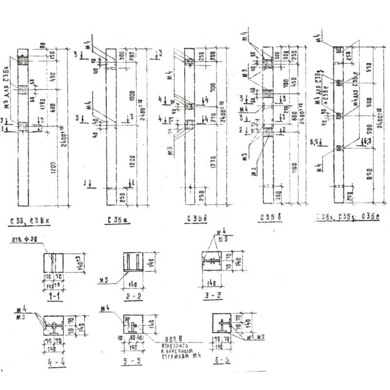
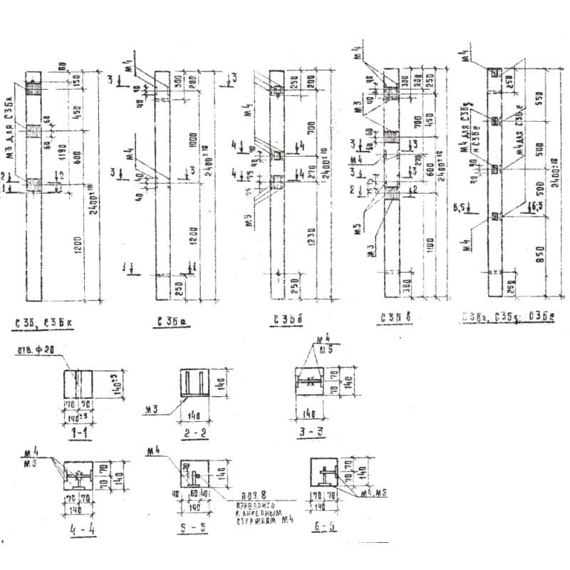
140x140x2400С 3 Бк
Цена по запросу

140x140x24002С 24 б
Цена по запросу

45x250x2000ПО 20-3-5 м-4 (Б3.017.1-7.05)
Цена по запросу

180x180x2200С 5 Бб
Цена по запросу

45x640x2000ПО 20-6-5 м-20 (Б3.017.1-7.05)
Цена по запросу

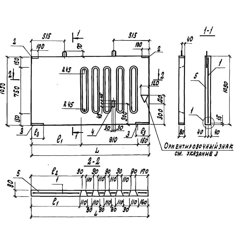
80x1050x1990ПОГ 199-105 к
Цена по запросу

120x1600x30002ПБ 30-16
Цена по запросу

160x2900x3980ПО 40-29-16
Цена по запросу

45x500x2000ПО 20-5-5 м-50 (Б3.017.1-7.05)
Цена по запросу

140x140x3000С 3 Вж
Цена по запросу

140x140x2400С 3 Бв
Цена по запросу

160x2000x40001ПБ 40-20 р
Цена по запросу