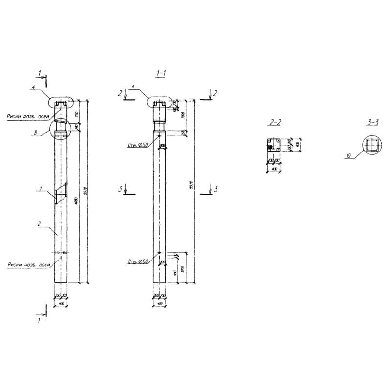
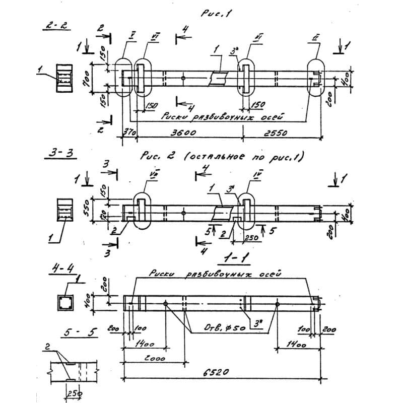
Колонны, диафрагмы железобетонные

380x700x124501К 114-5
Цена по запросу

400x400x108502КНО 48-48-5-40-00
Цена по запросу

400x400x63702КН2 4-28(20)-34 (Б1.020.1-7)
Цена по запросу

400x400x120002КСО 4-60-4,2
Цена по запросу

140x3270x56601Д 57-33 (1.220.1-3м)
Цена по запросу

400x500x75001К 72-4 м2-3
Цена по запросу

400x400x125503КНД 36-1-38/47-4
Цена по запросу

400x600x1570011КФ 157-1
Цена по запросу

400x400x68501КН 33-69-4
Цена по запросу

2000x800x96001КС 84-7-4,3 (Шифр Э 1708/1)
Цена по запросу

2000x800x120001КС 108-10-7,3 (Шифр Э 1708/1)
Цена по запросу

400x400x65202КВД 36-36-3-20-00
Цена по запросу