Диафрагмы жесткости железобетонные

345x1740x25601Д 26-17 пв
Цена по запросу

550x2540x25602Д 26-25 пв
Цена по запросу

345x1970x55601Д 56-20
Цена по запросу

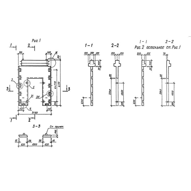
550x4170x25602Д 26-42-2 пв
Цена по запросу

550x4170x31602ДП 32-42-5 пв
Цена по запросу

160x2800x40601Д 41-28-2 с28
Цена по запросу

550x3270x25602ДП 26-33 (1.020-1)
Цена по запросу

345x2770x25601Д 26-28
Цена по запросу

550x3600x55602Д 56-36-2-1 сп (1.020.1-6сп)
Цена по запросу

480x3600x25601Д 26-36-2-1 сп (1.020.1-6сп)
Цена по запросу

345x4170x25601ДП 26-42 (1.020-1)
Цена по запросу

550x3040x55602ДПК 56-30 пв
Цена по запросу