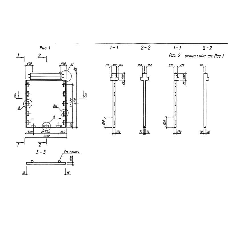
Диафрагмы жесткости серия 1.020-1/87 ( 1.020.1-7, 1.020-1/83, ИИ 04-1, 1.020.1-3пв )

550x4170x23802Д 24-42-4 пв
Цена по запросу

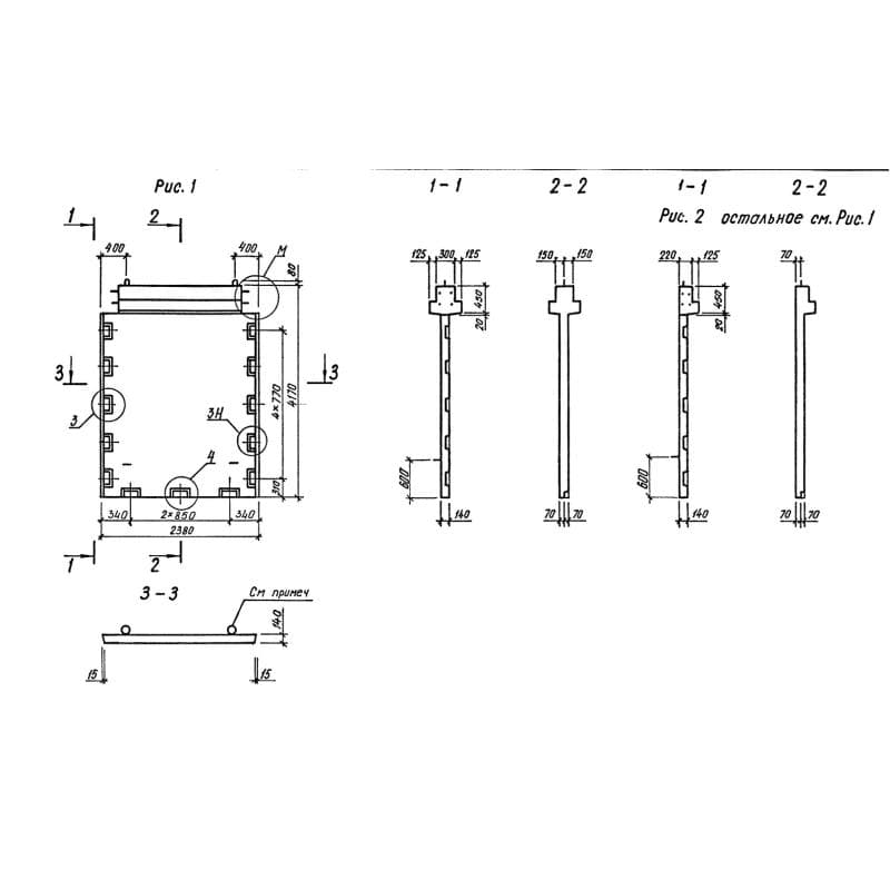
550x4170x23802Д 24-42-4 пв
Цена по запросу

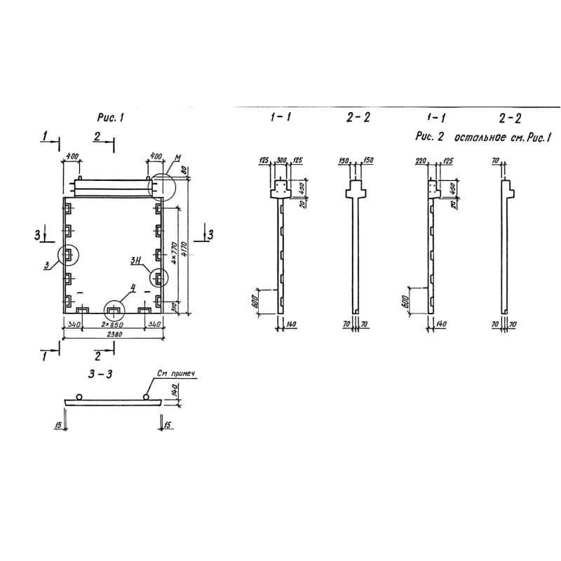
550x4170x23802Д 24-42-4 пв
Цена по запросу

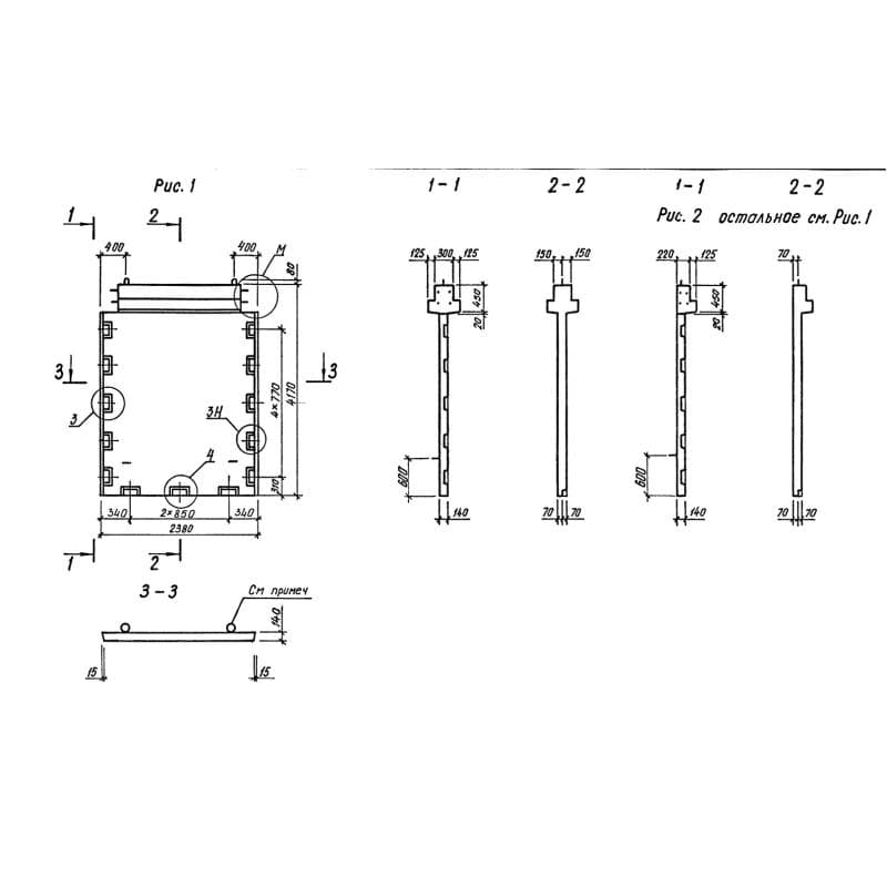
550x4170x23802Д 24-42-5 пв
Цена по запросу

550x4170x23802Д 24-42-5 пв
Цена по запросу

550x4170x23802Д 24-42-5 пв
Цена по запросу

550x4770x23802Д 24-48
Цена по запросу

550x4770x23802Д 24-48
Цена по запросу

550x4770x23802Д 24-48
Цена по запросу

550x4770x23802Д 24-48
Цена по запросу

550x4770x23802Д 24-48
Цена по запросу

550x4770x23802Д 24-48
Цена по запросу