Диафрагмы жесткости серия 1.020-1/87 ( 1.020.1-7, 1.020-1/83, ИИ 04-1, 1.020.1-3пв )

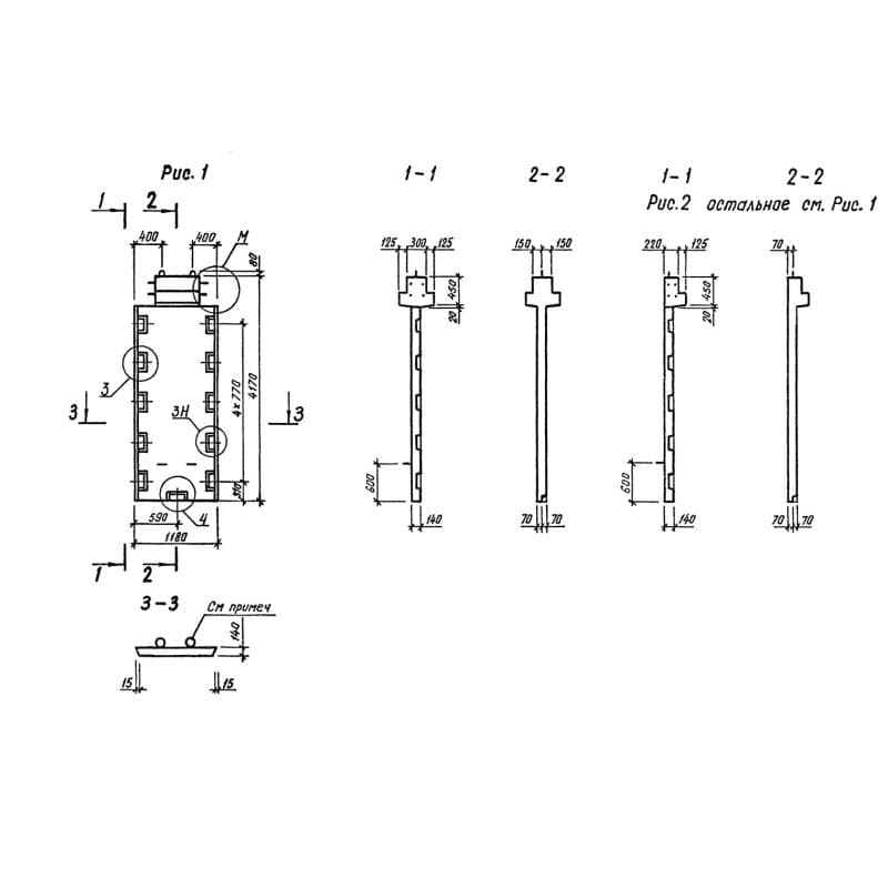
550x4170x11802Д 12-42-5 пв
Цена по запросу

550x4170x11802Д 12-42-5 пв
Цена по запросу

550x4170x11802Д 12-42-5 пв
Цена по запросу

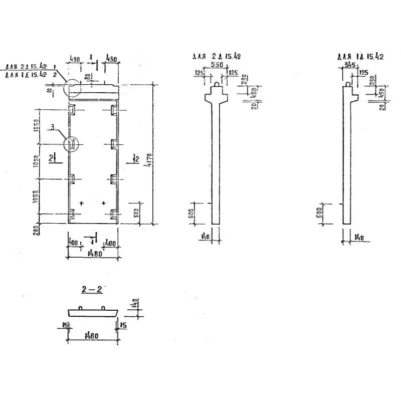
550x4170x14802Д 15-42
Цена по запросу

550x4170x14802Д 15-42
Цена по запросу

550x4170x14802Д 15-42
Цена по запросу

550x4170x14802Д 15-42
Цена по запросу

550x4170x14802Д 15-42
Цена по запросу

550x4170x14802Д 15-42
Цена по запросу

550x3340x22502Д 23-33 пв
Цена по запросу

550x3340x22502Д 23-33 пв
Цена по запросу

550x3340x22502Д 23-33 пв
Цена по запросу