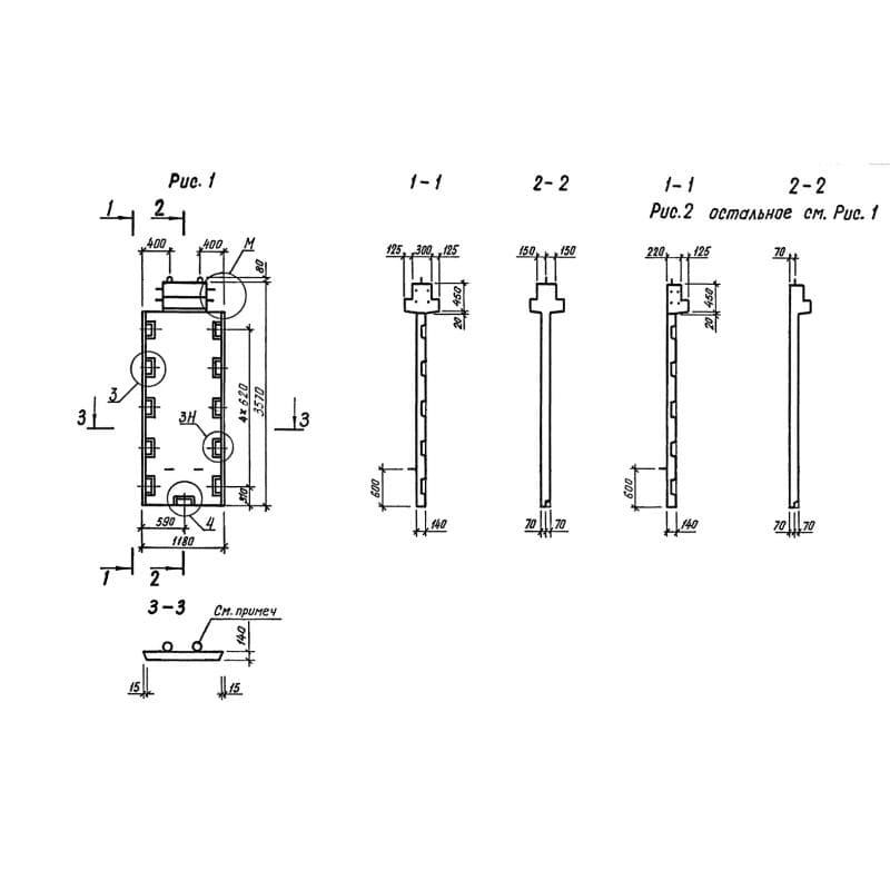
Диафрагмы жесткости серия 1.020-1/87 ( 1.020.1-7, 1.020-1/83, ИИ 04-1, 1.020.1-3пв )

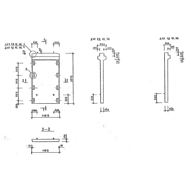
140x3570x11802Д 12-36
Цена по запросу

140x3570x11802Д 12-36
Цена по запросу

140x3570x11802Д 12-36
Цена по запросу

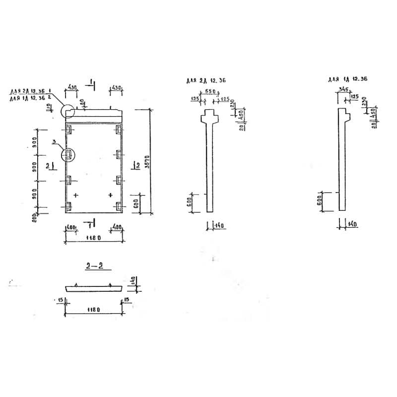
550x3570x11802Д 12-36-1 пв
Цена по запросу

550x3570x11802Д 12-36-1 пв
Цена по запросу

550x3570x11802Д 12-36-1 пв
Цена по запросу

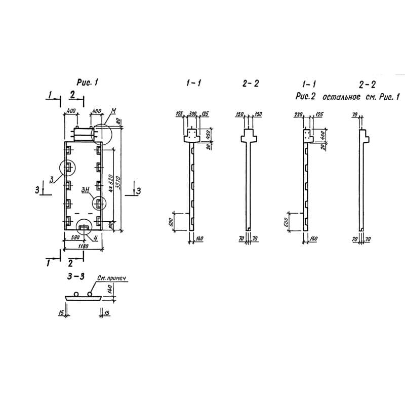
550x3570x11802Д 12-36-2 пв
Цена по запросу

550x3570x11802Д 12-36-2 пв
Цена по запросу

550x3570x11802Д 12-36-2 пв
Цена по запросу

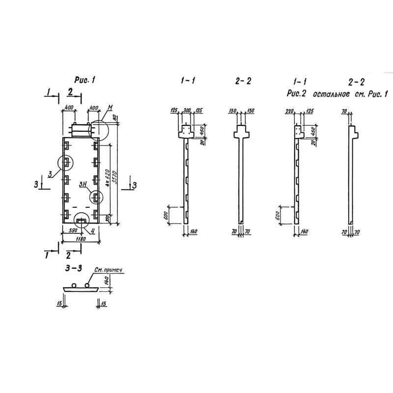
550x3570x11802Д 12-36-3 пв
Цена по запросу

550x3570x11802Д 12-36-3 пв
Цена по запросу

550x3570x11802Д 12-36-3 пв
Цена по запросу