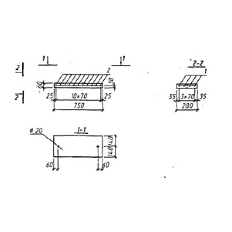
Ступени Серия 3.501-180.95