Плиты перекрытия

1493x220x83801П 84-15-4,5 к-7(9) т (Шифр 0-312)
Цена по запросу

1485x400x50501П 4-1 АIVт в (1.442.1-1.87)
Цена по запросу

2980x250x59701ПВ 6-6 АтVск нп 7
Цена по запросу

1190x220x53801ПК 54-12-3 АтIVл (1.141.1-38)
Цена по запросу

1490x220x5980ПК 60-15-12,5 Ат800 (Б1.041.1-1.2000)
Цена по запросу

1190x220x2780ПК 28-12-8
Цена по запросу

1490x220x5680ПК 57-15-6 Ат800а (Б1.041.1-1.2000)
Цена по запросу

891x220x53801П 54-9-13 к-7(6) т (Шифр 0-312)
Цена по запросу

1490x220x5300КНК 53-15-6 АтVт-I
Цена по запросу

935x400x50501П 6-3 АтVIт (1.442.1-1.87)
Цена по запросу

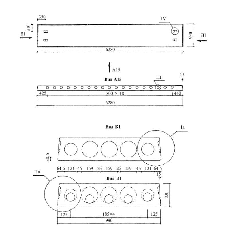
990x220x62801ПК 63-10-4 Н 0-АIV
Цена по запросу

1493x220x51502П 52-15-16 ВрII(5) т (Шифр 0-312)
Цена по запросу