Каталог по сериям
Выбрана серия: ГОСТ 6785-80
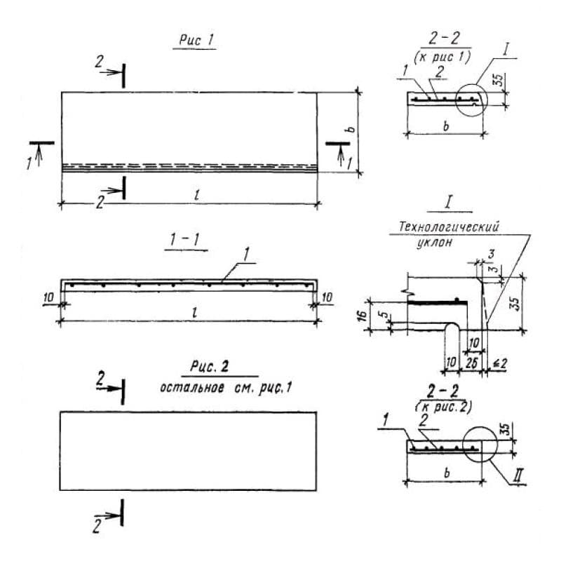
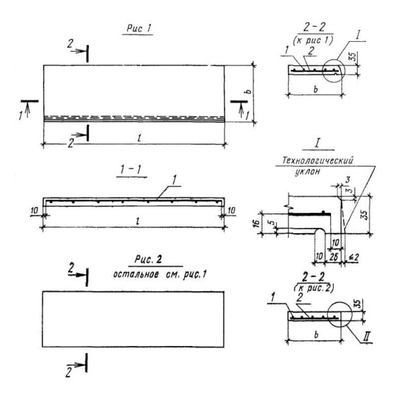
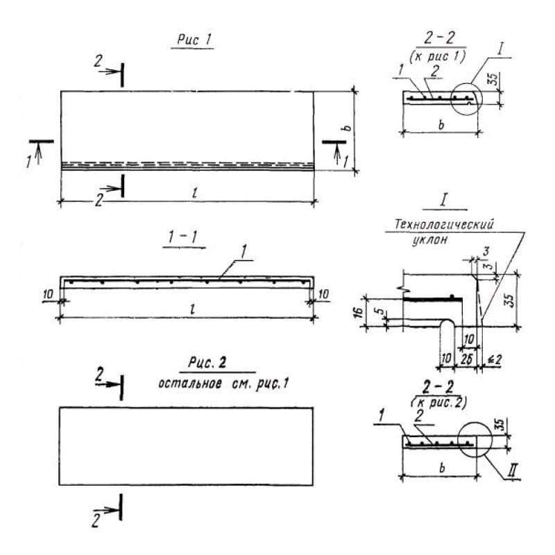
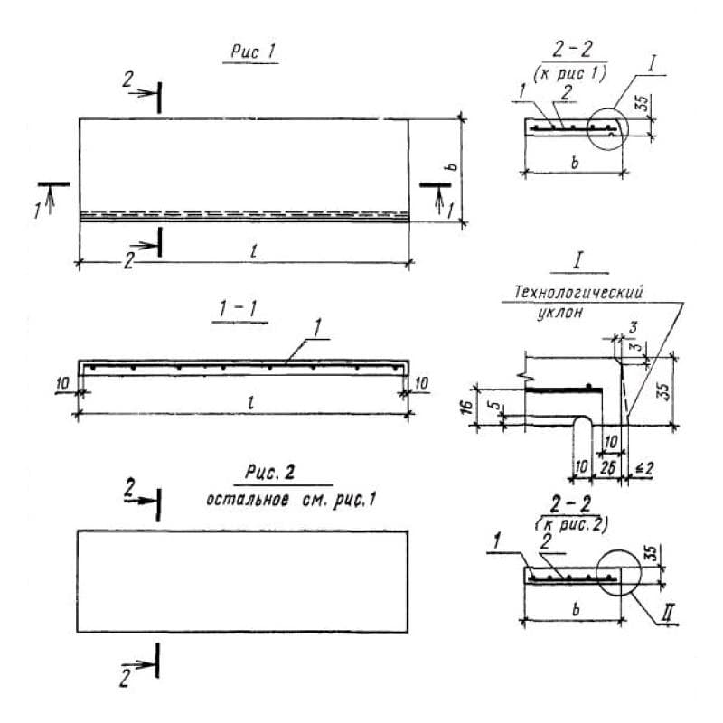
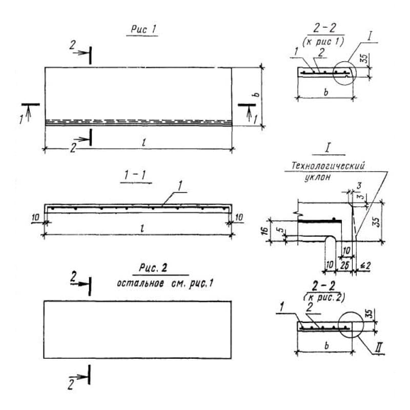
ГОСТ 6785-80

200x45x1600ПОО 16-20-45
Цена по запросу

250x45x1600ПОО 16-25-45
Цена по запросу

350x45x1600ПОО 16-35-45
Цена по запросу

450x45x1600ПОО 16-45-45
Цена по запросу

150x35x1820ПОО 18-15-35
Цена по запросу

200x35x1820ПОО 18-20-35 (ГОСТ 6785-80)
Цена по запросу

250x35x1820ПОО 18-25-35 (ГОСТ 6785-80)
Цена по запросу

300x35x1820ПОО 18-30-35 (ГОСТ 6785-80)
Цена по запросу

400x35x1820ПОО 18-40-35
Цена по запросу

500x35x1820ПОО 18-50-35
Цена по запросу

150x45x1900ПОО 19-15-45
Цена по запросу

200x45x1900ПОО 19-20-45
Цена по запросу