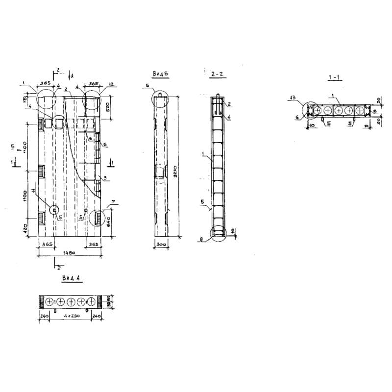
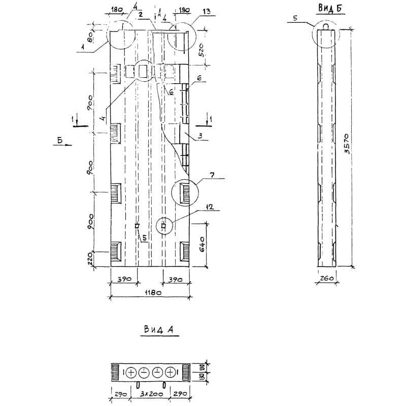
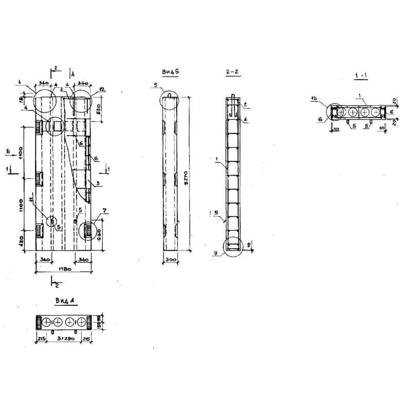
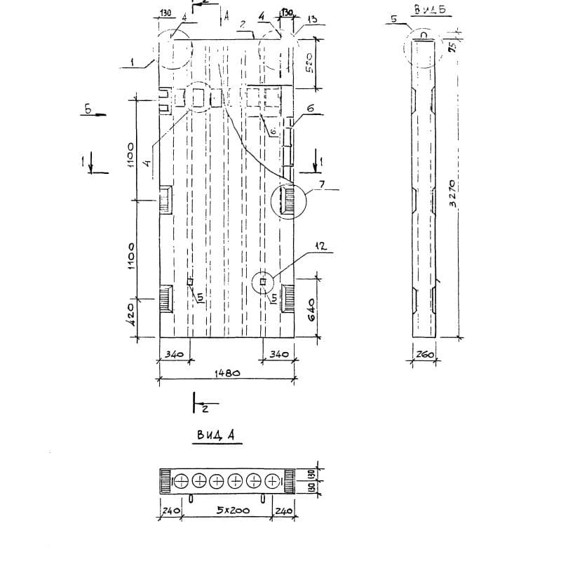
Каталог по сериям

Выбрана серия: Серия 1.034.1-1/90