Каталог по сериям
Выбрана серия: Серия 1.141-1
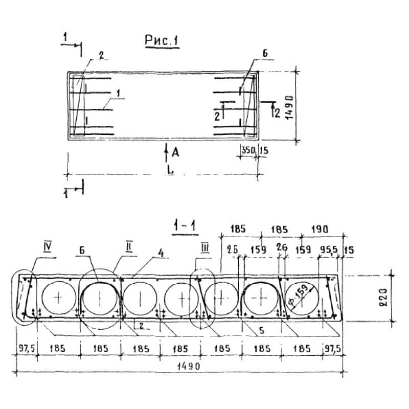
Серия 1.141-1

1490x220x53801ПК 54-15-8 АтV
Цена по запросу

1490x220x53801ПК 54-15-8 АтVа
Цена по запросу

1790x220x53801ПК 54-18-4 АтV
Цена по запросу

1790x220x53801ПК 54-18-4 АтVа
Цена по запросу

1790x220x53801ПК 54-18-5,5 АтV
Цена по запросу

1790x220x53801ПК 54-18-5,5 АтVа
Цена по запросу

1790x220x53801ПК 54-18-7 АтV
Цена по запросу

1790x220x53801ПК 54-18-7 АтVа
Цена по запросу

1790x220x53801ПК 54-18-8 (ГОСТ 26434-2015)
Цена по запросу

1190x220x56501ПК 56-12-8 КН 0-АIIIв
Цена по запросу

1490x220x56501ПК 56-15-8 КН 0-АIII
Цена по запросу

990x220x56801ПК 57-10-8 (ГОСТ 26434-2015)
Цена по запросу