Каталог по сериям
Выбрана серия: Серия 1.832-5
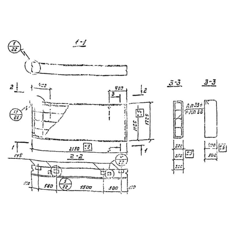
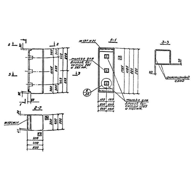
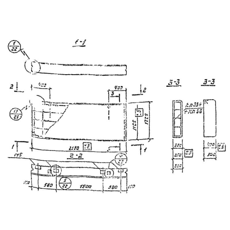
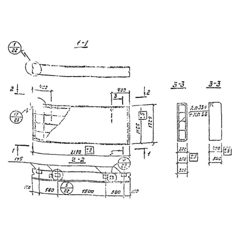
Серия 1.832-5

300x1185x2980СПСЛ 30-1,2-3-112 (1.832-5)
Цена по запросу

300x1185x5980СПСЛ 30-1,2-6-111 (1.832-5)
Цена по запросу

300x1185x5980СПСЛ 30-1,2-6-112 (1.832-5)
Цена по запросу

300x1185x5980СПСЛ 30-1,2-6-311 (1.832-5)
Цена по запросу

300x1185x5980СПСЛ 30-1,2-6-411 (1.832-5)
Цена по запросу

300x1185x5980СПСЛ 30-1,2-6-412 (1.832-5)
Цена по запросу

300x1785x300СПСЛ 30-1,8-0,3-801 (1.832-5)
Цена по запросу

300x1785x1480СПСЛ 30-1,8-1,5-111 (1.832-5)
Цена по запросу

300x1785x2980СПСЛ 30-1,8-3-111 (1.832-5)
Цена по запросу

300x1785x2980СПСЛ 30-1,8-3-112 (1.832-5)
Цена по запросу

300x1785x5980СПСЛ 30-1,8-6-111 (1.832-5)
Цена по запросу

300x1785x5980СПСЛ 30-1,8-6-112 (1.832-5)
Цена по запросу