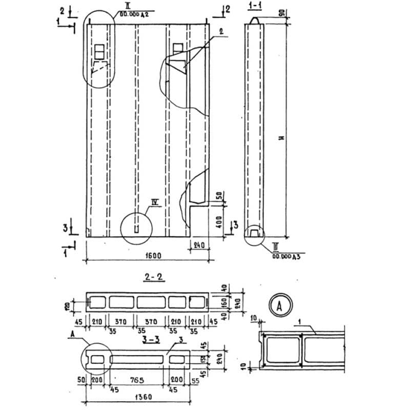
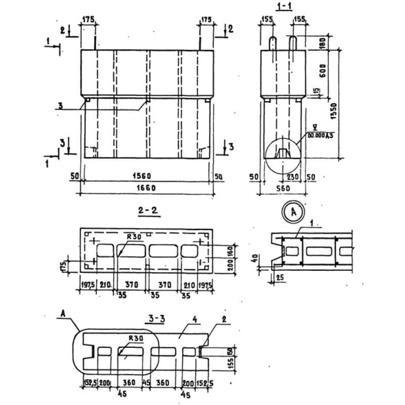
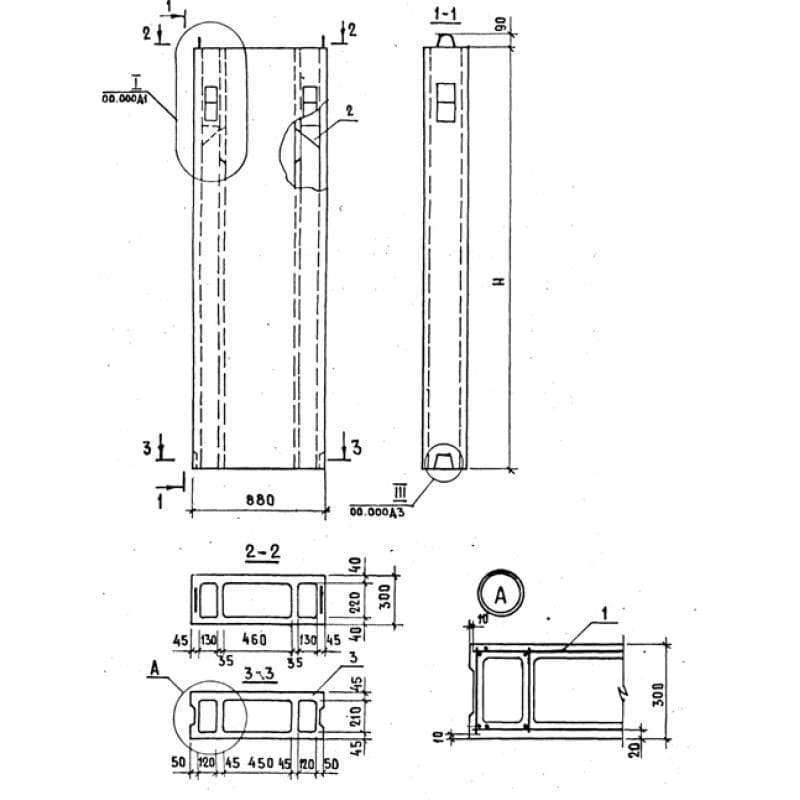
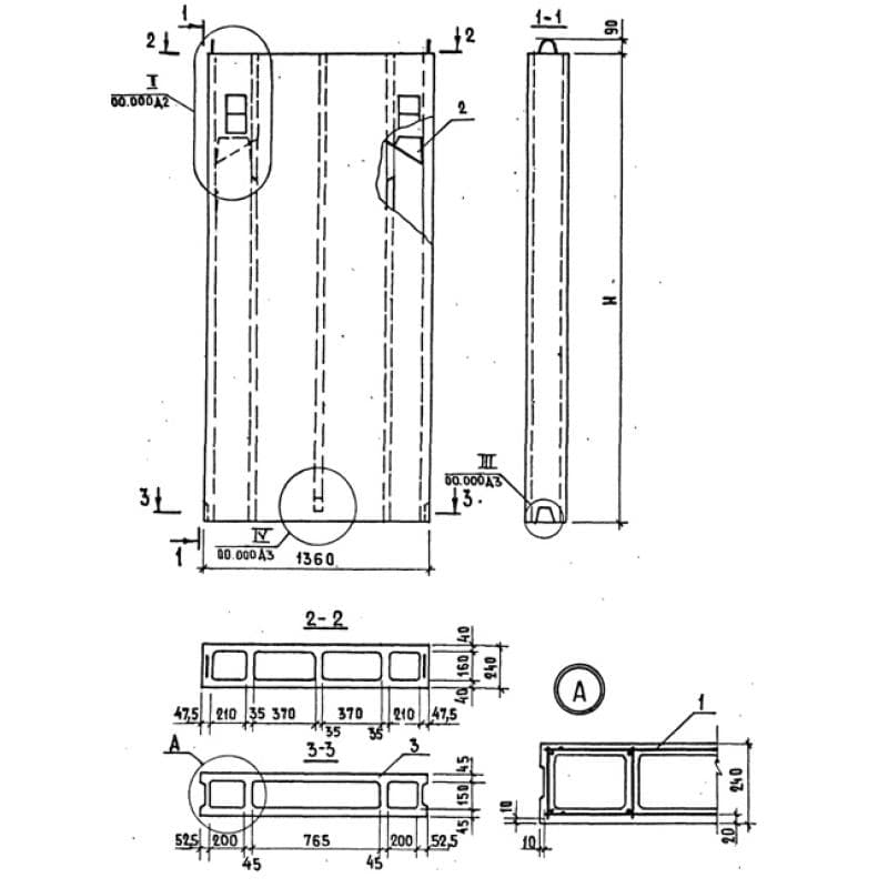
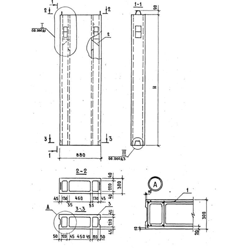
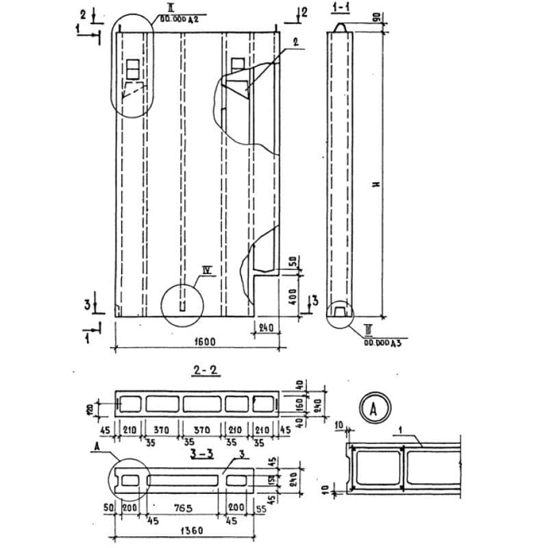
Каталог по сериям

Выбрана серия: Серия 1.134.1-12