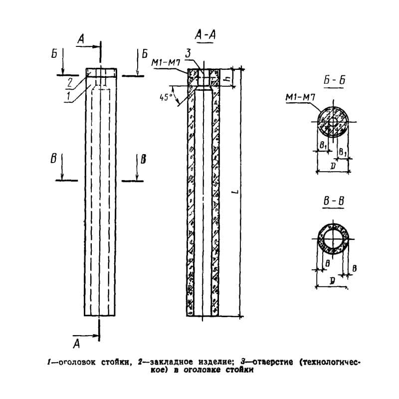
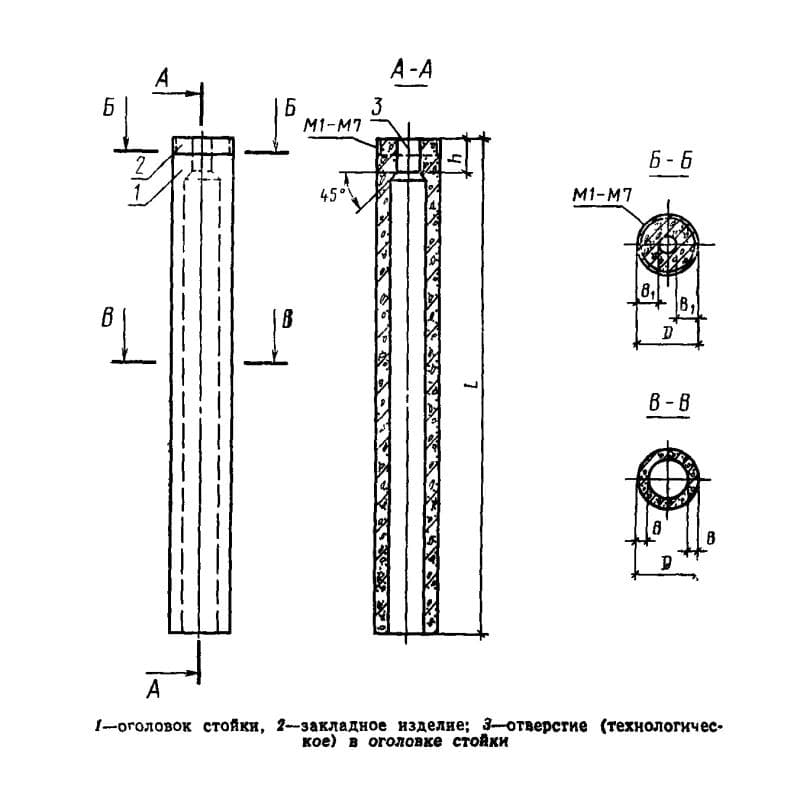
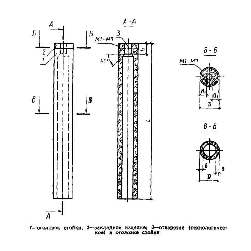
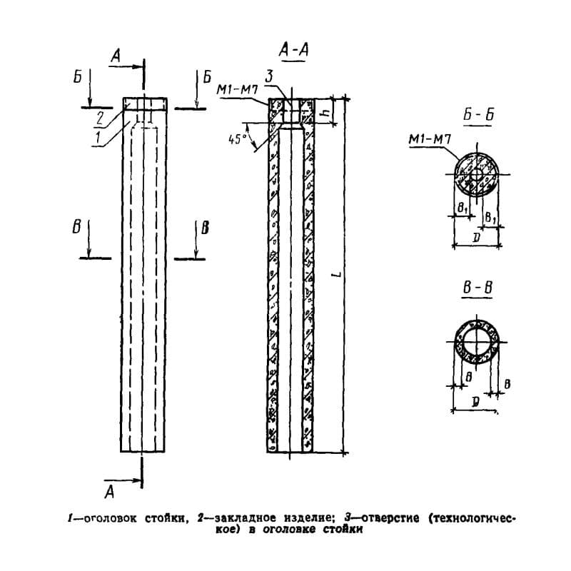
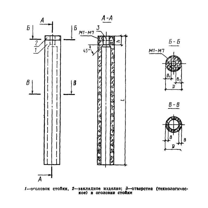
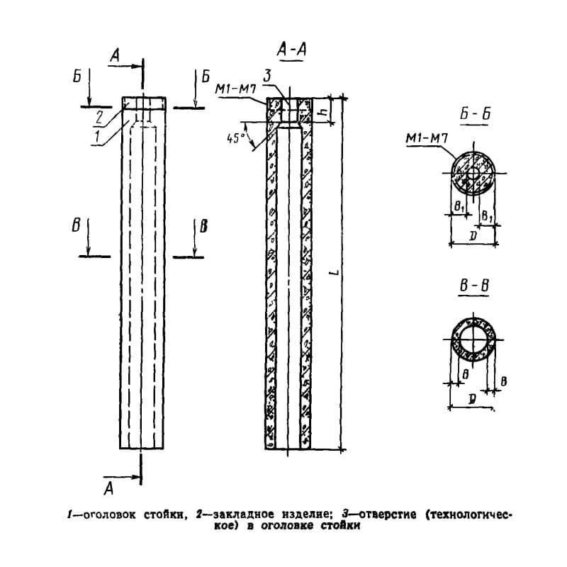
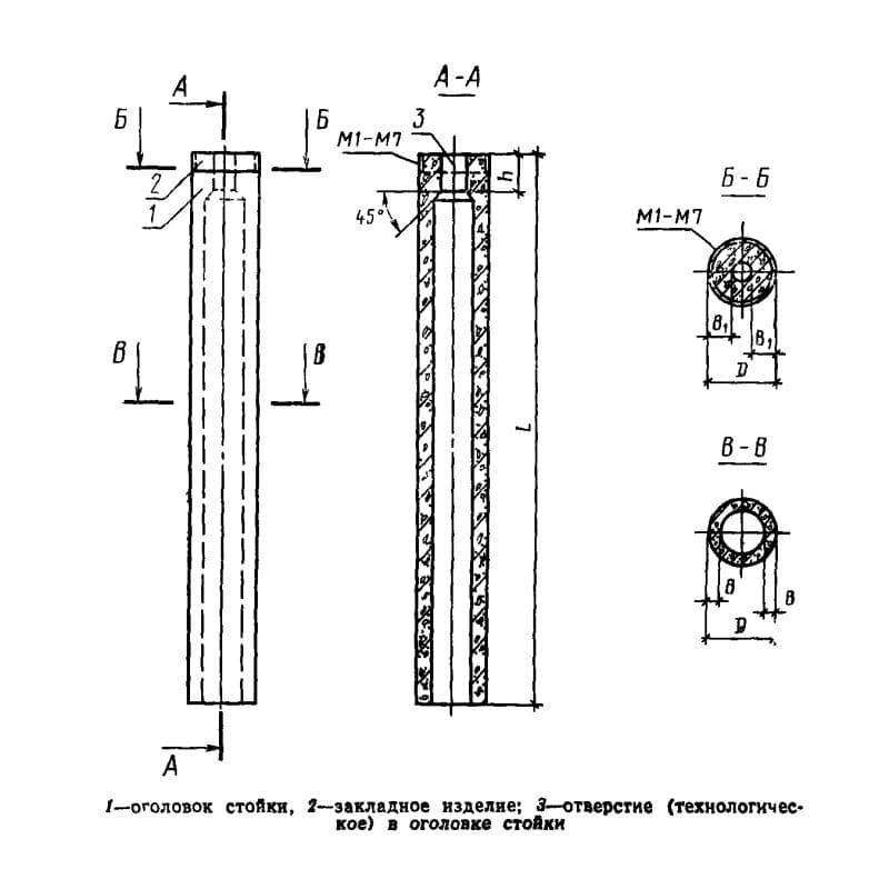
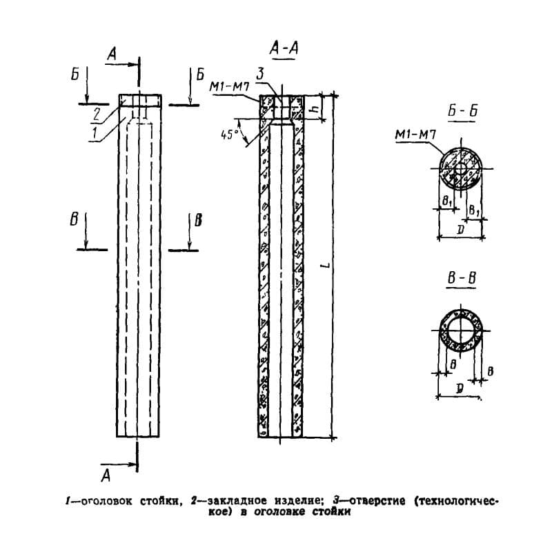
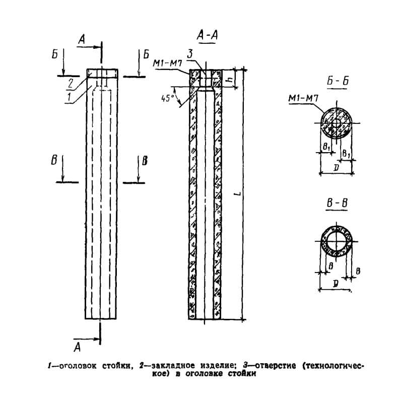
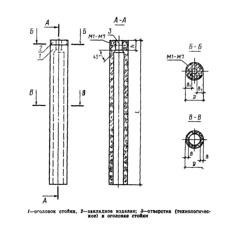
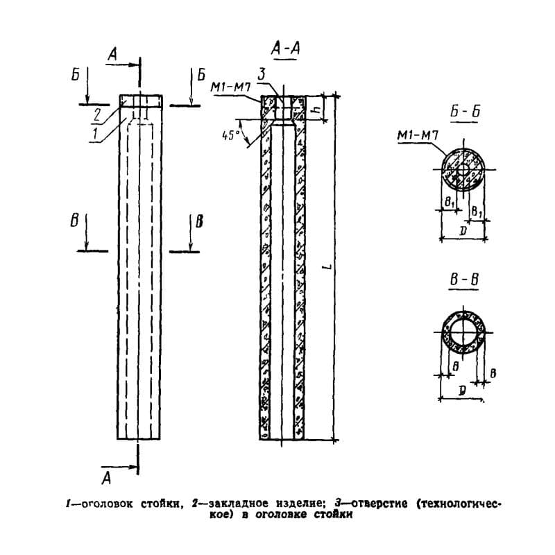
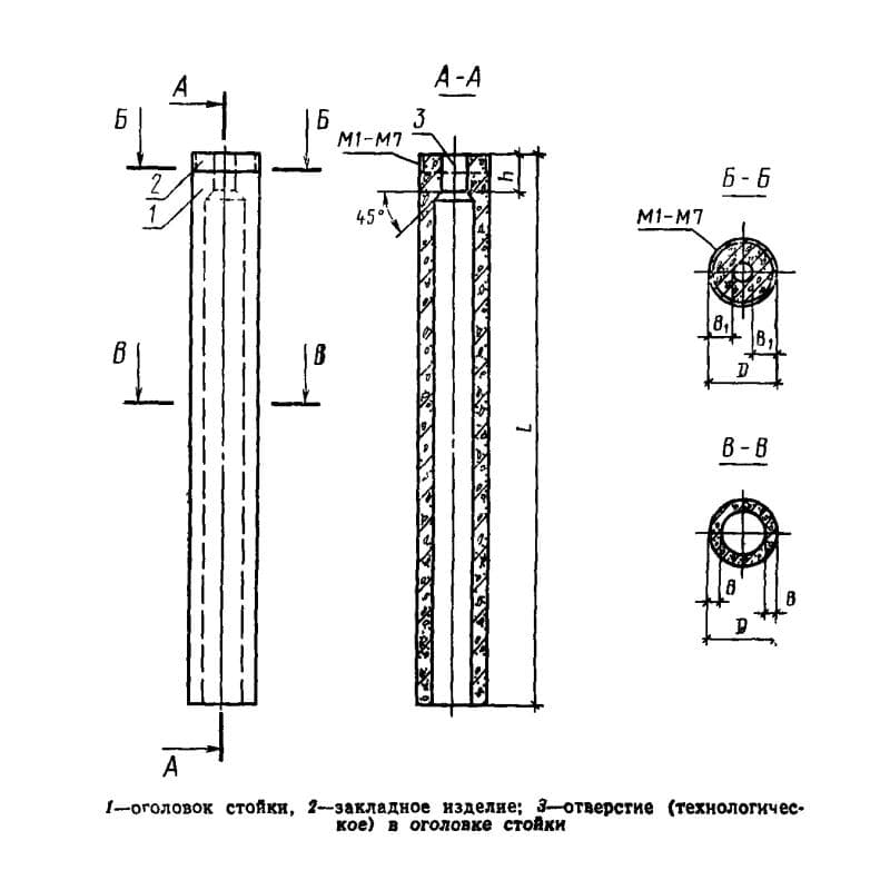
Каталог по сериям

Выбрана серия: ГОСТ 23444-79