Каталог по сериям
Выбрана серия: ГОСТ 6785-80
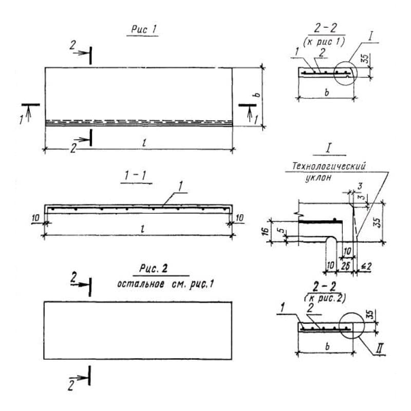
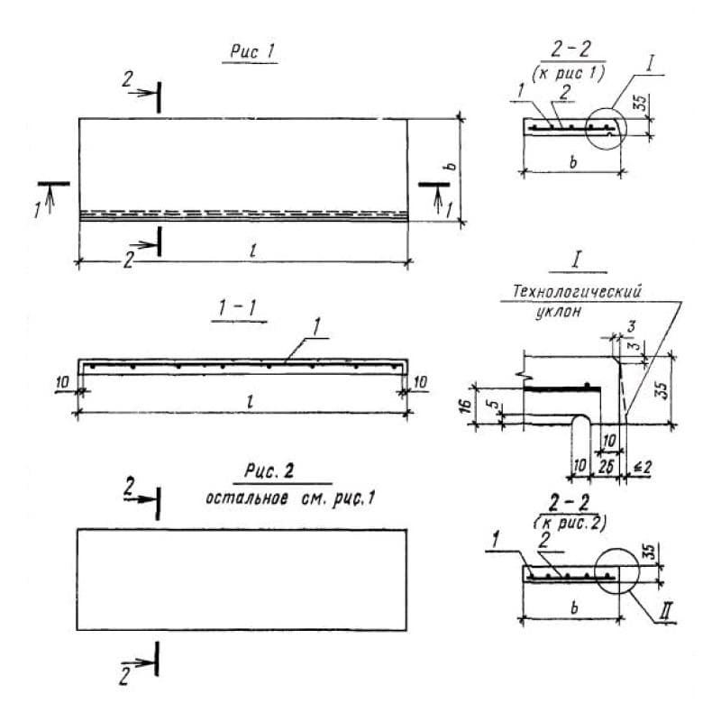
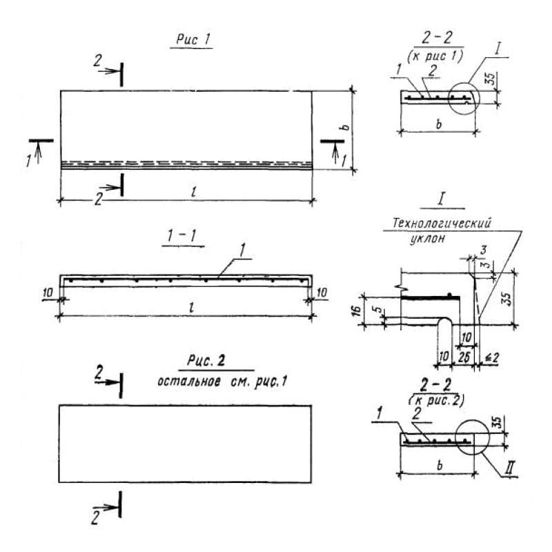
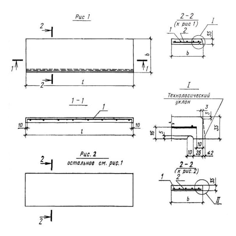
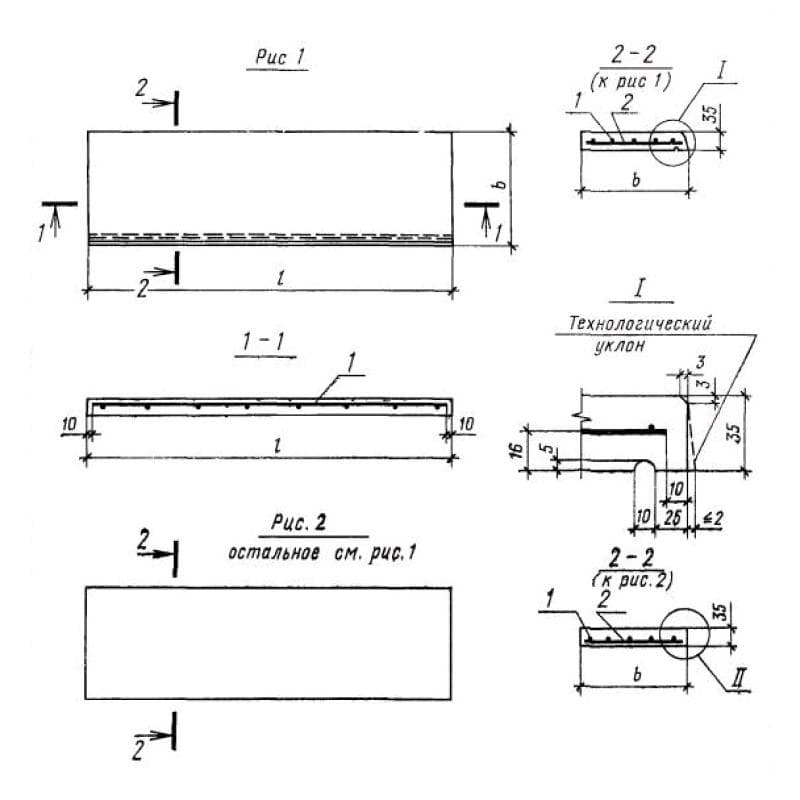
ГОСТ 6785-80

350x45x850ПОГ 8-35-45 (ГОСТ 6785-80)
Цена по запросу

450x45x850ПОГ 8-45-45 (ГОСТ 6785-80)
Цена по запросу

150x45x1000ПОО 10-15-45 (ГОСТ 6785-80)
Цена по запросу

200x45x1000ПОО 10-20-45
Цена по запросу

250x45x1000ПОО 10-25-45
Цена по запросу

350x45x1000ПОО 10-35-45
Цена по запросу

450x45x1000ПОО 10-45-45
Цена по запросу

150x35x1210ПОО 12-15-35
Цена по запросу

200x35x1210ПОО 12-20-35 (ГОСТ 6785-80)
Цена по запросу

250x35x1210ПОО 12-25-35 (ГОСТ 6785-80)
Цена по запросу

300x35x1210ПОО 12-30-35 (ГОСТ 6785-80)
Цена по запросу

400x35x1210ПОО 12-40-35
Цена по запросу