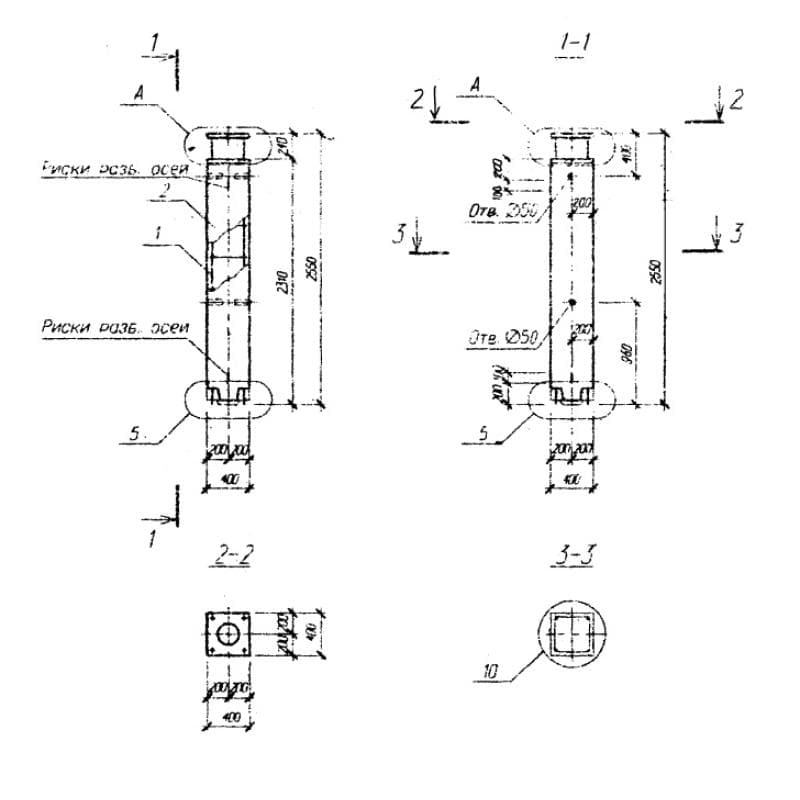
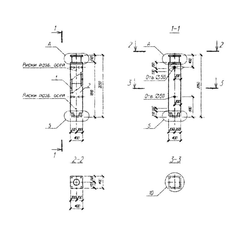
Каталог по сериям

Выбрана серия: Серия Б1.020.1-7