Каталог по сериям
Выбрана серия: Серия 1.155-1
Серия 1.155-1

340x171x1200ЛС 12-17 (1.155-1)
Цена по запросу

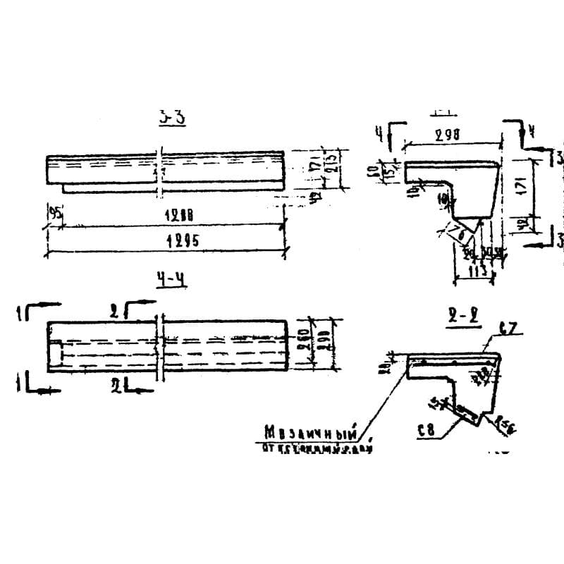
290x171x1295ЛС 12-17 в (1.155-1)
Цена по запросу

290x171x1200ЛС 12-17 к (1.155-1)
Цена по запросу

290x142x1200ЛС 12-17 н (1.155-1)
Цена по запросу

290x171x1440ЛС 12-17 п (1.155-1)
Цена по запросу

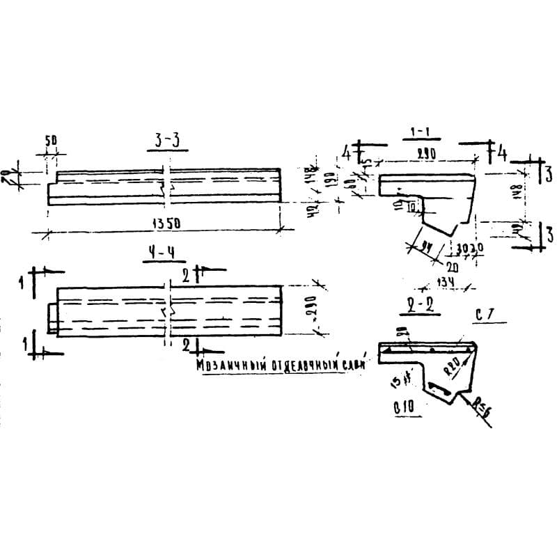
380x148x1350ЛС 14 (1.155-1)
Цена по запросу

290x148x1445ЛС 14 в (1.155-1)
Цена по запросу

290x148x1350ЛС 14 к (1.155-1)
Цена по запросу

290x124x1350ЛС 14 н (1.155-1)
Цена по запросу

290x148x1590ЛС 14 п (1.155-1)
Цена по запросу

380x148x1500ЛС 15 (1.155-1)
Цена по запросу

290x148x1595ЛС 15 в (1.155-1)
Цена по запросу