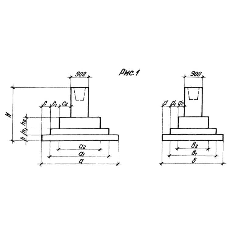
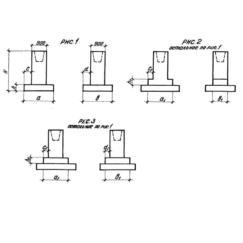
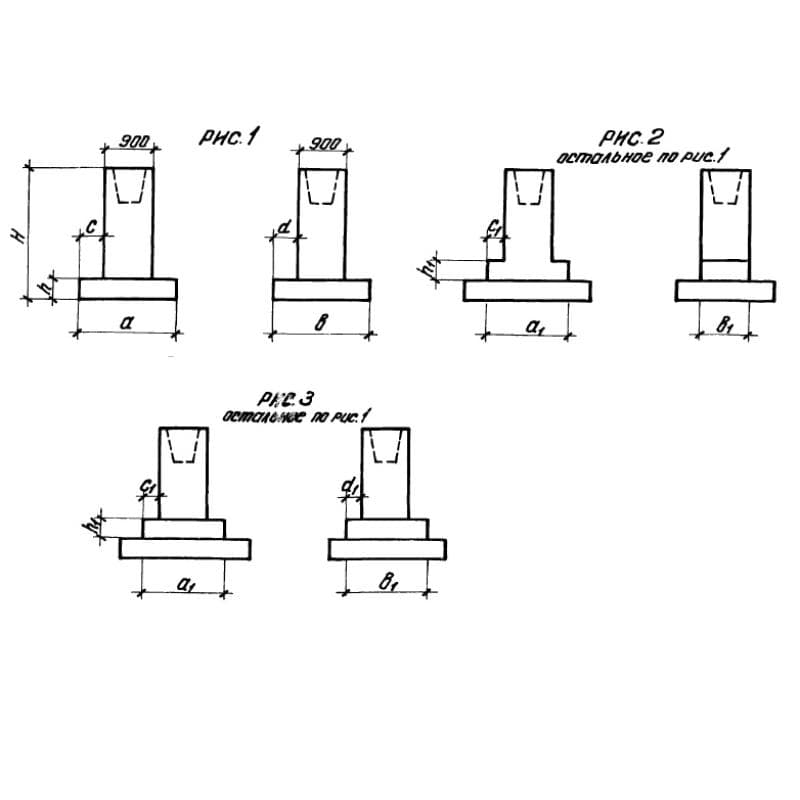
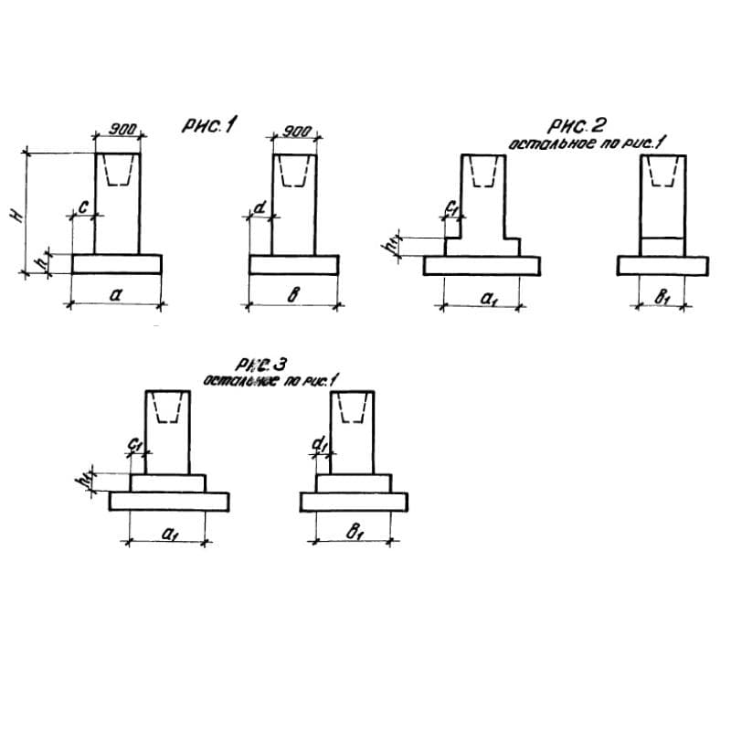
Каталог по сериям
Выбрана серия: Серия 1.412-3/79
Серия 1.412-3/79

4200x4200x5400ФА 16-6 (1.412-3/79)
Цена по запросу

1800x1500x1800ФА 2-1 (1.412-3/79)
Цена по запросу

1800x1800x1800ФА 2-2 (1.412-3/79)
Цена по запросу

1800x2400x1800ФА 2-3 (1.412-3/79)
Цена по запросу

1800x3000x1800ФА 2-4 (1.412-3/79)
Цена по запросу

1800x3600x1800ФА 2-5 (1.412-3/79)
Цена по запросу

1800x4200x1800ФА 2-6 (1.412-3/79)
Цена по запросу

1800x1500x2100ФА 4-1 (1.412-3/79)
Цена по запросу

1800x1800x2100ФА 4-2 (1.412-3/79)
Цена по запросу

1800x2400x2100ФА 4-3 (1.412-3/79)
Цена по запросу

1800x3000x2100ФА 4-4 (1.412-3/79)
Цена по запросу

1800x3600x2100ФА 4-5 (1.412-3/79)
Цена по запросу