Каталог по сериям
Выбрана серия: Серия 1.090.1-6сп
Серия 1.090.1-6сп

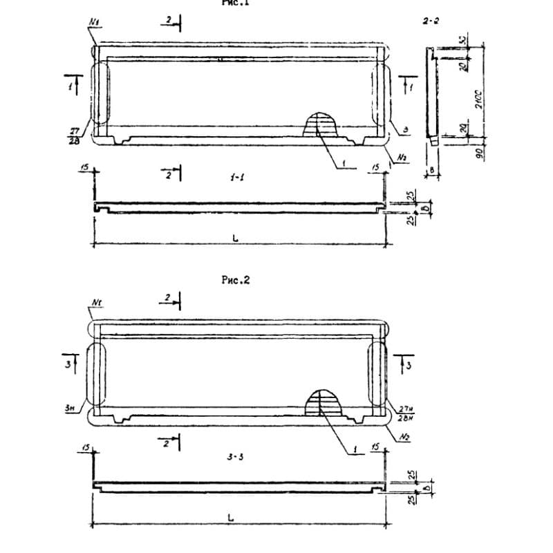
250x2100x61752ПСЦ 62-21-2,5 псп
Цена по запросу

250x2100x61752ПСЦ 62-21-2,5 псп-1
Цена по запросу

300x2100x62152ПСЦ 62-21-3,0 псп
Цена по запросу

300x2100x62152ПСЦ 62-21-3,0 псп-1
Цена по запросу

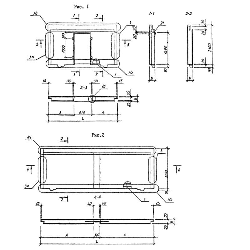
250x2100x71902ПСЦ 72-21-2,5 псп
Цена по запросу

250x2100x71902ПСЦ 72-21-2,5 псп-1
Цена по запросу

300x2100x71902ПСЦ 72-21-3,0 псп
Цена по запросу

300x2100x71902ПСЦ 72-21-3,0 псп-1
Цена по запросу

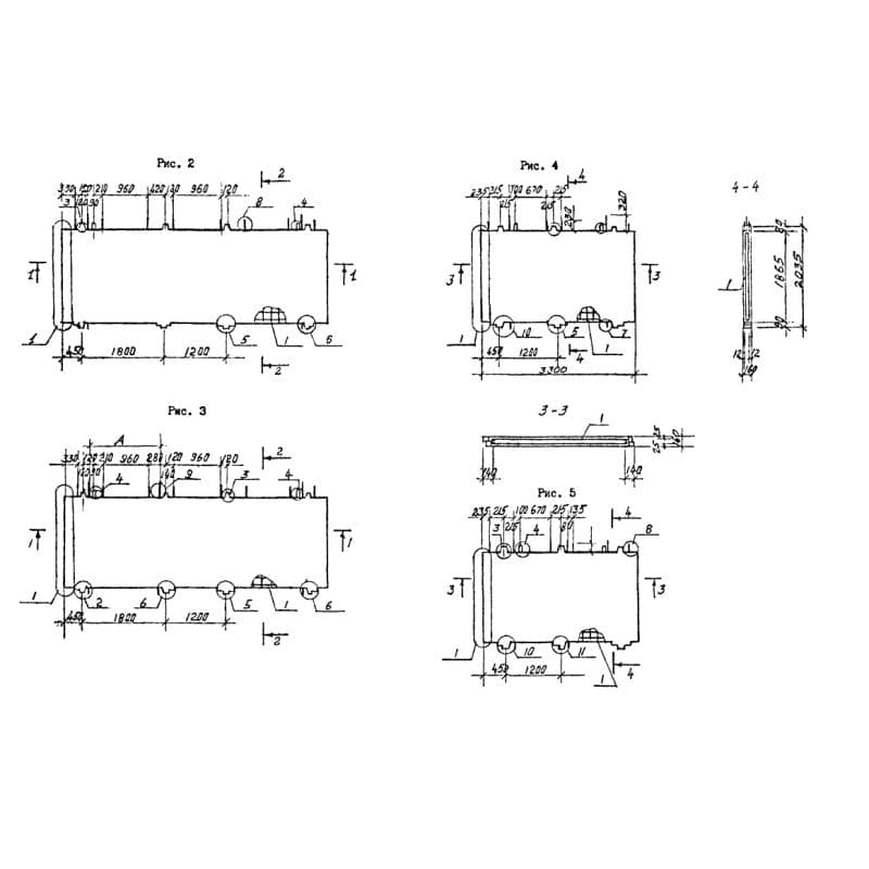
160x2035x2700ПВЦ 27-20 т сп
Цена по запросу

160x2035x2700ПВЦ 27-20 т сп-1
Цена по запросу

160x2035x2700ПВЦ 27-20-07 т сп9
Цена по запросу

160x2035x2700ПВЦ 27-20-07 т сп9-1
Цена по запросу