Каталог по сериям
Выбрана серия: ГОСТ 8484-82
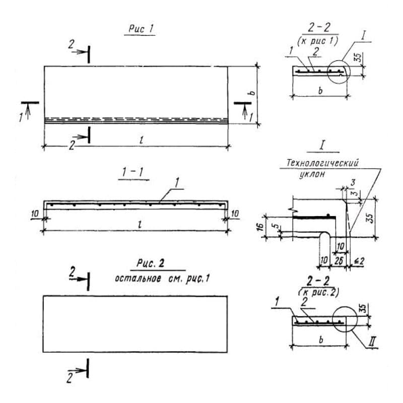
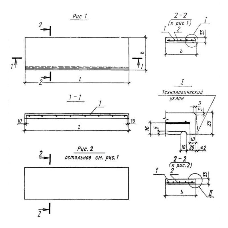
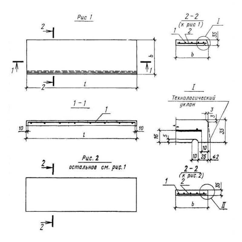
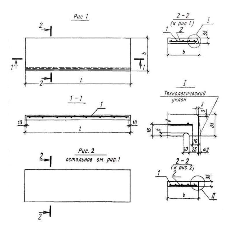
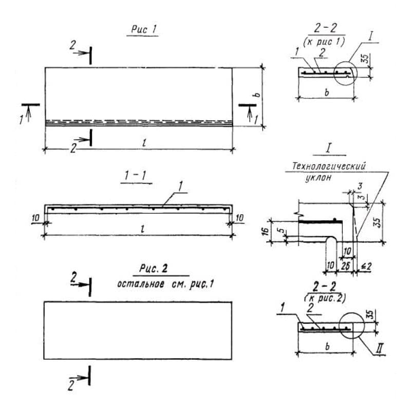
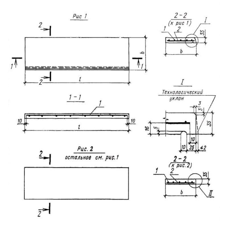
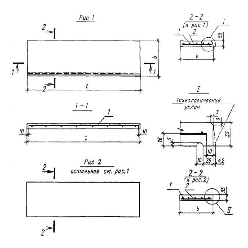
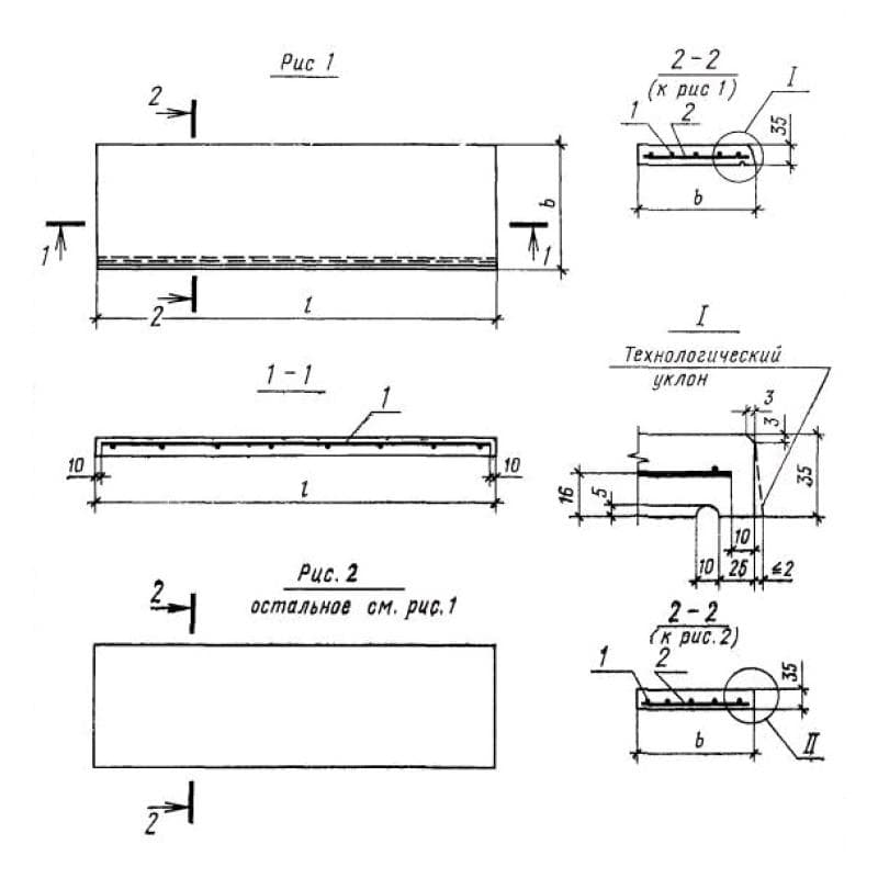
ГОСТ 8484-82

100x35x300ПО 3-10-35
Цена по запросу

100x35x300ПО 3-10-35 с
Цена по запросу

100x35x300ПО 3-10-35 т
Цена по запросу

150x35x300ПО 3-15-35
Цена по запросу

150x35x300ПО 3-15-35 с
Цена по запросу

150x35x300ПО 3-15-35 т
Цена по запросу

200x35x300ПО 3-20-35
Цена по запросу

200x35x300ПО 3-20-35 с
Цена по запросу

200x35x300ПО 3-20-35 т
Цена по запросу

100x35x500ПО 5-10-35
Цена по запросу

100x35x500ПО 5-10-35 с
Цена по запросу

100x35x500ПО 5-10-35 т
Цена по запросу