Каталог по сериям
Выбрана серия: Серия 1.238-1
Серия 1.238-1

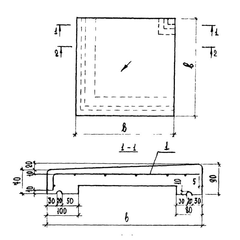
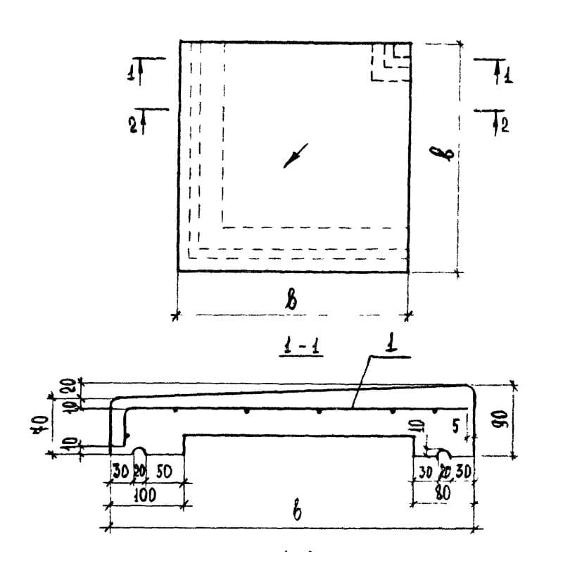
470x90x470АП 5-5-2
Цена по запросу

600x90x600АП 6-6-1
Цена по запросу

600x90x600АП 6-6-2
Цена по запросу

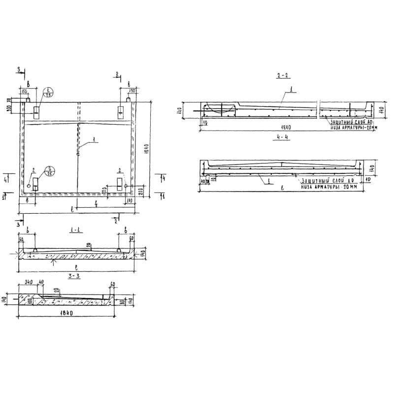
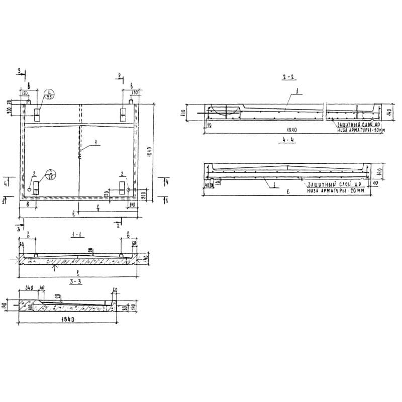
1840x140x1550КВ 16
Цена по запросу

1840x140x1550КВ 16-1
Цена по запросу

1550x140x1840КВ 18-16
Цена по запросу

1550x80x1840КВ 18-16 т
Цена по запросу

1550x140x1840КВ 18-16 т-1
Цена по запросу

1880x80x1790КВ 18-19-13
Цена по запросу

1880x80x1790КВ 18-19-6
Цена по запросу

2200x140x1840КВ 18-22
Цена по запросу

2200x80x1840КВ 18-22 т
Цена по запросу