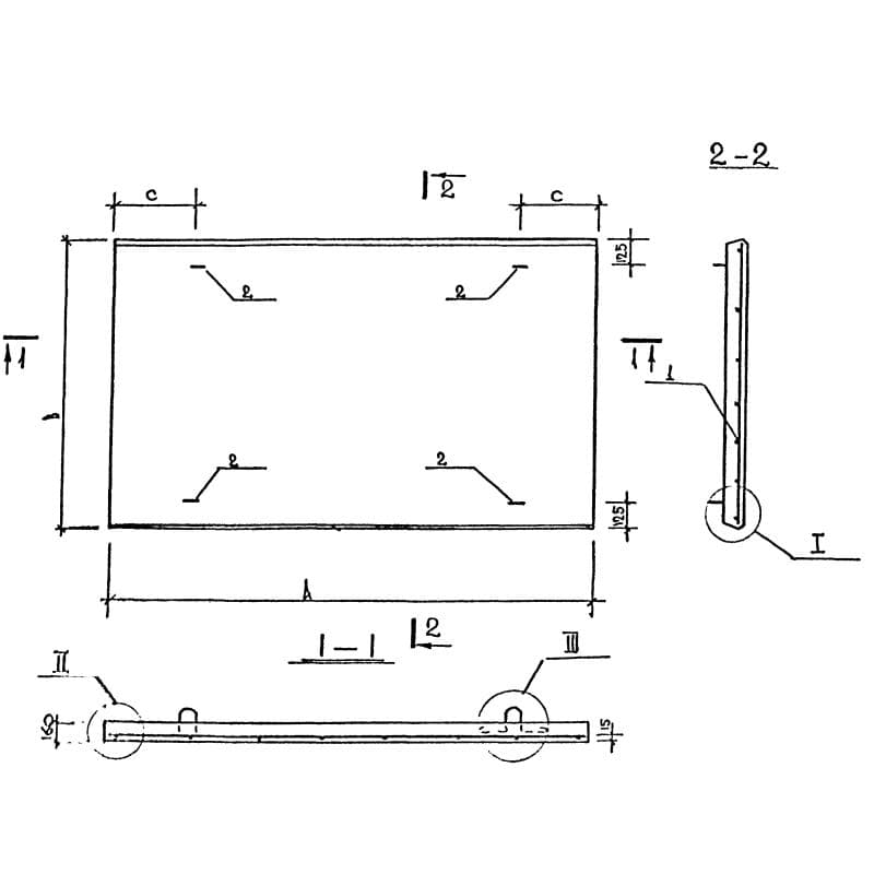
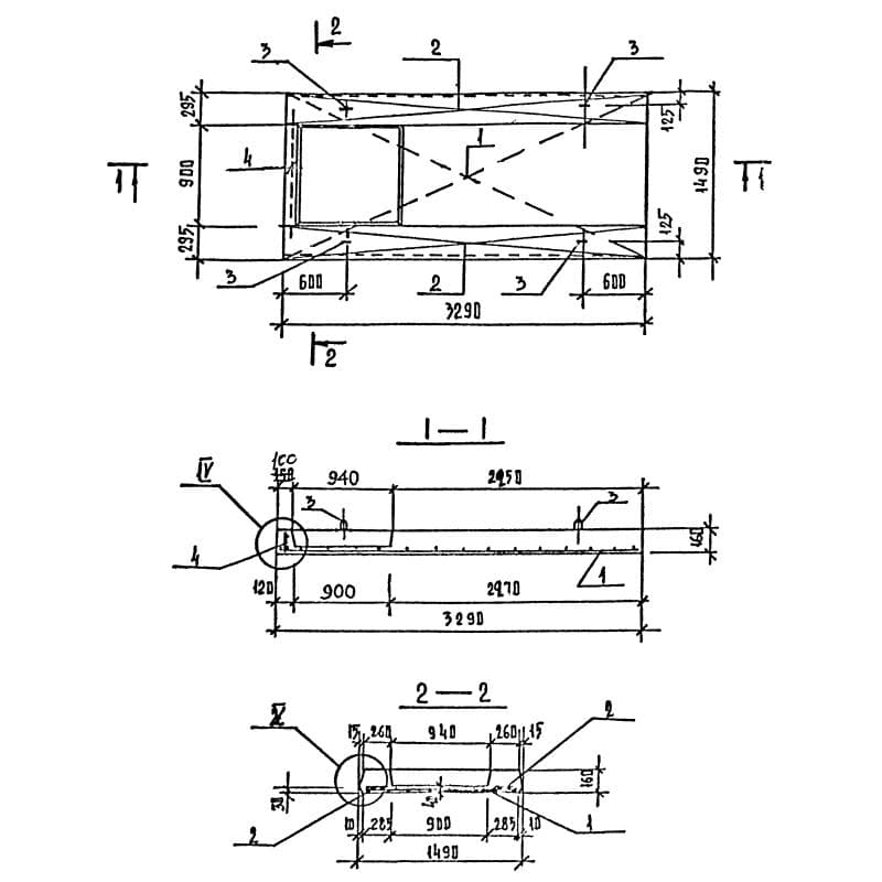
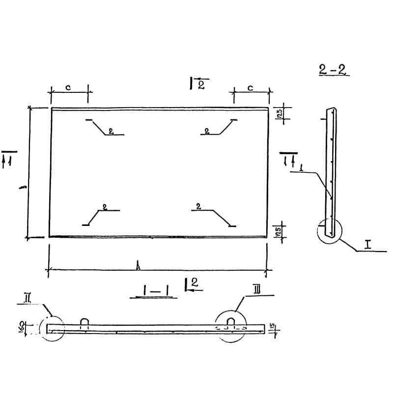
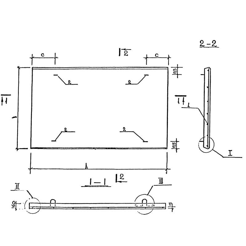
Каталог по сериям

Выбрана серия: Серия 1.243.1 КЛ-3