Каталог по сериям
Выбрана серия: Серия 1.090.1-1/88
Серия 1.090.1-1/88

2100x350x14453ПСЦ 15-21-3,5
Цена по запросу

2100x300x20453ПСЦ 21-21-3,0
Цена по запросу

2100x350x20453ПСЦ 21-21-3,5
Цена по запросу

2100x300x32453ПСЦ 33-21-3,0
Цена по запросу

2100x350x32453ПСЦ 33-21-3,5
Цена по запросу

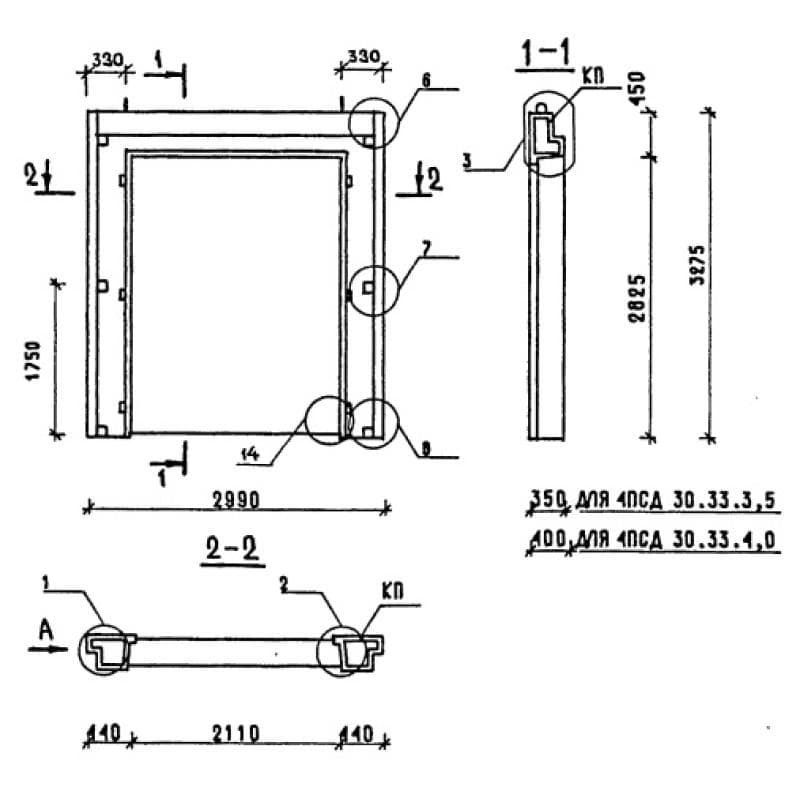
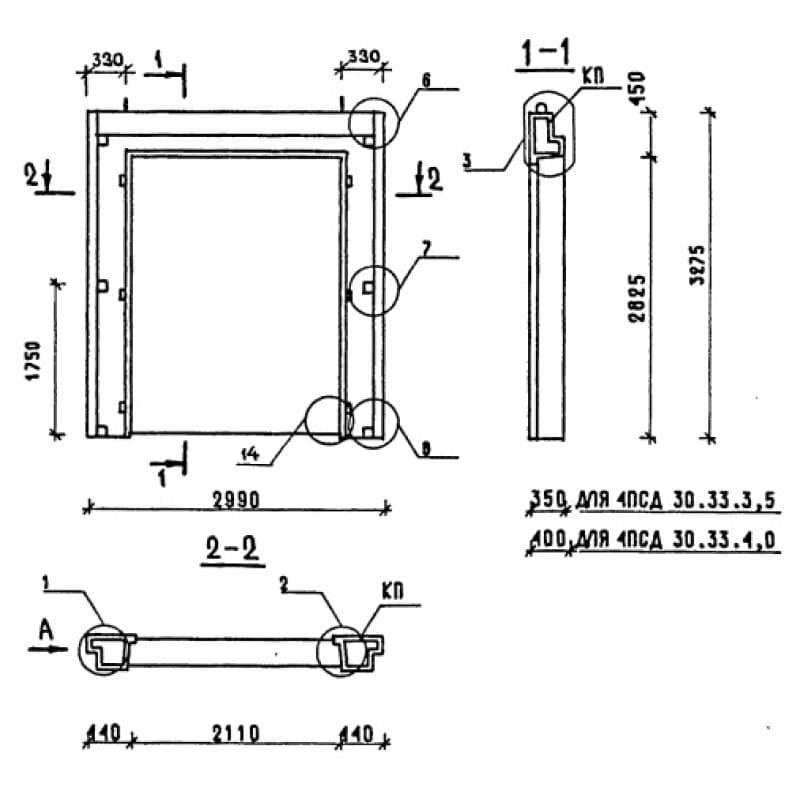
3275x350x29904ПСД 30-33-3,5
Цена по запросу

3275x350x29904ПСД 30-33-3,5 пт
Цена по запросу

3275x400x29904ПСД 30-33-4,0
Цена по запросу

3275x400x29904ПСД 30-33-4,0 пт
Цена по запросу

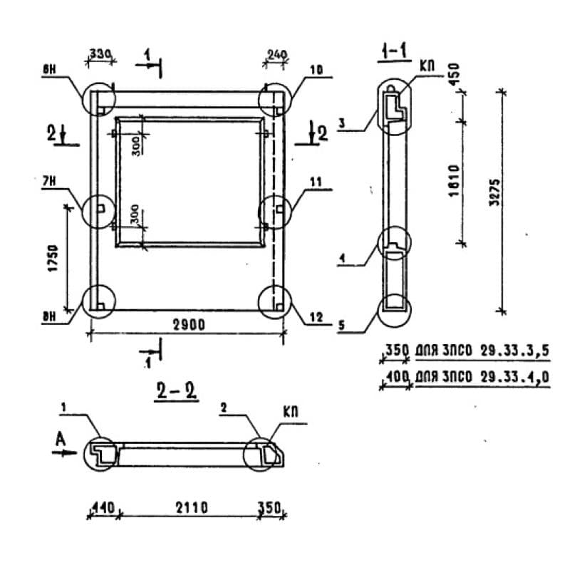
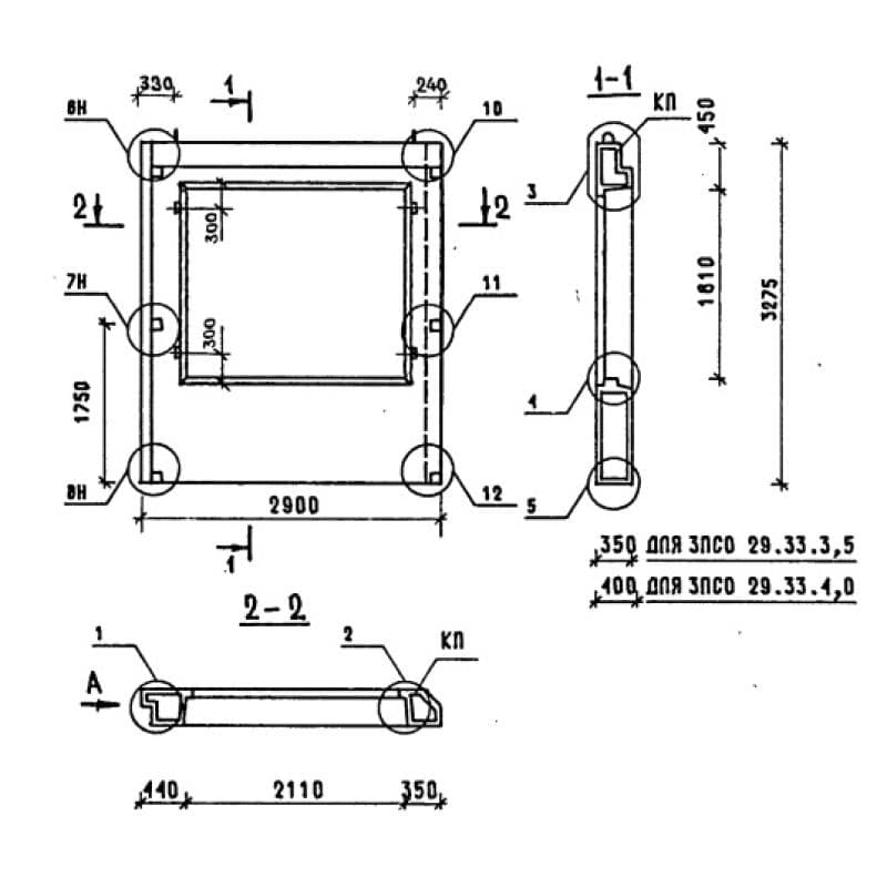
3275x350x29004ПСО 29-33-3,5
Цена по запросу

3275x350x29004ПСО 29-33-3,5 пт
Цена по запросу

3275x400x29004ПСО 29-33-4,0
Цена по запросу