Каталог по сериям
Выбрана серия: Серия 1.116-1
Серия 1.116-1

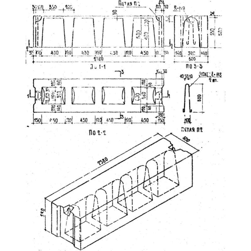
600x580x2380ФС 6 (1.116-1)
Цена по запросу

600x580x2380ФС 6 п
Цена по запросу

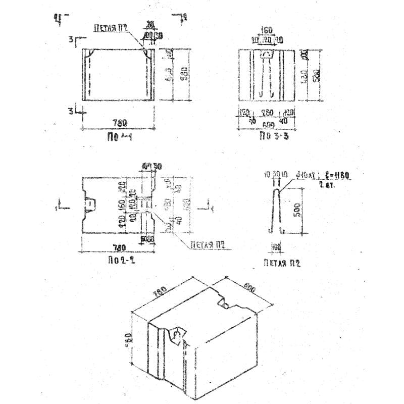
600x580x780ФС 6-8 (1.116-1)
Цена по запросу

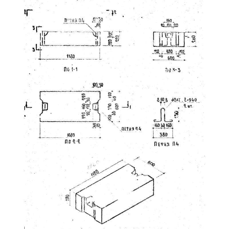
400x280x1180ФСН 4 (1.116-1)
Цена по запросу

500x280x1180ФСН 5 (1.116-1)
Цена по запросу

600x280x1180ФСН 6 (1.116-1)
Цена по запросу

300x580x2380ФС 3 (1.116-1)
Цена по запросу

300x580x780ФС 3-8 (1.116-1)
Цена по запросу

400x580x2380ФС 4 (1.116-1)
Цена по запросу

400x580x2380ФС 4 п
Цена по запросу

400x580x780ФС 4-8 (1.116-1)
Цена по запросу

500x580x2380ФС 5 (1.116-1)
Цена по запросу