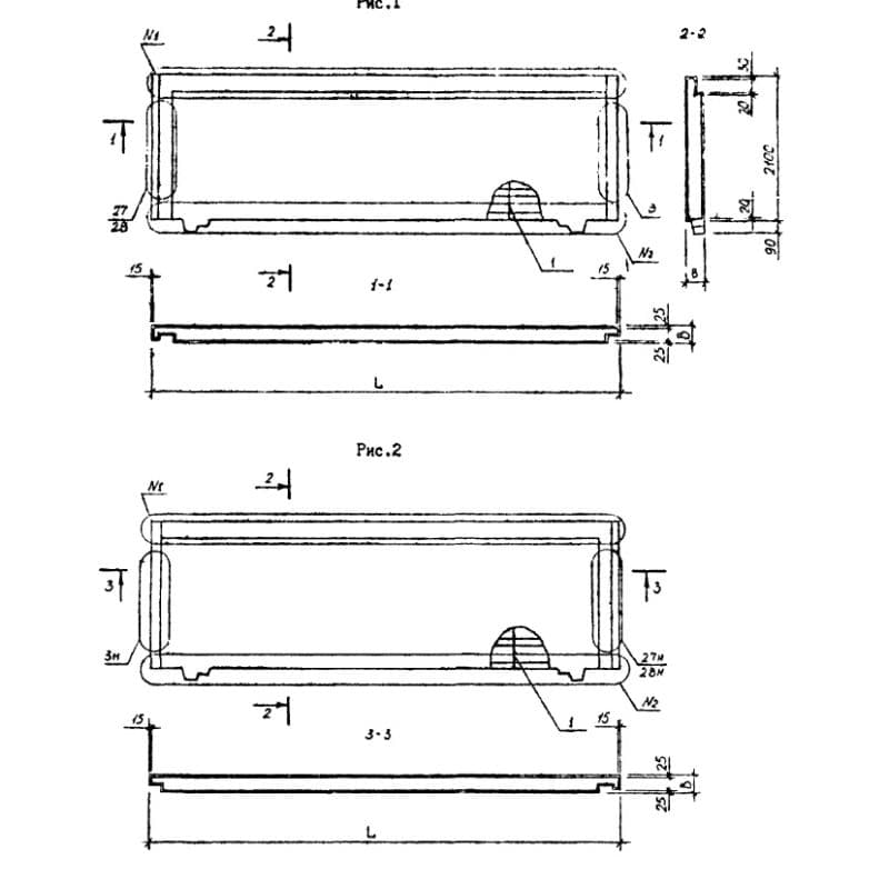
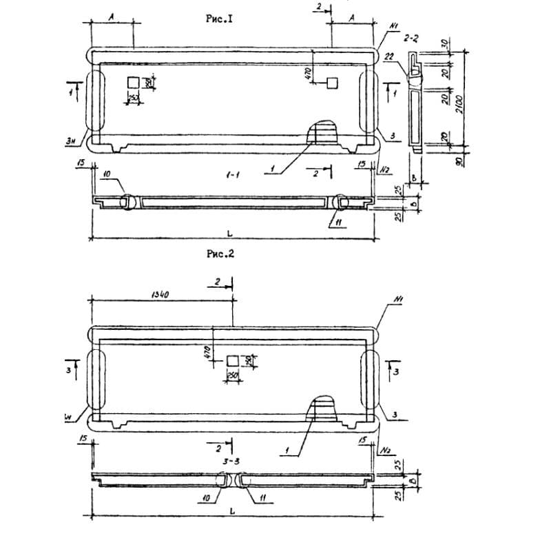
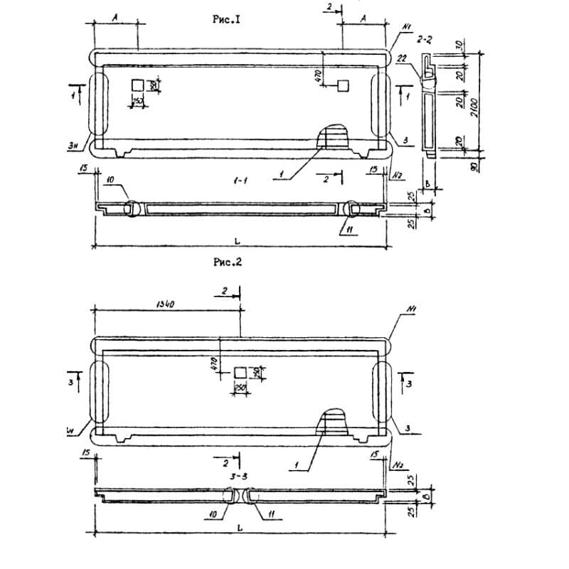
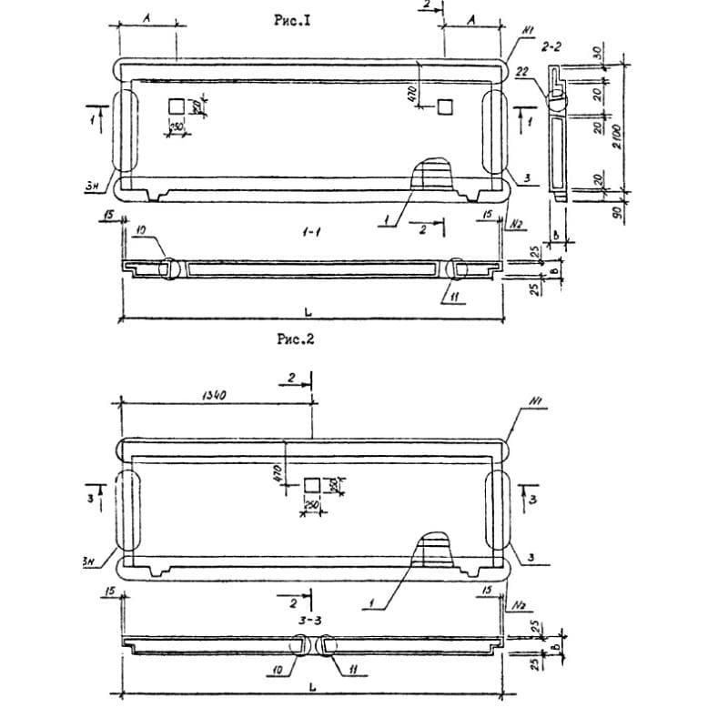
Каталог по сериям

Выбрана серия: Серия 1.090.1-6сп