Каталог по сериям
Выбрана серия: Серия 3.016.1-9
Серия 3.016.1-9

60x80x1080ПК 2
Цена по запросу

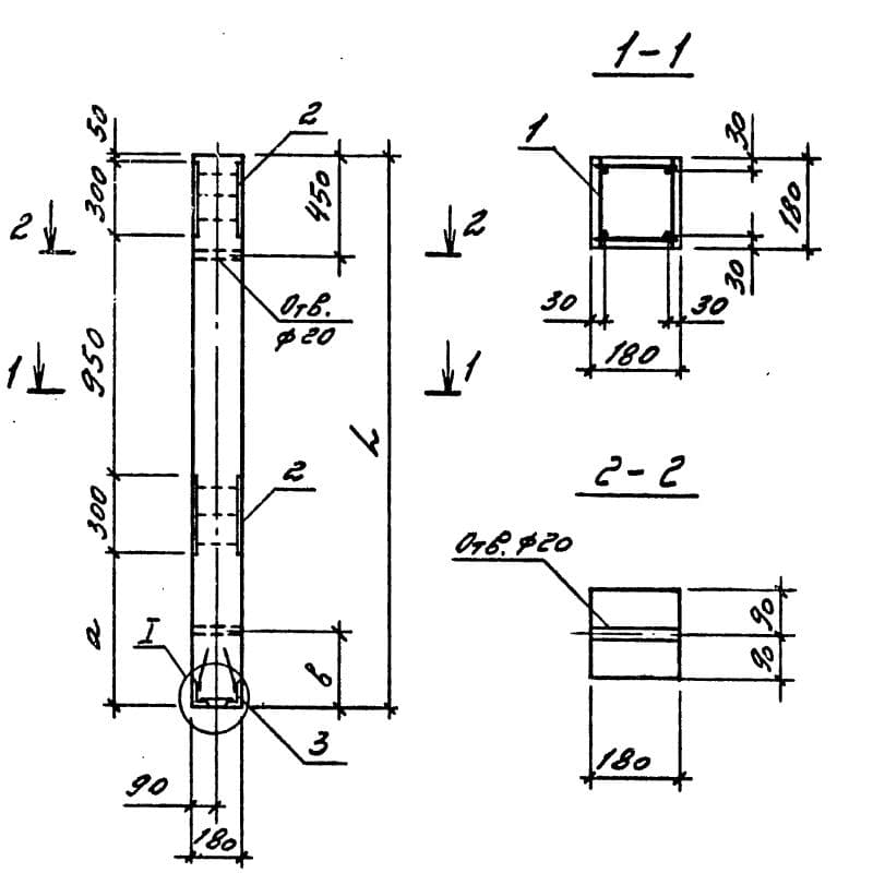
180x180x2200С 5 б-1-1
Цена по запросу

180x180x2200С 5 б-2-1
Цена по запросу

180x180x2700С 5 в-1-1
Цена по запросу

180x180x2650СК 1
Цена по запросу

180x180x3050СК 2
Цена по запросу

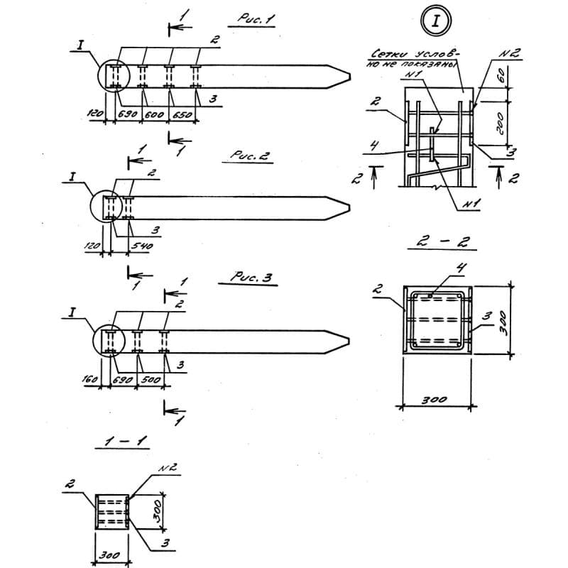
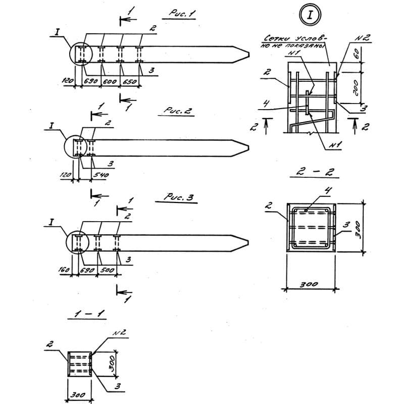
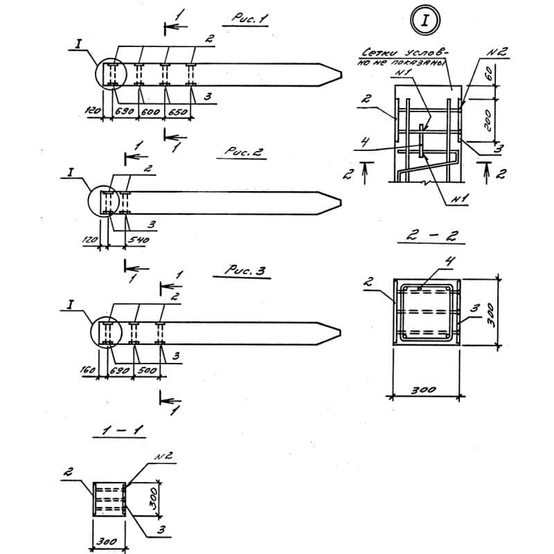
300x300x10000СН 10-30-1
Цена по запросу

300x300x10000СН 10-30-2
Цена по запросу

300x300x12000СН 12-30-1
Цена по запросу

300x300x9000СН 9-30-1
Цена по запросу

300x300x3000СП 3-30-1
Цена по запросу