Каталог по сериям
Выбрана серия: Серия 1.251-3
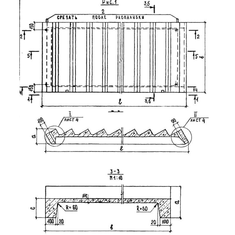
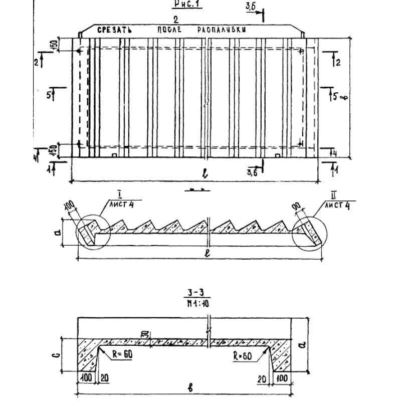
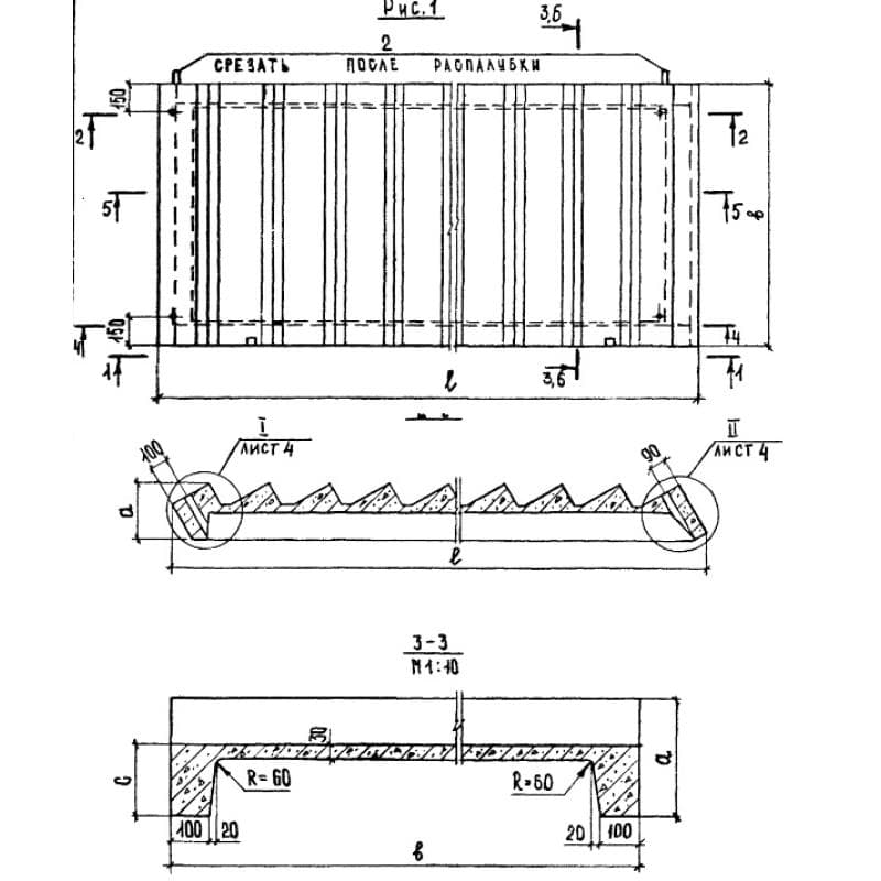
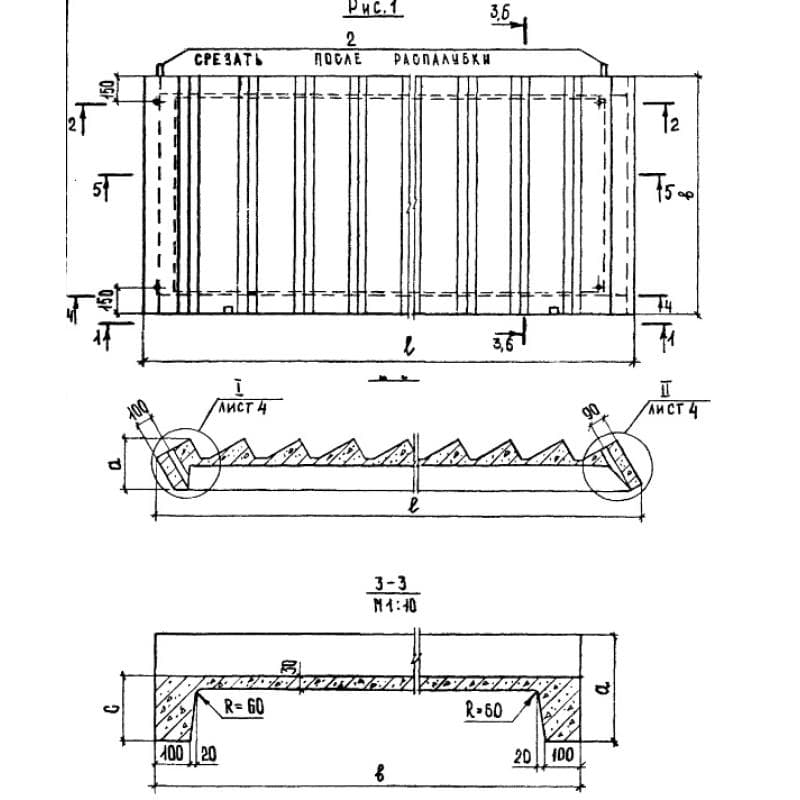
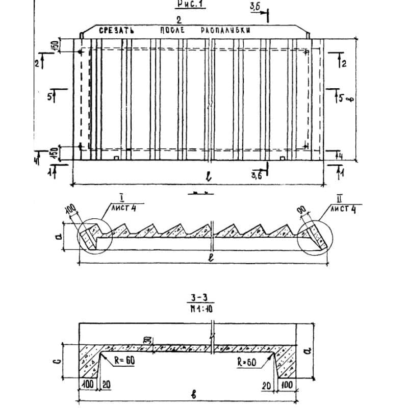
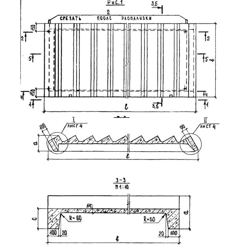
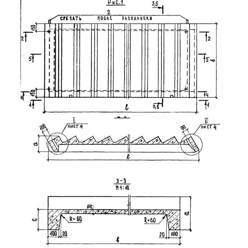
Серия 1.251-3

325x35x1500ЛН 15 (1.251-3)
Цена по запросу

245x35x1620ЛН 15 в (1.251-3)
Цена по запросу

245x35x1500ЛН 15 к (1.251-3)
Цена по запросу

220x35x1500ЛН 15 н (1.251-3)
Цена по запросу

1200x1650x3913ЛМ 17-12
Цена по запросу

1200x1650x3913ЛМ 17-12
Цена по запросу

1200x1650x3913ЛМ 17-12 л
Цена по запросу

1350x1650x3913ЛМ 17-13
Цена по запросу

1350x1650x3913ЛМ 17-13 л
Цена по запросу

1500x1650x3913ЛМ 17-15
Цена по запросу

1500x1650x3913ЛМ 17-15 л
Цена по запросу

1200x1800x4249ЛМ 18-12
Цена по запросу