Каталог по сериям
Выбрана серия: Серия 1.412-3/79
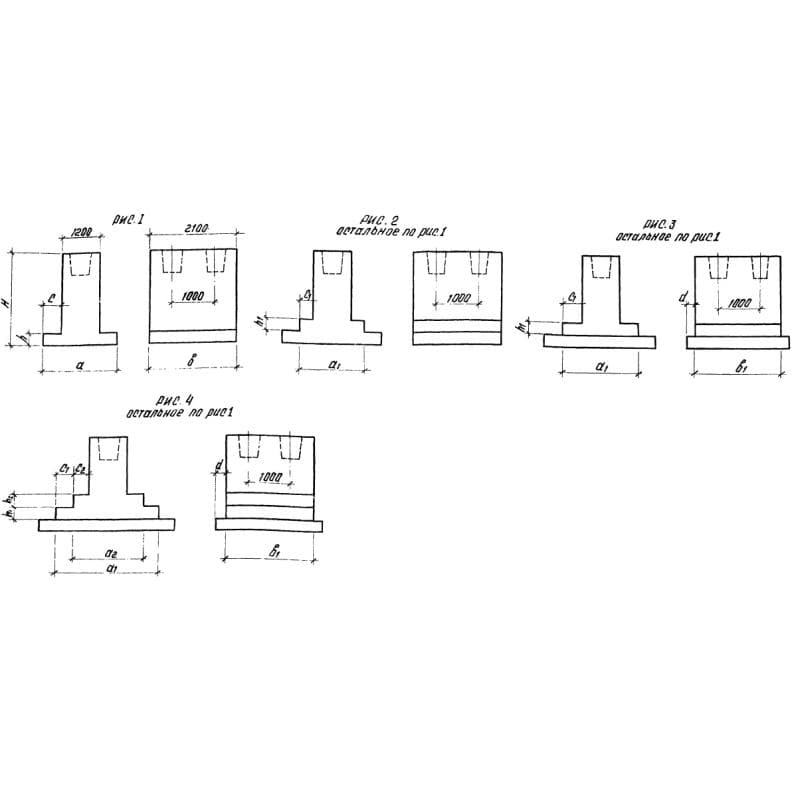
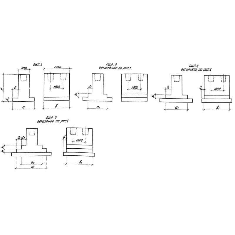
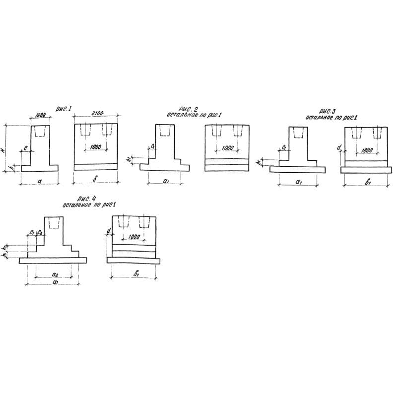
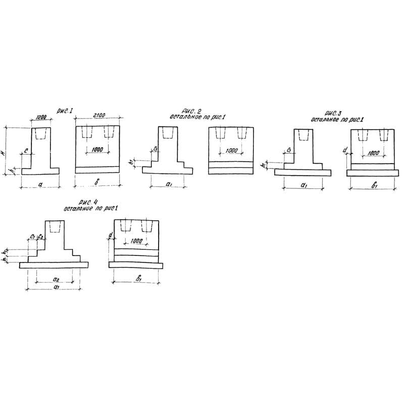
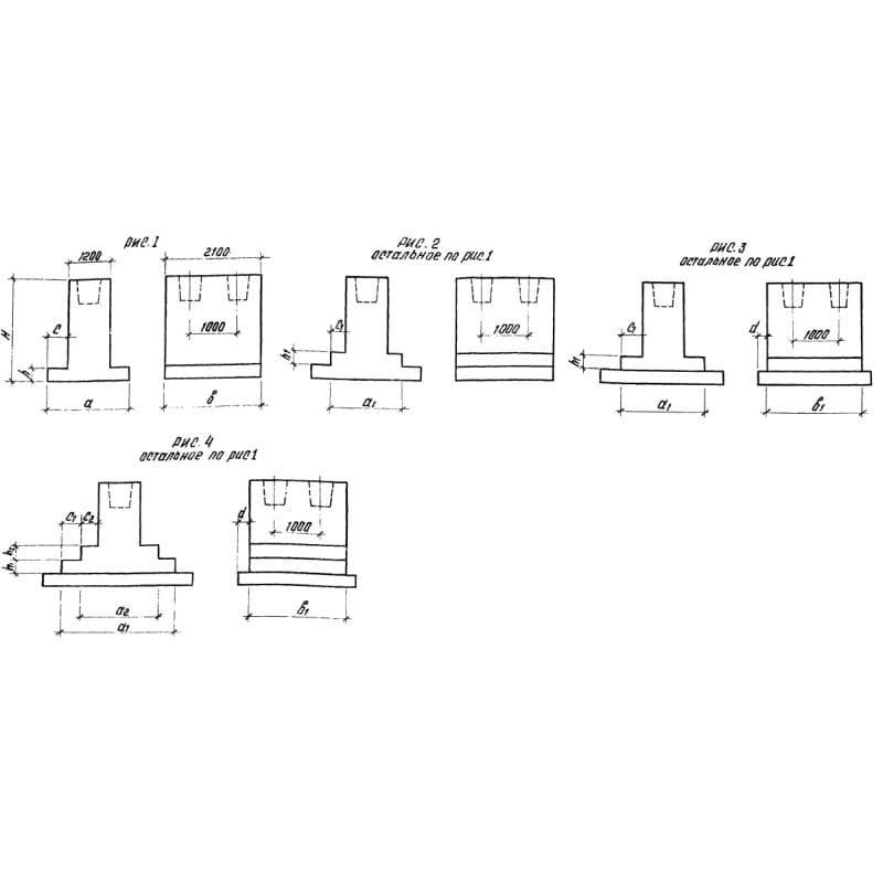
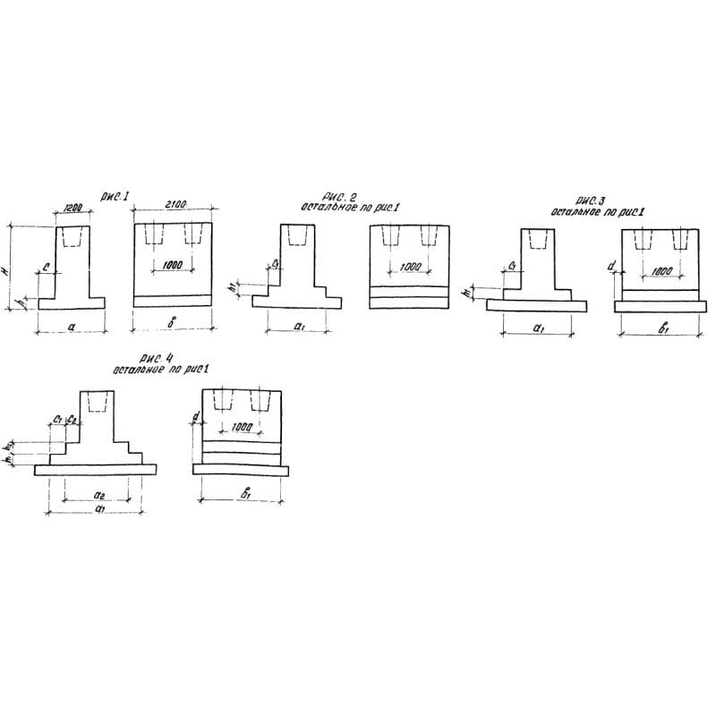
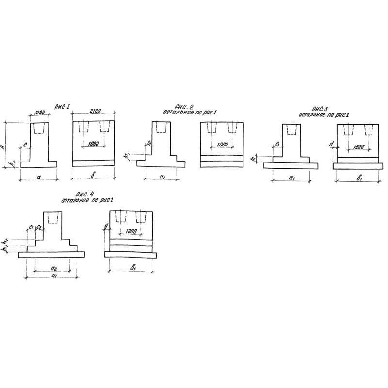
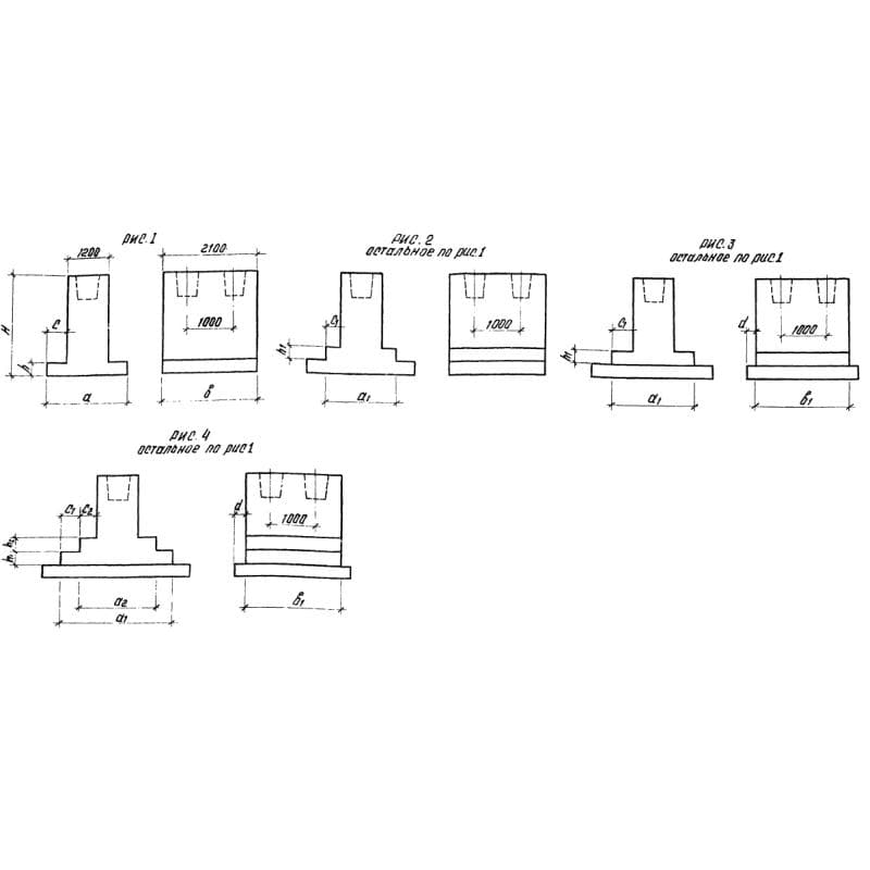
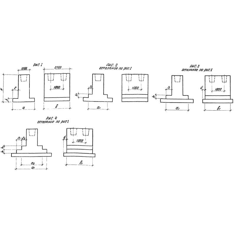
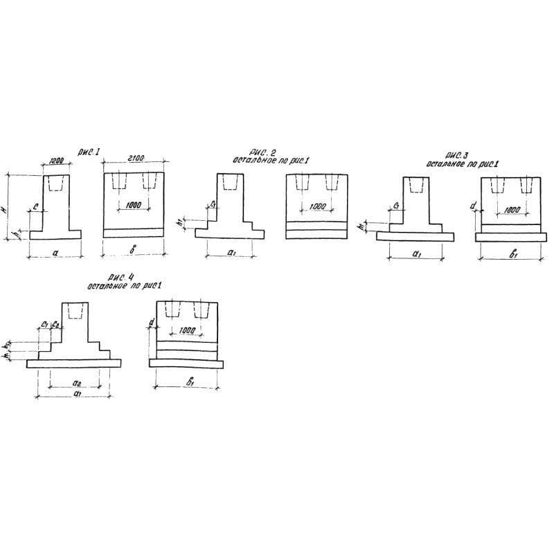
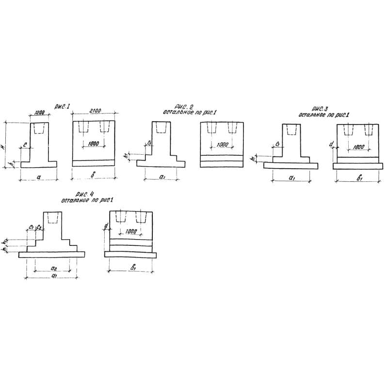
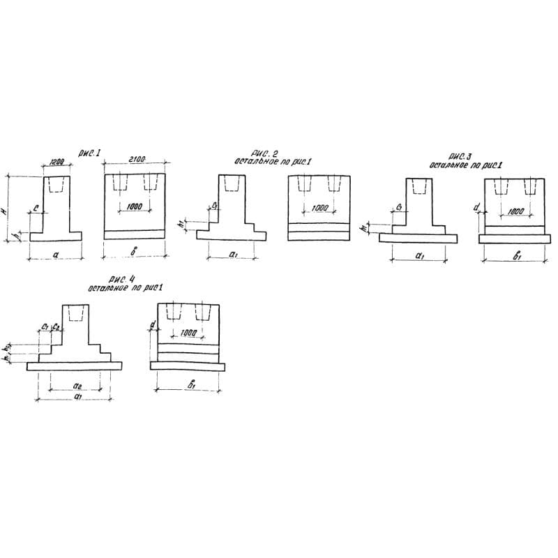
Серия 1.412-3/79

2100x4200x1800ФБТ 3-6 (1.412-3/79)
Цена по запросу

2100x1500x2400ФБТ 6-1 (1.412-3/79)
Цена по запросу

2100x1800x2400ФБТ 6-2 (1.412-3/79)
Цена по запросу

2100x2400x2400ФБТ 6-3 (1.412-3/79)
Цена по запросу

2100x3000x2400ФБТ 6-4 (1.412-3/79)
Цена по запросу

2100x3600x2400ФБТ 6-5 (1.412-3/79)
Цена по запросу

2100x4200x2400ФБТ 6-6 (1.412-3/79)
Цена по запросу

2400x1500x3000ФБТ 9-1 (1.412-3/79)
Цена по запросу

2400x1800x3000ФБТ 9-2 (1.412-3/79)
Цена по запросу

2400x2400x3000ФБТ 9-3 (1.412-3/79)
Цена по запросу

2400x3000x3000ФБТ 9-4 (1.412-3/79)
Цена по запросу

2400x3600x3000ФБТ 9-5 (1.412-3/79)
Цена по запросу