Каталог по сериям
Выбрана серия: Серия 1.141-1
Серия 1.141-1

990x220x6280ПК 8-63-10 ВрII
Цена по запросу

990x220x6280ПК 8-63-10 ВрII а
Цена по запросу

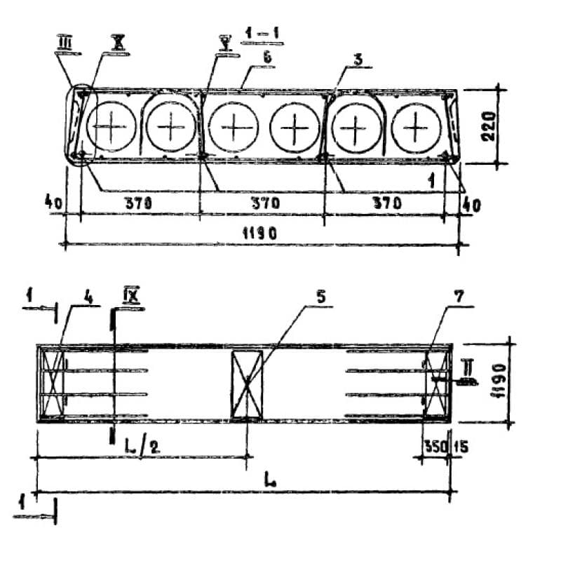
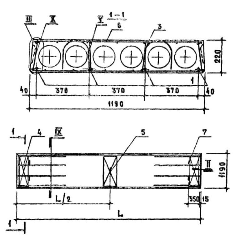
1190x220x6280ПК 8-63-12
Цена по запросу

1190x220x6280ПК 8-63-12 а
Цена по запросу

1190x220x6280ПК 8-63-12 ВрII
Цена по запросу

1190x220x6280ПК 8-63-12 ВрII а
Цена по запросу

1490x220x6280ПК 8-63-15
Цена по запросу

1490x220x6280ПК 8-63-15 а
Цена по запросу

1490x220x6280ПК 8-63-15 ВрII
Цена по запросу

1490x220x6280ПК 8-63-15 ВрII а
Цена по запросу

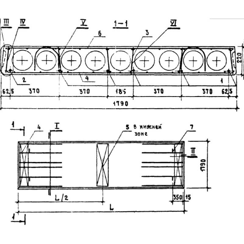
1790x220x6280ПК 8-63-18
Цена по запросу

1790x220x6280ПК 8-63-18 а
Цена по запросу