Каталог по сериям
Выбрана серия: Серия 1.141-1
Серия 1.141-1

1190x220x5080ПК 8-51-12 ВрII
Цена по запросу

1190x220x5080ПК 8-51-12 ВрII а
Цена по запросу

1490x220x5080ПК 8-51-15
Цена по запросу

1490x220x5080ПК 8-51-15 а
Цена по запросу

1490x220x5080ПК 8-51-15 ВрII
Цена по запросу

1490x220x5080ПК 8-51-15 ВрII а
Цена по запросу

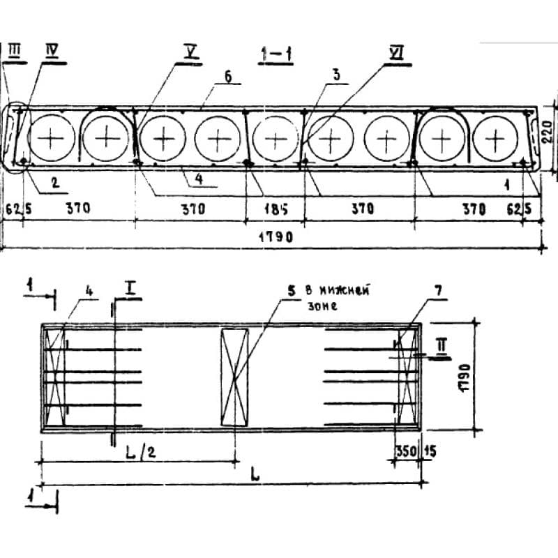
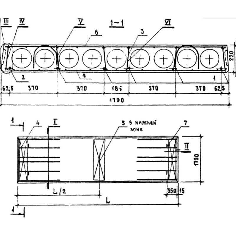
1790x220x5080ПК 8-51-18
Цена по запросу

1790x220x5080ПК 8-51-18 а
Цена по запросу

1790x220x5080ПК 8-51-18 АтV
Цена по запросу

1790x220x5080ПК 8-51-18 АтV а
Цена по запросу

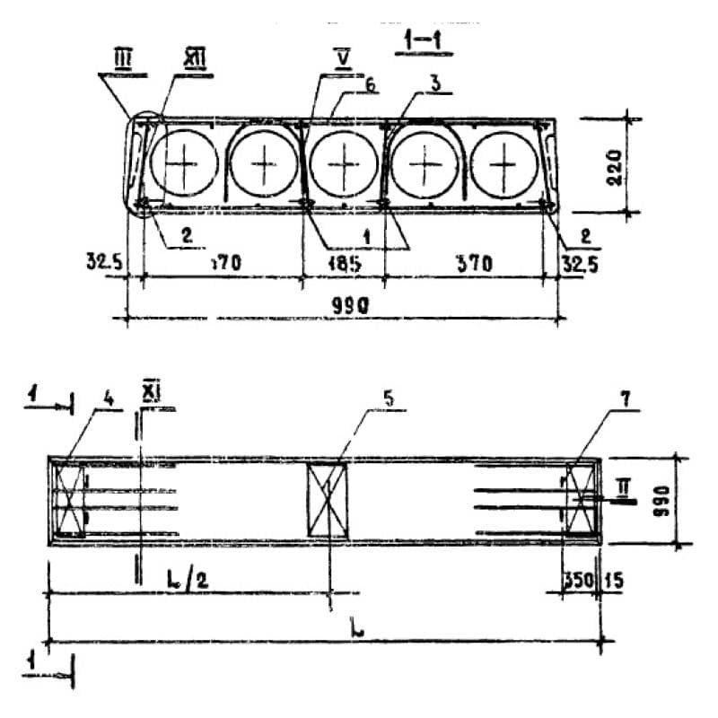
990x220x5380ПК 8-54-10
Цена по запросу

990x220x5380ПК 8-54-10 а
Цена по запросу